TOP
|
特許
|
意匠
|
商標
特許ウォッチ
Twitter
他の特許を見る
公開番号
2025149254
公報種別
公開特許公報(A)
公開日
2025-10-08
出願番号
2024049789
出願日
2024-03-26
発明の名称
フラット導体
出願人
矢崎総業株式会社
代理人
個人
,
個人
主分類
H01M
50/503 20210101AFI20251001BHJP(基本的電気素子)
要約
【課題】通電時の導体の全体の温度上昇を抑えつつ、生産性を向上させることが可能なフラット導体を提供する。
【解決手段】フラット導体1は、長尺状で、長手方向の端部3の少なくとも一方の単位長さあたりの導体抵抗が、長手方向において端部3に隣接する部分である中央部5の単位長さあたりの導体抵抗より低い導電性の板材2を備え、さらに板材2の端部3と中央部5との間を接続し、熱伝導率が端部3及び中央部5よりも高い材料で構成された熱伝導シート4を備える。
【選択図】図4
特許請求の範囲
【請求項1】
長尺状で、長手方向の端部の少なくとも一方の単位長さあたりの導体抵抗が、長手方向において前記端部に隣接する部分である中央部の単位長さあたりの導体抵抗より低い導電性の板材を備えるフラット導体であって、
前記板材の前記端部と前記中央部との間を接続し、熱伝導率が前記端部及び前記中央部よりも高い材料で構成された熱伝導シートを備える
ことを特徴とするフラット導体。
続きを表示(約 340 文字)
【請求項2】
前記熱伝導シートの熱伝導率は、前記板材の熱伝導率よりも高い
ことを特徴とする請求項1に記載のフラット導体。
【請求項3】
前記板材の表面に絶縁体が被覆されているか、プロテクター又はテープで覆われて保護されている
ことを特徴とする請求項1に記載のフラット導体。
【請求項4】
前記板材は、銅、アルミニウム、マグネシウムのいずれかである
ことを特徴とする請求項1に記載のフラット導体。
【請求項5】
前記板材は、表面に絶縁体が被覆されており、
前記絶縁体の表面に密着するように前記熱伝導シートが設けられる
ことを特徴とする請求項1~4のいずれか一項に記載のフラット導体。
発明の詳細な説明
【技術分野】
【0001】
本発明は、フラット導体に関する。
続きを表示(約 1,900 文字)
【背景技術】
【0002】
近年、電気自動車が増加している中、大電流用の配策部材として電気自動車用の電池パック内や電気自動車の床下等で用いられるバスバー等のフラット導体の需要が高まっている。一方でフラット導体は通電時の抵抗で温度が上昇することで発熱するため、温度上昇を抑制する構造を備えるのが好ましい。温度上昇を抑制する構造としては長手方向に対して断面積が異なる導体を用いる構造がある(例えば特許文献1参照)。また、導電率が異なる異種金属を長手方向に接続して、導電率が高い方を他の導電部材との接続部にすることで、接続部における発熱を抑制した構造もある(例えば特許文献2参照)。
【先行技術文献】
【特許文献】
【0003】
特開2014-229384号公報
特開2020-113524号公報
【発明の概要】
【発明が解決しようとする課題】
【0004】
特許文献1の構造は長板状の本体部と、本体部の長手方向に直交する幅方向に本体部から膨出した板状の膨出部とを有するT字状の導体板を板材のプレス打ち抜きで形成し、膨出部を本体部側に折り返すことで中央部の断面積を大きくする構造である。そのため、打ち抜いた後に残った板材はT字状の孔が空いており、これ以上の打ち抜きに使えない廃材となる。よって特許文献1の構造を備える部品を製造する際には廃材が発生することから歩留まり率が低くなり易く、生産性が低い問題があった。
【0005】
また特許文献2のような導電率の異なる異種金属を接合した構造は、通電時に導電率の高い部分と低い部分との温度差が大きくなり易く、導体の全体としての温度上昇を抑制し難い問題があった。
【0006】
本発明は、このような問題を解決するためになされたものであり、その目的とするところは、通電時の導体の全体の温度上昇を抑えつつ、生産性を向上させることが可能なフラット導体を提供することにある。
【課題を解決するための手段】
【0007】
本発明のフラット導体は、長尺状で、長手方向の端部の少なくとも一方の単位長さあたりの導体抵抗が、長手方向において前記端部に隣接する部分である中央部の単位長さあたりの導体抵抗より低い導電性の板材を備えるフラット導体であって、前記板材の前記端部と前記中央部との間を接続し、熱伝導率が前記端部及び前記中央部よりも高い材料で構成された熱伝導シートを備える。
【発明の効果】
【0008】
本発明によれば、通電時の導体の全体の温度上昇を抑えつつ、生産性を向上させることが可能なフラット導体を提供できる。
【図面の簡単な説明】
【0009】
本実施形態に係るフラット導体を示す斜視図である。
図1において熱伝導シートを破線で示した図である。
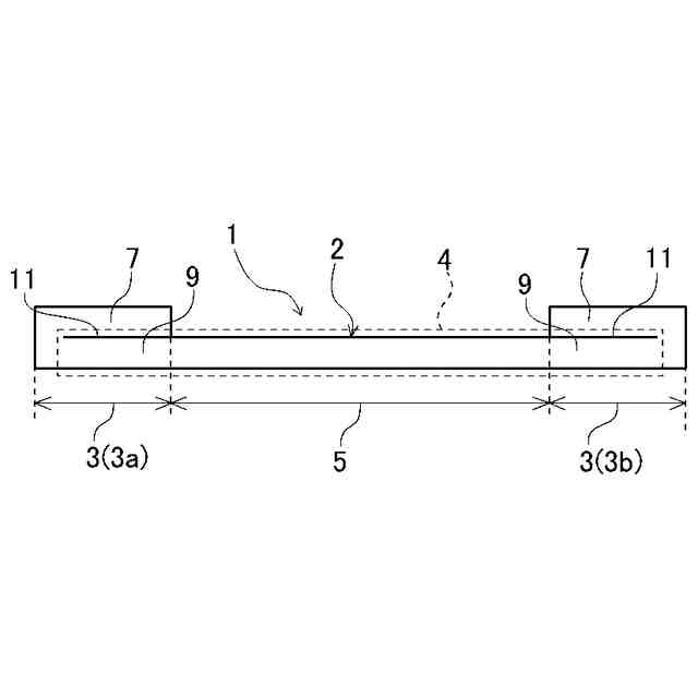
図1の側面図である。
図3において熱伝導シートを破線で示した図である。
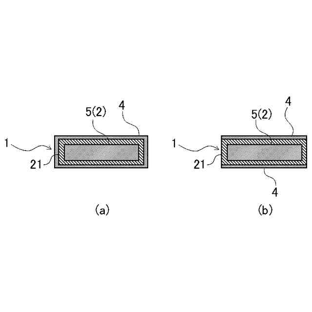
(a)は図3のA-A断面図であり、(b)は図3のB-B断面図である。
図1において、フラット導体の端部を展開した状態の一例を示す斜視図である。
図1において、フラット導体の端部を展開した状態の他の例を示す斜視図である。
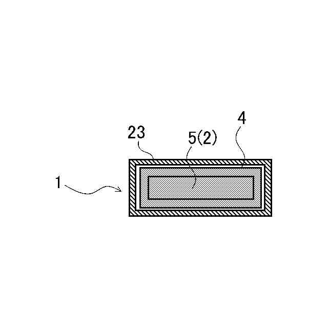
本実施形態に係るフラット導体の変形例を示す断面図であって、図3のA-A断面に該当する部分の断面図である。
本実施形態に係るフラット導体の変形例を示す断面図であって、図3のA-A断面に該当する部分の断面図である。
本実施形態に係るフラット導体の変形例を示す斜視図であって、熱伝導シートは破線で示している。
本実施形態に係るフラット導体の変形例を示す斜視図であって、熱伝導シートは記載を省略している。
本実施形態に係るフラット導体の製造方法の手順を示す側面図である。
本実施形態に係るフラット導体の製造方法の手順を示す側面図である。
図11に示すフラット導体の製造方法の手順を示す側面図であって、熱伝導シートは記載を省略している。
【発明を実施するための形態】
【0010】
以下、本発明を好適な実施形態に沿って説明する。なお、本発明は以下に示す実施形態に限られるものではなく、本発明の趣旨を逸脱しない範囲において適宜変更可能である。また、以下に示す実施形態においては、一部構成の図示や説明を省略している箇所があるが、省略された技術の詳細については、以下に説明する内容と矛盾点が発生しない範囲内において、適宜公知又は周知の技術が適用されていることはいうまでもない。
(【0011】以降は省略されています)
この特許をJ-PlatPat(特許庁公式サイト)で参照する
関連特許
矢崎総業株式会社
照明灯
1か月前
矢崎総業株式会社
箱状体
3日前
矢崎総業株式会社
箱状体
3日前
矢崎総業株式会社
コネクタ
24日前
矢崎総業株式会社
止水部材
8日前
矢崎総業株式会社
コネクタ
10日前
矢崎総業株式会社
コネクタ
10日前
矢崎総業株式会社
コネクタ
12日前
矢崎総業株式会社
コネクタ
2日前
矢崎総業株式会社
コネクタ
16日前
矢崎総業株式会社
コネクタ
22日前
矢崎総業株式会社
コネクタ
1日前
矢崎総業株式会社
コネクタ
24日前
矢崎総業株式会社
コネクタ
8日前
矢崎総業株式会社
コネクタ
1か月前
矢崎総業株式会社
コネクタ
1か月前
矢崎総業株式会社
コネクタ
1か月前
矢崎総業株式会社
コネクタ
1か月前
矢崎総業株式会社
コネクタ
1か月前
矢崎総業株式会社
コネクタ
1か月前
矢崎総業株式会社
照明構造
8日前
矢崎総業株式会社
コネクタ
15日前
矢崎総業株式会社
コネクタ
8日前
矢崎総業株式会社
コネクタ
4日前
矢崎総業株式会社
コネクタ
4日前
矢崎総業株式会社
コネクタ
3日前
矢崎総業株式会社
コネクタ
3日前
矢崎総業株式会社
コネクタ
4日前
矢崎総業株式会社
プロテクタ
8日前
矢崎総業株式会社
カバー構造
1か月前
矢崎総業株式会社
電気接続箱
3日前
矢崎総業株式会社
電気接続箱
3日前
矢崎総業株式会社
電気接続箱
1か月前
矢崎総業株式会社
電流センサ
1か月前
矢崎総業株式会社
電流センサ
1か月前
矢崎総業株式会社
電気接続箱
3日前
続きを見る
他の特許を見る