TOP
|
特許
|
意匠
|
商標
特許ウォッチ
Twitter
他の特許を見る
公開番号
2025155160
公報種別
公開特許公報(A)
公開日
2025-10-14
出願番号
2024058751
出願日
2024-04-01
発明の名称
コネクタ
出願人
矢崎総業株式会社
代理人
個人
,
個人
,
個人
主分類
H01R
4/58 20060101AFI20251006BHJP(基本的電気素子)
要約
【課題】公差吸収を行うことができ、組付性を向上することができるバスバ配置構造を提供する。
【解決手段】複数のバスバ9と、隣り合うバスバ9,9を連結し、隣り合うバスバ9,9を電気的に接続する連結部11とを備えたバスバ配置構造1において、連結部11を、隣り合うバスバ9,9の間に形成される角度θを可変可能に設けた。
【選択図】図2
特許請求の範囲
【請求項1】
複数のバスバと、
隣り合う前記バスバを連結し、隣り合う前記バスバを電気的に接続する連結部と、
を備え、
前記連結部は、隣り合う前記バスバの間に形成される角度を可変可能に設けられているバスバ配置構造。
続きを表示(約 170 文字)
【請求項2】
前記連結部は、隣り合う前記バスバのうち一方に設けられた軸部と、他方に設けられ前記軸部が挿通される孔部とを有する請求項1に記載のバスバ配置構造。
【請求項3】
複数の前記バスバのうち少なくとも1つは、他の前記バスバより電流の流れ方向と直交する断面積が大きく設定されている請求項1又は2に記載のバスバ配置構造。
発明の詳細な説明
【技術分野】
【0001】
本発明は、バスバ配置構造に関する。
続きを表示(約 1,700 文字)
【背景技術】
【0002】
従来、バスバ配置構造としては、複数のバスバと、隣り合うバスバを連結し、隣り合うバスバを電気的に接続する連結部とを備えたものが知られている(特許文献1参照)。このバスバ配置構造では、隣り合うバスバを連結する連結部が、レーザー接合によって設けられている。レーザー接合されるバスバの互いの接合面は、幅が異なる公差吸収部となっている。このようなバスバ配置構造では、連続する1つのバスバで配置形状を形成したときに発生する製造公差を、レーザー接合する接合面の位置を異ならせることによって、吸収することができる。
【先行技術文献】
【特許文献】
【0003】
特開2023-23709号公報
【発明の概要】
【発明が解決しようとする課題】
【0004】
ところで、上記特許文献1のバスバ配置構造では、連続する1つのバスバで配置形状を形成したときに製造公差が発生している場合、製造公差に合わせて、その都度、複数のバスバをレーザー接合しなければならない。このため、複数のバスバをレーザー接合する作業など、バスバを配置するまでの作業工程が多く、組付性が低下していた。
【0005】
本発明は、このような従来技術が有する課題に鑑みてなされたものである。そして本発明の目的は、公差吸収を行うことができ、組付性を向上することができるバスバ配置構造を提供することにある。
【課題を解決するための手段】
【0006】
本実施形態に係るバスバ配置構造は、複数のバスバと、隣り合う前記バスバを連結し、隣り合う前記バスバを電気的に接続する連結部と、を備え、前記連結部は、隣り合う前記バスバの間に形成される角度を可変可能に設けられている。
【発明の効果】
【0007】
本発明によれば、公差吸収を行うことができ、組付性を向上することができるバスバ配置構造を提供することができる。
【図面の簡単な説明】
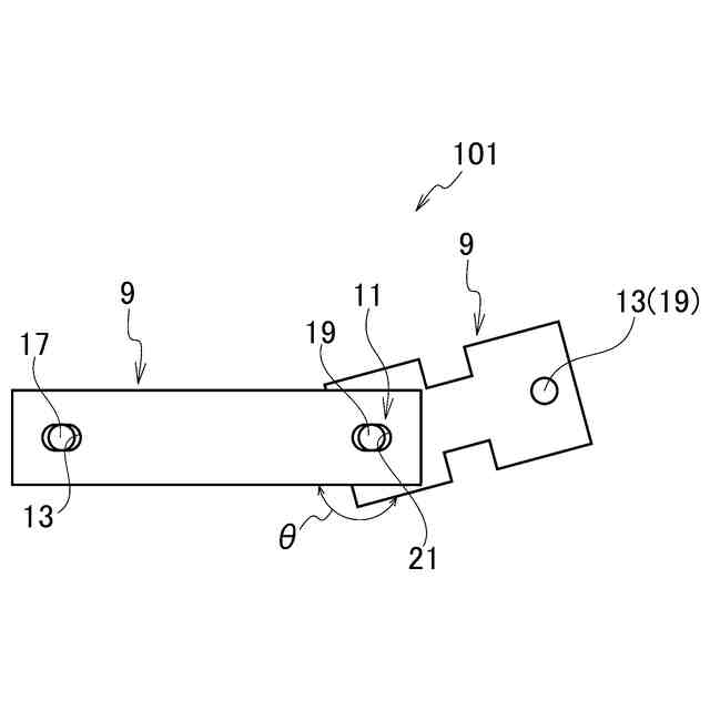
【0008】
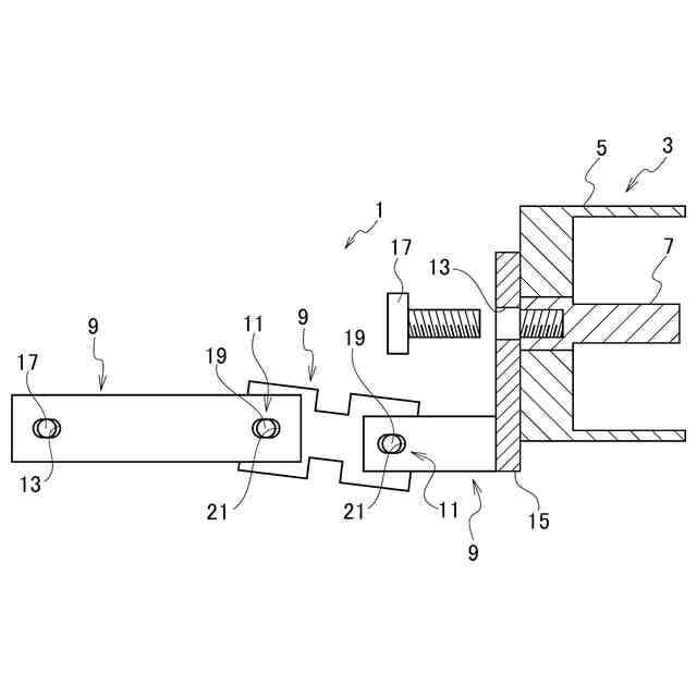
本実施形態に係るバスバ配置構造のコネクタを断面としたときの正面図である。
本実施形態に係るバスバ配置構造の正面図である。
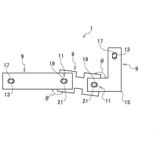
本実施形態に係るバスバ配置構造の正面図である。
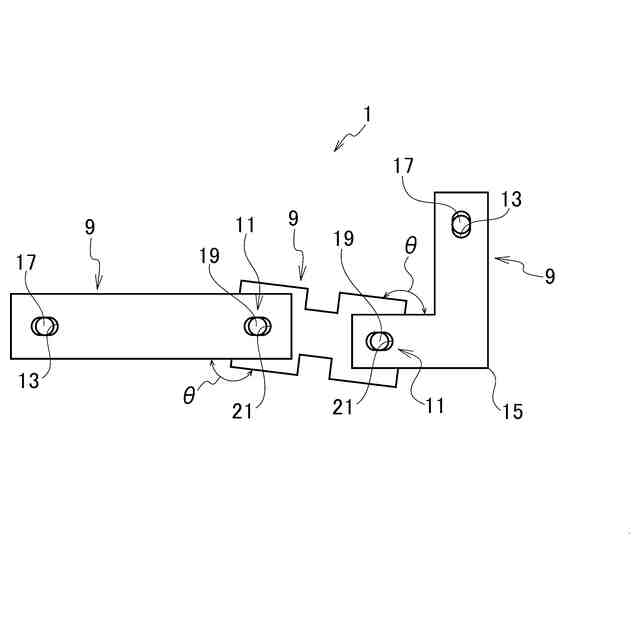
本実施形態に係るバスバ配置構造の他例を示す正面図である。
本実施形態に係るバスバ配置構造の他例を示す正面図である。
【発明を実施するための形態】
【0009】
以下、図面を用いて本実施形態に係るバスバ配置構造について詳細に説明する。なお、図面の寸法比率は説明の都合上誇張されており、実際の比率と異なる場合がある。
【0010】
図1に示すように、本実施形態に係るバスバ配置構造1は、例えば、電気自動車やハイブリッド自動車などの充電設備の充電コネクタ(不図示)が嵌合される車両用充電部に適用される。車両用充電部には、充電コネクタが嵌合されるコネクタ3が配置されている。コネクタ3は、合成樹脂などの絶縁性材料からなるハウジング5と、ハウジング5に収容された導電性材料からなる端子7とを有する。端子7は、バスバ9を介して車両に搭載された充電池やバッテリなどの電源(不図示)と電気的に接続されている。コネクタ3は、ハウジング5に充電コネクタが嵌合されることにより、端子7が充電コネクタの相手端子(不図示)と電気的に接続され、電源が充電される。車両に搭載される電源は、航続距離を向上させるために、近年、大容量であるものが増えている。大容量の電源は、充電時間が長く、充電時間を短縮するために、バスバ9を用いて、大きな電流を流すことが考えられている。バスバ9は、剛性が高く、バスバ9の弾性変形によって、コネクタ3と電源との間に発生する製造公差や組付公差などの公差吸収を行うことが難しい。そこで、本実施形態に係るバスバ配置構造1は、バスバ9が弾性変形しなくても、公差吸収を行うことができるようにしている。
(【0011】以降は省略されています)
この特許をJ-PlatPat(特許庁公式サイト)で参照する
関連特許
個人
フレキシブル電気化学素子
8日前
ローム株式会社
半導体装置
10日前
ローム株式会社
半導体装置
15日前
株式会社ユーシン
操作装置
8日前
日新イオン機器株式会社
イオン源
4日前
株式会社GSユアサ
蓄電設備
8日前
太陽誘電株式会社
コイル部品
8日前
株式会社ホロン
冷陰極電子源
2日前
株式会社GSユアサ
蓄電設備
8日前
太陽誘電株式会社
全固体電池
15日前
オムロン株式会社
電磁継電器
9日前
日東電工株式会社
積層体
9日前
トヨタ自動車株式会社
バッテリ
9日前
日本特殊陶業株式会社
保持装置
15日前
日本特殊陶業株式会社
保持装置
15日前
ノリタケ株式会社
熱伝導シート
8日前
TDK株式会社
電子部品
15日前
トヨタ自動車株式会社
蓄電装置
8日前
サクサ株式会社
電池の固定構造
8日前
株式会社ダイヘン
搬送装置
8日前
古河電気工業株式会社
端子
8日前
トヨタ自動車株式会社
電池パック
1日前
株式会社トクヤマ
シリコンエッチング液
2日前
トヨタ自動車株式会社
電池パック
1日前
株式会社トクヤマ
シリコンエッチング液
2日前
東レエンジニアリング株式会社
実装装置
15日前
日本特殊陶業株式会社
電極
15日前
日東電工株式会社
電子装置
11日前
東レエンジニアリング株式会社
実装装置
9日前
日本特殊陶業株式会社
電極
15日前
ベストテック株式会社
装置支持具
8日前
日本特殊陶業株式会社
電極
15日前
日本製紙株式会社
導電性フィルム
9日前
TDK株式会社
コイル部品
15日前
SMK株式会社
キートップ及びスイッチ
10日前
ローム株式会社
半導体装置
9日前
続きを見る
他の特許を見る