TOP
|
特許
|
意匠
|
商標
特許ウォッチ
Twitter
他の特許を見る
10個以上の画像は省略されています。
公開番号
2025153839
公報種別
公開特許公報(A)
公開日
2025-10-10
出願番号
2024056498
出願日
2024-03-29
発明の名称
コネクタ
出願人
矢崎総業株式会社
代理人
弁理士法人虎ノ門知的財産事務所
主分類
H01R
13/56 20060101AFI20251002BHJP(基本的電気素子)
要約
【課題】ハウジングから引き出された配索材を適正に配索させることができるコネクタを提供することを目的とする。
【解決手段】コネクタ1は、導電性を有する配索材Wの端末に接続された端子Tを収容して保持し、端部から配索材Wが引き出されるハウジング100と、ハウジング100の端部に組み付けられ、当該ハウジング100から引き出された配索材Wが引き出し方向から屈曲した状態で挿通される保護カバー200と、保護カバー200の内部に配置され、配索材Wを保持することで当該配索材Wの屈曲形状を維持する配索材矯正部品300とを備えることを特徴とする。
【選択図】図2
特許請求の範囲
【請求項1】
導電性を有する配索材の端末に接続された端子を収容して保持し、端部から前記配索材が引き出されるハウジングと、
前記ハウジングの前記端部に組み付けられ、当該ハウジングから引き出された前記配索材が引き出し方向から屈曲した状態で挿通される保護カバーと、
前記保護カバーの内部に配置され、前記配索材を保持することで当該配索材の屈曲形状を維持する配索材矯正部品とを備えることを特徴とする、
コネクタ。
続きを表示(約 480 文字)
【請求項2】
前記配索材は、第1配索材を含み、
前記配索材矯正部品は、
前記第1配索材を屈曲させた状態で収容する配索材収容溝と、
前記配索材収容溝の内面側に形成され、当該配索材収容溝に収容された前記第1配索材を保持可能な配索材固定突起とを有する、
請求項1に記載のコネクタ。
【請求項3】
前記配索材は、第2配索材を含み、
前記配索材矯正部品は、外面側に形成され、前記第2配索材を屈曲させた状態で保持可能な配索材配索突起を有する、
請求項1または2に記載のコネクタ。
【請求項4】
前記保護カバーの内部に配置され、前記配索材矯正部品に組み付けられることで前記配索材収容溝を閉塞可能な配索材矯正部品カバーをさらに備える、
請求項2に記載のコネクタ。
【請求項5】
前記配索材は、第2配索材を含み、
前記配索材矯正部品カバーは、外面側に形成され、前記第2配索材を屈曲させた状態で保持可能な配索材配索突起を有する、
請求項4に記載のコネクタ。
発明の詳細な説明
【技術分野】
【0001】
本発明は、コネクタに関する。
続きを表示(約 1,600 文字)
【背景技術】
【0002】
例えば、特許文献1には、端子が収容されるハウジングに組み付けられ、一対の半割体を組み合わせることで略L字形に屈曲した筒状に形成されるコネクタ用の配索材カバーが開示されている。
【先行技術文献】
【特許文献】
【0003】
特開2009-152003号公報
【発明の概要】
【発明が解決しようとする課題】
【0004】
ところで、上述の特許文献1に記載の配索材カバーは、ハウジングから引き出された配索材を収容することで当該配索材の配索方向を曲げることができるが、配索材には曲げに対する反力が発生する。そのため、配索材を曲げるために必要な力が大きくなると、当該配索材に発生する反発力も大きくなる。したがって、配索材の配索構造の点で更なる改善の余地がある。
【0005】
本発明は、上記の事情に鑑みてなされたものであって、ハウジングから引き出された配索材を適正に配索させることができるコネクタを提供することを目的とする。
【課題を解決するための手段】
【0006】
上記目的を達成するために、本発明に係るコネクタは、導電性を有する配索材の端末に接続された端子を収容して保持し、端部から前記配索材が引き出されるハウジングと、前記ハウジングの前記端部に組み付けられ、当該ハウジングから引き出された前記配索材が引き出し方向から屈曲した状態で挿通される保護カバーと、前記保護カバーの内部に配置され、前記配索材を保持することで当該配索材の屈曲形状を維持する配索材矯正部品とを備えることを特徴とする。
【発明の効果】
【0007】
本発明に係るコネクタは、ハウジングから引き出された配索材を適正に配索させることができる、という効果を奏する。
【図面の簡単な説明】
【0008】
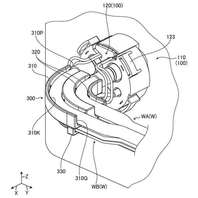
図1は、第1実施形態に係るコネクタの概略構成を表す分解斜視図である。
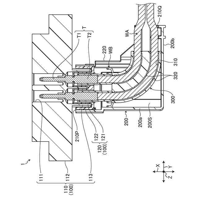
図2は、第1実施形態に係るコネクタの概略構成を表す断面図である。
図3は、第1実施形態に係るコネクタに適用される配索材矯正部品の概略構成を表す斜視図である。
図4は、第1実施形態に係るコネクタに適用される配索材矯正部品の概略構成を表す斜視図である。
図5は、第1実施形態に係るコネクタに適用される配索材矯正部品の概略構成を表す斜視図である。
図6は、第1実施形態に係るコネクタに適用される配索材矯正部品の概略構成を表す断面図である。
図7は、第1実施形態に係るコネクタの組み付けについて説明する斜視図である。
図8は、第1実施形態に係るコネクタの組み付けについて説明する斜視図である。
図9は、第2実施形態に係るコネクタの概略構成を表す分解斜視図である。
図10は、第2実施形態に係るコネクタに適用される配索材矯正部品、及び、配索材矯正部品カバーの概略構成を表す断面図である。
図11は、第2実施形態に係るコネクタの組み付けについて説明する斜視図である。
図12は、第2実施形態に係るコネクタの組み付けについて説明する斜視図である。
図13は、第2実施形態に係るコネクタの組み付けについて説明する斜視図である。
【発明を実施するための形態】
【0009】
以下に、本発明に係る実施形態を図面に基づいて詳細に説明する。なお、この実施形態によりこの発明が限定されるものではない。また、下記実施形態における構成要素には、当業者が置換可能かつ容易なもの、あるいは実質的に同一のものが含まれる。
【0010】
なお、図4、図5は、説明の便宜上、配索材の端末に接続されている端子や、当該端子を収容して保持するハウジング等の図示を省略している。
(【0011】以降は省略されています)
この特許をJ-PlatPat(特許庁公式サイト)で参照する
関連特許
矢崎総業株式会社
コネクタ
1日前
矢崎総業株式会社
コネクタ
2日前
個人
フレキシブル電気化学素子
1日前
日本発條株式会社
積層体
12日前
株式会社ユーシン
操作装置
1日前
ローム株式会社
半導体装置
3日前
個人
防雪防塵カバー
12日前
ローム株式会社
半導体装置
8日前
ローム株式会社
半導体装置
10日前
ローム株式会社
半導体装置
10日前
ローム株式会社
半導体装置
10日前
太陽誘電株式会社
コイル部品
1日前
株式会社GSユアサ
蓄電装置
12日前
個人
半導体パッケージ用ガラス基板
11日前
太陽誘電株式会社
全固体電池
8日前
株式会社GSユアサ
蓄電設備
1日前
オムロン株式会社
電磁継電器
2日前
株式会社GSユアサ
蓄電設備
1日前
株式会社GSユアサ
蓄電装置
8日前
株式会社ホロン
冷陰極電子源
8日前
日本特殊陶業株式会社
保持装置
8日前
トヨタ自動車株式会社
蓄電装置
1日前
日本特殊陶業株式会社
保持装置
12日前
ローム株式会社
電子装置
12日前
TDK株式会社
電子部品
8日前
日本特殊陶業株式会社
保持装置
8日前
トヨタ自動車株式会社
二次電池
12日前
日本特殊陶業株式会社
保持装置
10日前
日東電工株式会社
積層体
2日前
ノリタケ株式会社
熱伝導シート
1日前
サクサ株式会社
電池の固定構造
1日前
トヨタ自動車株式会社
バッテリ
2日前
矢崎総業株式会社
コネクタ
15日前
トヨタ自動車株式会社
電池パック
16日前
日本特殊陶業株式会社
電極
8日前
SMK株式会社
キートップ及びスイッチ
3日前
続きを見る
他の特許を見る