TOP
|
特許
|
意匠
|
商標
特許ウォッチ
Twitter
他の特許を見る
10個以上の画像は省略されています。
公開番号
2025164492
公報種別
公開特許公報(A)
公開日
2025-10-30
出願番号
2024068502
出願日
2024-04-19
発明の名称
画像形成装置、画像形成システム、状態提示方法、及び状態提示プログラム
出願人
沖電気工業株式会社
代理人
個人
,
個人
,
個人
主分類
B41J
29/42 20060101AFI20251023BHJP(印刷;線画機;タイプライター;スタンプ)
要約
【課題】媒体排出トレイに排出された媒体の回収を促す効果を高める。
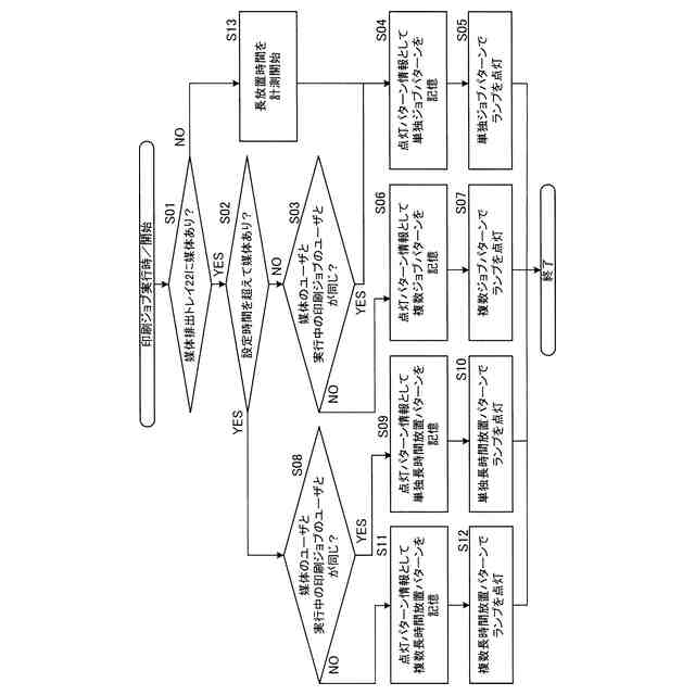
【解決手段】画像形成装置(10)は、受信した印刷ジョブ(Job)に基づいて媒体に画像を形成する画像形成部(14)と、前記画像が形成された前記媒体が排出される媒体排出トレイ(22)と、媒体排出トレイ(22)における前記媒体の有無を示す検知信号を出力する媒体センサ(24)と、媒体排出トレイ(22)の状態を提示する点灯部(23)と、時間を計測する時間計測部(15)と、予め設定された点灯パターンに基づいて点灯部(23)を制御する制御部(30)と、を有し、制御部(30)は、前記検知信号が媒体の有りを示し続けている媒体放置時間(T1)と前記印刷ジョブの発信元とに基づいて点灯部(23)の点灯に用いられる点灯パターンを変更する。
【選択図】図3
特許請求の範囲
【請求項1】
受信した印刷ジョブに基づいて媒体に画像を形成する画像形成部と、
前記画像が形成された前記媒体が排出される媒体排出トレイと、
前記媒体排出トレイにおける前記媒体の有無を示す検知信号を出力する媒体センサと、
前記媒体排出トレイの状態を提示する点灯部と、
時間を計測する時間計測部と、
予め設定された点灯パターンに基づいて前記点灯部を制御する制御部と、
を有し、
前記制御部は、前記検知信号が前記媒体の有りを示し続けている媒体放置時間と前記印刷ジョブの発信元とに基づいて前記点灯部の点灯に用いられる前記点灯パターンを変更する
ことを特徴とする画像形成装置。
続きを表示(約 2,100 文字)
【請求項2】
前記制御部は、
前記媒体放置時間が予め設定された設定時間以下であり且つ前記発信元の数が1つである場合に、前記点灯部の点灯に用いられる前記点灯パターンとして予め設定された単独ジョブパターンを用い、
前記媒体放置時間が前記設定時間以下であり且つ前記発信元の数が複数である場合に、前記点灯部の点灯に用いられる前記点灯パターンとして予め設定された複数ジョブパターンを用いる
ことを特徴とする請求項1に記載の画像形成装置。
【請求項3】
前記制御部は、
前記媒体放置時間が予め設定された設定時間より長く且つ前記発信元の数が1つである場合に、前記点灯部の点灯に用いられる前記点灯パターンとして予め設定された単独長時間放置パターンを用い、
前記媒体放置時間が前記設定時間より長く且つ前記発信元の数が複数である場合に、前記点灯部の点灯に用いられる前記点灯パターンとして予め設定された複数長時間放置パターンを用いる
ことを特徴とする請求項1に記載の画像形成装置。
【請求項4】
前記制御部は、
前記媒体放置時間が前記設定時間より長く且つ前記発信元の数が1つである場合に、前記点灯部の点灯に用いられる前記点灯パターンとして予め設定された単独長時間放置パターンを用い、
前記媒体放置時間が前記設定時間より長く且つ前記発信元の数が複数である場合に、前記点灯部の点灯に用いられる前記点灯パターンとして予め設定された複数長時間放置パターンを用いる
ことを特徴とする請求項2に記載の画像形成装置。
【請求項5】
前記点灯部は、光の色が異なる複数の発光部を有し、
前記制御部は、前記点灯部から発せられる前記光の色を切り替えることで、前記点灯部の点灯に用いられる前記点灯パターンを変更する、
ことを特徴とする請求項1から4のいずれか1項に記載の画像形成装置。
【請求項6】
前記複数の発光部は、第1色の光を発する第1の発光部と、第2色の光を発する第2の発光部と、第3色の光を発する第3の発光部とを有し、
前記制御部は、
前記媒体放置時間が予め設定された設定時間以下であり且つ前記発信元の数が1つである場合に、前記点灯部の点灯に用いられる前記点灯パターンとして前記第1色の光を発する第1の点灯パターンを用い、
前記媒体放置時間が前記設定時間以下であり且つ前記発信元の数が複数である場合に、前記点灯部の点灯に用いられる前記点灯パターンとして前記第2色の光を発する第2の点灯パターンを用い、
前記媒体放置時間が前記設定時間より長い場合に、前記点灯部の点灯に用いられる前記点灯パターンとして前記第3色の光を発する第3の点灯パターンを用いる
ことを特徴とする請求項5に記載の画像形成装置。
【請求項7】
前記制御部は、前記点灯部の点灯方式を連続点灯、第1の周期の点滅、又は前記第1の周期より長い第2の周期の点滅のいずれかに切り替えることで、前記点灯部の点灯に用いられる前記点灯パターンを変更する際に、
ことを特徴とする請求項1から4のいずれか1項に記載の画像形成装置。
【請求項8】
前記点灯部は、光の色が異なる複数の発光部を有し、
前記制御部は、前記点灯部から発せられる前記光の色を切り替えること、且つ前記点灯部の点灯方式を連続点灯、第1の周期の点滅、又は前記第1の周期より長い第2の周期の点滅のいずれかに切り替えることで、前記点灯部の点灯に用いられる前記点灯パターンを変更する
ことを特徴とする請求項1から4のいずれか1項に記載の画像形成装置。
【請求項9】
前記媒体を一時保管するための収容部に前記媒体排出トレイにある前記媒体を移動させた場合に、前記媒体の収容場所を示す情報を入力するための操作部を更に有し、
前記制御部は、前記操作部から入力された前記情報に基づいて、前記収容場所を通知する
ことを特徴とする請求項1から4のいずれか1項に記載の画像形成装置。
【請求項10】
受信した印刷ジョブに基づいて媒体に画像を形成する画像形成部と、
前記画像が形成された前記媒体が排出される媒体排出トレイと、
前記媒体排出トレイにおける前記媒体の有無を示す検知信号を出力する媒体センサと、
前記媒体排出トレイの状態を提示する点灯部と、
時間を計測する時間計測部と、
制御部と、
を有し、
前記制御部は、
予め設定された点灯パターンに基づいて前記点灯部を制御し、
前記検知信号が前記媒体の有りを示し続けている媒体放置時間と前記印刷ジョブの発信元とに基づいて前記点灯部の点灯に用いられる前記点灯パターンを変更する
ことを特徴とする画像形成システム。
(【請求項11】以降は省略されています)
発明の詳細な説明
【技術分野】
【0001】
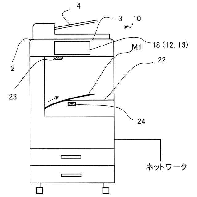
本開示は、媒体に画像を形成する画像形成装置及び画像形成システム、並びに、画像形成装置の媒体排出トレイの状態を提示するための状態提示方法及び状態提示プログラムに関する。
続きを表示(約 1,800 文字)
【背景技術】
【0002】
用紙などの媒体(「印刷媒体」ともいう。)に画像を形成する画像形成装置(「印刷装置」ともいう。)には、画像が形成された媒体が排出される媒体排出トレイが設けられている。パーソナルコンピュータ(PC)又はスマートフォンなどの端末装置から画像形成装置に印刷ジョブが送信されると、媒体に画像が印刷され、印刷物としての媒体が媒体排出トレイに排出される。
【0003】
画像形成装置が端末装置から離れた場所に設置されている場合、端末装置のユーザは、媒体排出トレイに排出された媒体を回収し忘れることがある。そこで、媒体排出トレイに未回収の媒体があることをランプの点灯によって知らせる機能を持つ画像形成装置が提案されている(例えば、特許文献1参照)。
【先行技術文献】
【特許文献】
【0004】
特開2021-70169号公報
【発明の概要】
【発明が解決しようとする課題】
【0005】
しかしながら、媒体排出トレイに未回収の媒体があることをランプの点灯によって報知しても、点灯状態のランプを見ることに慣れたユーザに対して、媒体の回収を促す効果は薄れていく。このため、媒体排出トレイ上で異なるユーザのための印刷済媒体が重なり、媒体が他のユーザによって誤って回収される、又は、回収した媒体に他のユーザの印刷済媒体が混ざっている、などの不都合が発生しやすくなる。
【0006】
本開示は、媒体排出トレイに排出された媒体の回収を促す効果を高めることができる画像形成装置及び画像形成システム、並びに、媒体の回収を促す効果を高めるために用いられる状態提示方法及び状態提示プログラムを提供することを目的とする。
【課題を解決するための手段】
【0007】
本開示の画像形成装置は、受信した印刷ジョブに基づいて媒体に画像を形成する画像形成部と、前記画像が形成された前記媒体が排出される媒体排出トレイと、前記媒体排出トレイにおける前記媒体の有無を示す検知信号を出力する媒体センサと、前記媒体排出トレイの状態を提示する点灯部と、時間を計測する時間計測部と、予め設定された点灯パターンに基づいて前記点灯部を制御する制御部と、を有し、前記制御部は、前記検知信号が前記媒体の有りを示し続けている媒体放置時間と前記印刷ジョブの発信元とに基づいて前記点灯部の点灯に用いられる前記点灯パターンを変更することを特徴とする。
【0008】
本開示の画像形成システムは、受信した印刷ジョブに基づいて媒体に画像を形成する画像形成部と、前記画像が形成された前記媒体が排出される媒体排出トレイと、前記媒体排出トレイにおける前記媒体の有無を示す検知信号を出力する媒体センサと、前記媒体排出トレイの状態を提示する点灯部と、時間を計測する時間計測部と、制御部と、を有し、前記制御部は、予め設定された点灯パターンに基づいて前記点灯部を制御し、前記検知信号が前記媒体の有りを示し続けている媒体放置時間と前記印刷ジョブの発信元とに基づいて前記点灯部の点灯に用いられる前記点灯パターンを変更することを特徴とする。
【0009】
本開示の状態提示方法は、受信した印刷ジョブに基づいて媒体に画像を形成し、媒体排出トレイに前記媒体を排出するステップと、前記媒体排出トレイにおける前記媒体の有無を検知する媒体センサから出力される検知信号が前記媒体の有りを示し続けている媒体放置時間を計測するステップと、予め設定された点灯パターンに基づいて点灯部を制御するステップと、前記媒体放置時間と前記印刷ジョブの発信元とに基づいて前記媒体排出トレイの状態を提示する前記点灯部の点灯に用いられる点灯パターンを変更するステップと、を有することを特徴とする。
【発明の効果】
【0010】
本開示の画像形成装置、画像形成システム、状態提示方法、及び状態提示プログラムを用いれば、画像形成装置の媒体排出トレイの状態を提示する点灯部の点灯パターンを変更することによって媒体の回収を促す効果を高めることができる。
【図面の簡単な説明】
(【0011】以降は省略されています)
この特許をJ-PlatPat(特許庁公式サイト)で参照する
関連特許
沖電気工業株式会社
印刷装置
29日前
沖電気工業株式会社
画像形成装置
1か月前
沖電気工業株式会社
画像形成装置
15日前
沖電気工業株式会社
処理システム
2日前
沖電気工業株式会社
情報処理装置
1か月前
沖電気工業株式会社
媒体処理装置
2日前
沖電気工業株式会社
画像形成装置
2日前
沖電気工業株式会社
棒金収納装置
1か月前
沖電気工業株式会社
画像形成装置
3日前
沖電気工業株式会社
画像形成装置
4日前
沖電気工業株式会社
画像形成装置
25日前
沖電気工業株式会社
施錠開閉装置
24日前
沖電気工業株式会社
半導体デバイス
24日前
沖電気工業株式会社
発光装置及び表示装置
24日前
沖電気工業株式会社
定着装置及び画像形成装置
2日前
沖電気工業株式会社
定着装置及び画像形成装置
5日前
沖電気工業株式会社
電源制御装置及び画像形成装置
23日前
沖電気工業株式会社
紙葉類取扱装置及び現金処理装置
8日前
沖電気工業株式会社
プリンタドライバ及び画像形成装置
25日前
沖電気工業株式会社
部品管理装置、プログラムおよび方法
1か月前
沖電気工業株式会社
直流電源装置および二次電池充電方法
1か月前
沖電気工業株式会社
媒体取扱ユニット、及び、媒体取扱装置
25日前
沖電気工業株式会社
通信装置、通信方法、及び通信プログラム
3日前
沖電気工業株式会社
情報処理装置、情報処理方法、およびプログラム
23日前
沖電気工業株式会社
現像剤収容体、画像形成ユニットおよび画像形成装置
2日前
沖電気工業株式会社
現像剤収容体、画像形成ユニット、及び画像形成装置
29日前
沖電気工業株式会社
情報処理装置、情報処理方法、及び情報処理システム
2日前
沖電気工業株式会社
情報処理装置、情報処理プログラム、及び情報処理方法
24日前
沖電気工業株式会社
精算システム、精算装置、情報処理方法、及びプログラム
24日前
沖電気工業株式会社
経路設定装置、経路設定方法、プログラムおよび経路設定システム
23日前
沖電気工業株式会社
駆動制御装置、駆動制御システム、駆動制御方法及び貨幣処理装置
29日前
沖電気工業株式会社
ナビゲーションシステム
1か月前
沖電気工業株式会社
画像形成装置、画像形成システム、状態提示方法、及び状態提示プログラム
2日前
沖電気工業株式会社
伝送装置のための制御装置、パス設定方法、およびプログラム並びに伝送システム
29日前
沖電気工業株式会社
表示装置、プログラム及び表示方法
29日前
個人
箔熱転写装置
1か月前
続きを見る
他の特許を見る