TOP
|
特許
|
意匠
|
商標
特許ウォッチ
Twitter
他の特許を見る
10個以上の画像は省略されています。
公開番号
2025163916
公報種別
公開特許公報(A)
公開日
2025-10-30
出願番号
2024067556
出願日
2024-04-18
発明の名称
定着装置及び画像形成装置
出願人
沖電気工業株式会社
代理人
個人
,
個人
,
個人
主分類
G03G
15/20 20060101AFI20251023BHJP(写真;映画;光波以外の波を使用する類似技術;電子写真;ホログラフイ)
要約
【課題】環状ベルトの汚れを抑制するため、環状ベルトを掃除するクリーニングローラを設ける場合、環状ベルトの耐久性低下が問題となっている。
【解決手段】定着ベルト104と、その両端に対向して設けられ、定着ベルト104の端部を規制する規制部112と、定着ベルト104の内周面を支持するガイド表面114とを備えるガイド部材111と、定着ベルト104の外周面と接触するクリーニングローラ121と、一対のガイド部材111の間に設けられ、定着ベルト104とクリーニングローラ121とが接触する位置において、定着ベルト104を挟んでクリーニングローラ121と対向する対向部材123とを有し、クリーニングローラ121の軸方向からみたとき、クリーニングローラ121の軸中心から、対向部材123までの第1距離d1を、同じく軸中心からガイド表面114までの第2距離d2と同じか又は小さくする。
【選択図】図1
特許請求の範囲
【請求項1】
環状ベルトと、
前記環状ベルトの両端に対向して設けられ、前記環状ベルトの端部を規制するフランジ部と、前記環状ベルトの内周面を支持する支持面とを備えるフランジ部材と、
前記環状ベルトの外周面と接触するクリーニングローラと、
一対の前記フランジ部材の間に設けられ、前記環状ベルトと前記クリーニングローラとが接触する位置において、前記環状ベルトを挟んで前記クリーニングローラと対向する対向部材と
を有し、
前記クリーニングローラの軸方向からみたとき、前記クリーニングローラの軸中心から前記対向部材までの第1距離が、前記クリーニングローラの軸中心から前記支持面までの第2距離と同じ又は大きいことを特徴とする定着装置。
続きを表示(約 810 文字)
【請求項2】
前記環状ベルトに対してニップ部を形成可能な回転部材を有し、
前記環状ベルトの周方向において前記対向部材が形成される領域は、前記環状ベルトの回転移動方向における前記ニップ部の下流側で、前記ニップ部を通過した前記環状ベルトの外周面が他の部材と最初に接触する位置を含むことを特徴とする請求項1記載の定着装置。
【請求項3】
前記対向部材は、前記環状ベルトの回転移動方向における、前記環状ベルトと当接する当接面よりも上流側で、前記クリーニングローラの軸方向からみたとき、前記当接面から離れるにつれて前記支持面から遠ざかる傾斜面を有することを特徴とする請求項1又は2記載の定着装置。
【請求項4】
前記環状ベルトの温度を検知する温度検知部を有し、
前記温度検知部は、前記環状ベルトの回転移動方向において、前記ニップ部の上流側で、且つ前記ニップ部と、前記環状ベルトと前記クリーニングローラとが接触する位置との間において前記環状ベルトの温度を検知することを特徴とする請求項2記載の定着装置。
【請求項5】
前記クリーニングローラの軸方向において、前記クリーニングローラの幅は前記対向部材の幅より狭く、前記クリーニングローラの端部は前記支持面の領域に至らないように構成されていることを特徴とする請求項1又は2記載の定着装置。
【請求項6】
前記支持面は、断面が略円弧状の曲面で、凹凸面を含まないことを特徴とする請求項1又は2記載の定着装置。
【請求項7】
前記第1距離をd1とし、前記第2距離をd2としたとき、
1[mm]≧(d1-d2)≧0
の関係式を満たすことを特徴とする請求項1又は2に記載の定着装置。
【請求項8】
請求項1又は2記載の定着装置を備えたことを特徴とする画像形成装置。
発明の詳細な説明
【技術分野】
【0001】
本発明は、画像形成装置の定着装置に関し、特に環状ベルトを備えた定着装置の構成に関する。
続きを表示(約 1,900 文字)
【背景技術】
【0002】
従来より、環状ベルトの端部をフランジ部材によって回転自在に支持する定着装置が知られている(例えば、特許文献1参照)。
【先行技術文献】
【特許文献】
【0003】
特開2020-56822号公報(第7頁、図4,5)
【発明の概要】
【発明が解決しようとする課題】
【0004】
しかしながら、環状ベルトの汚れを抑制するため、環状ベルトを掃除するクリーニングローラを更に設ける場合、環状ベルトの耐久性低下が問題となっている。本発明は、環状ベルトの掃除のためのクリーニングローラを追加した場合にも、環状ベルトの耐久性の低下を抑制可能な定着装置を提供することを目的とする。
【課題を解決するための手段】
【0005】
本発明による定着装置は、
環状ベルトと、前記環状ベルトの両端に対向して設けられ、前記環状ベルトの端部を規制するフランジ部と、前記環状ベルトの内周面を支持する支持面とを備えるフランジ部材と、前記環状ベルトの外周面と接触するクリーニングローラと、一対の前記フランジ部材の間に設けられ、前記環状ベルトと前記クリーニングローラとが接触する位置において、前記環状ベルトを挟んで前記クリーニングローラと対向する対向部材とを有し、
前記クリーニングローラの軸方向からみたとき、前記クリーニングローラの軸中心から前記対向部材までの第1距離が、前記クリーニングローラの軸中心から前記支持面までの第2距離と同じ又は小さいことを特徴とする。
【発明の効果】
【0006】
本発明によれば、環状ベルトの掃除のためのクリーニングローラを追加した場合にも、環状ベルトの耐久性の低下を抑制可能な定着装置を提供できる。
【図面の簡単な説明】
【0007】
本発明による実施の形態1の画像形成装置の要部構成を示す要部構成図である。
本発明による実施の形態1の定着装置の要部構成を示す要部構成図である。
定着ベルトユニットを斜め上方から見た外観斜視図である。
図3に示す定着ベルトユニットを、その長手方向(矢印Y方向)の中心部で切断した断面等を左側から見た要部断面図である。
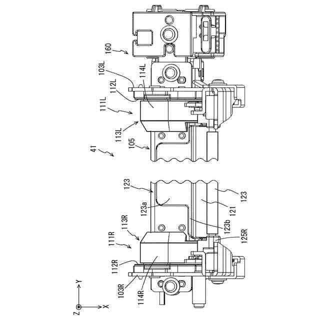
右ガイド部材111R単体の構成を示す図で、(a)は背面図であり、(b)は斜め上方から見た外観斜視図である。
図4に示す対向部材の構成、及び右ガイド部材、ヒータユニットとの位置関係を説明するための要部構成図である。
定着ベルトユニットの両端部の構成を略上方から見た構成図である。このため、図7では定着ベルト及びその中心部を省いている。
図7に示す右ガイド部材周辺の部分拡大図である。
対向部材、右ガイド部材、及びクリーニングローラの配置関係の説明に供する図で、(a)は、定着ベルトユニットの長手方向の左側からみた要部概略図であり、(b)は斜め上方からみた斜視図である。
本発明に基づく実施の形態2の定着装置に採用される右ガイド部材単体の構成を示す構成図であり、(a)はその外観斜視図であり、(b)は、右ガイド部材、ヒータユニット、クリーニングローラ、及び対向部材がそれぞれ所定位置に配置された状態を矢印Y方向のプラス側からみた要部概略図である。
図10(b)に示す状態の各部材を斜め上方からみた斜視図である。
【発明を実施するための形態】
【0008】
実施の形態1.
図1は、本発明による実施の形態1の画像形成装置11の要部構成を示す要部構成図である。
【0009】
画像形成装置11は、例えば、電子写真方式の、直接転写方式のカラープリンタとしての構成を備え、独立した4つの画像形成ユニット12C、12M、12Y、12K(特に区別する必要がない場合には画像形成ユニット12と称する場合がある)が、記録用紙22の搬送方向(矢印A方向)に沿って上流側から順に着脱自在に配置されている。画像形成ユニット12Cはシアン(C)の画像を形成し、画像形成ユニット12Mはマゼンタ(M)の画像を形成し、画像形成ユニット12Yはイエロー(Y)の画像を形成し、画像形成ユニット12Kはブラック(K)の画像を形成する。
【0010】
本実施の形態においては、これらの画像形成ユニット12C,12M,12Y,12Kの構成は同一であり、収容されているトナーの色のみが異なるため、ここではシアン(C)の画像形成ユニット12Cを例にとり、その内部構造を以下に説明する。
(【0011】以降は省略されています)
この特許をJ-PlatPat(特許庁公式サイト)で参照する
関連特許
沖電気工業株式会社
印刷装置
1か月前
沖電気工業株式会社
画像形成装置
1か月前
沖電気工業株式会社
処理システム
4日前
沖電気工業株式会社
画像形成装置
1か月前
沖電気工業株式会社
媒体処理装置
4日前
沖電気工業株式会社
画像形成装置
4日前
沖電気工業株式会社
情報処理装置
1か月前
沖電気工業株式会社
棒金収納装置
1か月前
沖電気工業株式会社
画像形成装置
5日前
沖電気工業株式会社
画像形成装置
6日前
沖電気工業株式会社
画像形成装置
27日前
沖電気工業株式会社
画像形成装置
17日前
沖電気工業株式会社
施錠開閉装置
26日前
沖電気工業株式会社
半導体デバイス
26日前
沖電気工業株式会社
発光装置及び表示装置
26日前
沖電気工業株式会社
定着装置及び画像形成装置
4日前
沖電気工業株式会社
現金処理装置及び印字装置
1か月前
沖電気工業株式会社
定着装置及び画像形成装置
7日前
沖電気工業株式会社
電源制御装置及び画像形成装置
25日前
沖電気工業株式会社
紙葉類取扱装置及び現金処理装置
1か月前
沖電気工業株式会社
紙葉類取扱装置及び現金処理装置
10日前
沖電気工業株式会社
プリンタドライバ及び画像形成装置
27日前
沖電気工業株式会社
直流電源装置および二次電池充電方法
1か月前
沖電気工業株式会社
部品管理装置、プログラムおよび方法
1か月前
沖電気工業株式会社
媒体取扱ユニット、及び、媒体取扱装置
27日前
沖電気工業株式会社
通信装置、通信方法、及び通信プログラム
5日前
沖電気工業株式会社
情報処理装置、情報処理方法、およびプログラム
25日前
沖電気工業株式会社
情報処理装置、情報処理方法、及び情報処理システム
4日前
沖電気工業株式会社
現像剤収容体、画像形成ユニットおよび画像形成装置
4日前
沖電気工業株式会社
現像剤収容体、画像形成ユニット、及び画像形成装置
1か月前
沖電気工業株式会社
情報処理装置、情報処理プログラム、及び情報処理方法
26日前
沖電気工業株式会社
情報処理装置、情報処理方法、及び情報処理プログラム
1か月前
沖電気工業株式会社
精算システム、精算装置、情報処理方法、及びプログラム
26日前
沖電気工業株式会社
経路設定装置、経路設定方法、プログラムおよび経路設定システム
25日前
沖電気工業株式会社
駆動制御装置、駆動制御システム、駆動制御方法及び貨幣処理装置
1か月前
沖電気工業株式会社
情報処理装置、情報処理システム、情報処理方法、およびプログラム
1か月前
続きを見る
他の特許を見る