TOP
|
特許
|
意匠
|
商標
特許ウォッチ
Twitter
他の特許を見る
公開番号
2025163940
公報種別
公開特許公報(A)
公開日
2025-10-30
出願番号
2024067596
出願日
2024-04-18
発明の名称
画像形成装置
出願人
沖電気工業株式会社
代理人
個人
主分類
G03G
21/00 20060101AFI20251023BHJP(写真;映画;光波以外の波を使用する類似技術;電子写真;ホログラフイ)
要約
【課題】定着器の構成を簡素化しつつ定着器の温度を検出する精度を保つ。
【解決手段】画像形成装置1は、サーモパイル部60と対向する方向に断熱ダクト内部空間32と定着ユニット17側とを連通させるサーモパイル孔35と、断熱ダクト内部空間32において断熱ダクト後側板30bに支持されたサーモパイル部60を保持する保持部材42とを設け、保持部材42は、サーモパイル孔35よりも排気ファン23側から吸気ファン22側までに亘って連続的に形成された通風路遮断稜線50及びダクト接合面44Sと、サーモパイル部60よりも吸気ファン22側において保持部材42と断熱ダクト後側板30bとの間に設けられ、断熱ダクト内部空間32とサーモパイル孔35とを連通させ、吸気ファン22により取り込まれた冷却風Caを分岐させてサーモパイル孔35へ向かわせるホルダ通風空間52及びカバー通風空間59とが形成されている。
【選択図】図8
特許請求の範囲
【請求項1】
装置筐体と、
媒体に現像剤像を転写する画像形成ユニットと、
前記現像剤像が転写された前記媒体を加熱し該現像剤像を該媒体に定着させる定着器と、
前記画像形成ユニットと前記定着器との間に設けられ、内部空間が形成された仕切部材と、
前記内部空間に配置され前記定着器の温度を検出するセンサと、
前記センサを支持する支持部と、
前記センサと対向する方向に前記内部空間と前記定着器側とを連通させる測定用孔部と、
前記装置筐体の外部の空気を前記内部空間に取り込む吸気部と、
前記内部空間の空気を前記装置筐体の外部に排気する排気部と、
前記内部空間において前記支持部に支持された前記センサを保持する保持部材と
を有し、
前記保持部材は、
前記測定用孔部よりも前記排気部側から前記吸気部側までに亘って連続的に形成された通風路遮断部と、
前記センサよりも前記吸気部側において前記保持部材と前記支持部との間に設けられ、前記内部空間と前記測定用孔部とを連通させ、前記吸気部により取り込まれた前記空気を分岐させて前記測定用孔部へ向かわせる測定用孔部通風空間と
が形成されている画像形成装置。
続きを表示(約 780 文字)
【請求項2】
前記通風路遮断部は、前記測定用孔部から前記内部空間に入り前記排気部へ向かう空気を遮断する
請求項1に記載の画像形成装置。
【請求項3】
前記保持部材は、
前記吸気部から前記内部空間へ取り込まれた前記空気を、前記測定用孔部通風空間と、前記保持部材の外部の空間であり前記空気を前記排気部へ向かわせる仕切部材通風空間とに分岐させる
請求項1に記載の画像形成装置。
【請求項4】
前記通風路遮断部は、前記支持部における平面部分と当接する平面形状の仕切部材接合面を含み、
前記測定用孔部通風空間は、前記保持部材における前記仕切部材接合面側が前記仕切部材接合面よりも凹むことにより構成されている
請求項1に記載の画像形成装置。
【請求項5】
前記通風路遮断部は、前記仕切部材における前記支持部と隙間なく当接する
請求項1に記載の画像形成装置。
【請求項6】
前記保持部材は、
前記画像形成ユニット側に配置されたホルダと前記定着器側に配置されたカバーとにより構成され、前記ホルダと前記カバーとの間に形成されたセンサ実装空間に前記センサを保持し、
前記カバーにおける外周部は前記ホルダに隙間なく当接している
請求項1に記載の画像形成装置。
【請求項7】
前記カバーは、外周部において前記センサ実装空間側に向けてリブが立設されている
請求項6に記載の画像形成装置。
【請求項8】
前記測定用孔部通風空間は、
前記排気部側から前記吸気部側に向かって、前記吸気部と前記排気部とを結ぶ方向に直交する方向に関し前記吸気部側に向かって広がっている
請求項1に記載の画像形成装置。
発明の詳細な説明
【技術分野】
【0001】
本発明は、画像形成装置に関し、例えば、複写機やプリンタ等の画像形成装置に適用して好適なものである。
続きを表示(約 1,800 文字)
【背景技術】
【0002】
従来、画像形成装置としては、発光素子であるLED(Light Emitting Diode)チップから出射される露光用の光を発光する露光ヘッドを有するヘッドユニットから、画像形成ユニットにおける感光体ドラムの表面に光を照射して感光体ドラムの表面に静電潜像を形成し、さらにその静電潜像に現像剤を付着させて現像剤像を現像し、該現像剤像を用紙等の媒体に転写した後、該現像剤像を定着器で媒体に定着させることにより、画像の印刷を行うものが広く普及している。
【0003】
そのような画像形成装置においては、画像形成ユニットと定着器との間に断熱ダクトを設け、画像形成装置外部から吸気ファンにより空気を取り入れて断熱ダクト内を通過させ排気ファンにより画像形成装置内部から外部へ排出することにより、定着器が発する熱が画像形成ユニットに伝達することを抑止し、印字品位を保つものがある(例えば、特許文献1参照)。
【先行技術文献】
【特許文献】
【0004】
特開2011-221279号公報
【発明の概要】
【発明が解決しようとする課題】
【0005】
そのような画像形成装置においては、定着器の構成を簡素化しつつ定着器の温度を検出する精度を保つことが望まれている。
【0006】
本発明は以上の点を考慮してなされたもので、定着器の構成を簡素化しつつ定着器の温度を検出する精度を保ち得る画像形成装置を提案しようとするものである。
【課題を解決するための手段】
【0007】
かかる課題を解決するため本発明の画像形成装置においては、装置筐体と、媒体に現像剤像を転写する画像形成ユニットと、現像剤像が転写された媒体を加熱し該現像剤像を該媒体に定着させる定着器と、画像形成ユニットと定着器との間に設けられ、内部空間が形成された仕切部材と、内部空間に配置され定着器の温度を検出するセンサと、センサを支持する支持部と、センサと対向する方向に内部空間と定着器側とを連通させる測定用孔部と、装置筐体の外部の空気を内部空間に取り込む吸気部と、内部空間の空気を装置筐体の外部に排気する排気部と、内部空間において支持部に支持されたセンサを保持する保持部材とを設け、保持部材は、測定用孔部よりも排気部側から吸気部側までに亘って連続的に形成された通風路遮断部と、センサよりも吸気部側において保持部材と支持部との間に設けられ、内部空間と測定用孔部とを連通させ、吸気部により取り込まれた空気を分岐させて測定用孔部へ向かわせる測定用孔部通風空間とが形成されているようにした。
【0008】
これにより本発明は、排気部が稼働しても定着器側の空気を断熱部材内部のセンサ側に測定用孔部を介して引き込んでしまうことを防止できる。
【発明の効果】
【0009】
本発明によれば、排気部が稼働しても定着器側の空気を断熱部材内部のセンサ側に測定用孔部を介して引き込んでしまうことを防止でき、かくして定着器の構成を簡素化しつつ定着器の温度を検出する精度を保ち得る画像形成装置を実現できる。
【図面の簡単な説明】
【0010】
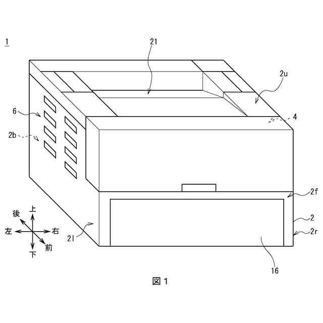
画像形成装置の外観構成(1)を示す斜視図である。
画像形成装置の外観構成(2)を示す平面図である。
画像形成装置の内部構成(1)を示す右側面図である。
画像形成装置の内部構成(2)を示す右側面図である。
画像形成装置の内部構成(3)を示す斜視図であり、領域Aは、断熱ダクト後側板を透過してサーモパイルユニットを見た図である。
サーモパイルユニットの構成を示す斜視図である。
サーモパイルユニットの構成を示す分解斜視図である。
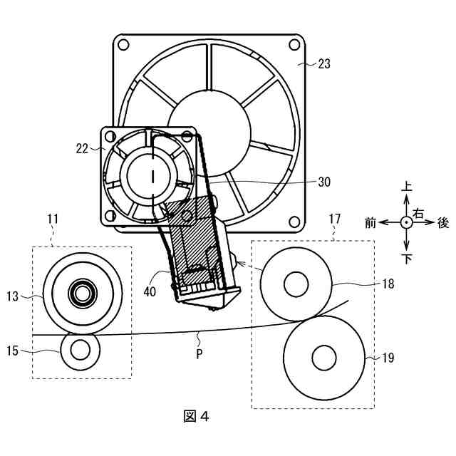
冷却風の流れ(1)を示し、断熱ダクト後側板の一部を透過した背面図である。
冷却風の流れ(2)を示す図8におけるA-A矢視断面図であり、領域Aは、係合部の一部拡大図である。
冷却風の流れ(3)を示し、図8におけるB-B矢視断面図である。
【発明を実施するための形態】
(【0011】以降は省略されています)
この特許をJ-PlatPat(特許庁公式サイト)で参照する
関連特許
沖電気工業株式会社
施錠開閉装置
23日前
沖電気工業株式会社
画像形成装置
3日前
沖電気工業株式会社
処理システム
1日前
沖電気工業株式会社
媒体処理装置
1日前
沖電気工業株式会社
画像形成装置
1日前
沖電気工業株式会社
画像形成装置
14日前
沖電気工業株式会社
画像形成装置
2日前
沖電気工業株式会社
半導体デバイス
23日前
沖電気工業株式会社
発光装置及び表示装置
23日前
沖電気工業株式会社
定着装置及び画像形成装置
4日前
沖電気工業株式会社
定着装置及び画像形成装置
1日前
沖電気工業株式会社
電源制御装置及び画像形成装置
22日前
沖電気工業株式会社
紙葉類取扱装置及び現金処理装置
7日前
沖電気工業株式会社
通信装置、通信方法、及び通信プログラム
2日前
沖電気工業株式会社
情報処理装置、情報処理方法、およびプログラム
22日前
沖電気工業株式会社
現像剤収容体、画像形成ユニットおよび画像形成装置
1日前
沖電気工業株式会社
情報処理装置、情報処理方法、及び情報処理システム
1日前
沖電気工業株式会社
精算システム、精算装置、情報処理方法、及びプログラム
23日前
沖電気工業株式会社
経路設定装置、経路設定方法、プログラムおよび経路設定システム
22日前
沖電気工業株式会社
画像形成装置、画像形成システム、状態提示方法、及び状態提示プログラム
1日前
個人
表示装置
16日前
個人
雨用レンズカバー
14日前
株式会社シグマ
絞りユニット
1か月前
キヤノン株式会社
撮像装置
1か月前
キヤノン株式会社
撮像装置
7日前
キヤノン株式会社
撮像装置
7日前
日本精機株式会社
車両用投射装置
22日前
キヤノン株式会社
撮像装置
1か月前
キヤノン株式会社
撮像装置
7日前
キヤノン株式会社
撮像装置
1か月前
平和精機工業株式会社
雲台
2か月前
株式会社リコー
画像形成装置
1日前
株式会社リコー
画像形成装置
2か月前
株式会社リコー
画像形成装置
1か月前
株式会社リコー
画像形成装置
2か月前
株式会社リコー
画像形成装置
1か月前
続きを見る
他の特許を見る