TOP
|
特許
|
意匠
|
商標
特許ウォッチ
Twitter
他の特許を見る
10個以上の画像は省略されています。
公開番号
2025164578
公報種別
公開特許公報(A)
公開日
2025-10-30
出願番号
2024068636
出願日
2024-04-19
発明の名称
サーバ及び方法
出願人
17LIVE株式会社
代理人
個人
主分類
H04N
21/258 20110101AFI20251023BHJP(電気通信技術)
要約
【課題】ライブ配信の配信者のがんばりをより適切に評価する。
【解決手段】サーバは、ライブ配信プラットフォームを提供するサーバであって、異なる複数のランクのうちの一部のランクに属する配信者について、当該配信者に対する応援の度合いを示す応援パラメータの値と、当該配信者が属するランクに属する他の配信者の応援パラメータの値と、の比較結果に基づいて、当該配信者の属するランクを変更するか否かを決定する第1決定手段と、複数のランクのうちの残りのランクに属する配信者について、当該配信者の応援パラメータの値を、他の配信者の応援パラメータの値とは無関係に評価した結果に基づいて、当該配信者の属するランクを変更するか否かを決定する第2決定手段と、配信者に、当該配信者の属するランクと当該配信者の配信時間とに基づく量の報酬を付与するための処理を行う付与手段と、を備える。
【選択図】図8
特許請求の範囲
【請求項1】
ライブ配信プラットフォームを提供するサーバであって、
異なる複数のランクのうちの一部のランクに属する配信者について、当該配信者に対する応援の度合いを示す応援パラメータの値と、当該配信者が属するランクに属する他の配信者の応援パラメータの値と、の比較結果に基づいて、当該配信者の属するランクを変更するか否かを決定する第1決定手段と、
前記複数のランクのうちの残りのランクに属する配信者について、当該配信者の応援パラメータの値を、他の配信者の応援パラメータの値とは無関係に評価した結果に基づいて、当該配信者の属するランクを変更するか否かを決定する第2決定手段と、
配信者に、当該配信者の属するランクと当該配信者の配信時間とに基づく量の報酬を付与するための処理を行う付与手段と、を備えるサーバ。
続きを表示(約 1,300 文字)
【請求項2】
前記付与手段は、配信者に、当該配信者の属するランクが高いほど高くなるレートにしたがい、当該配信者の配信時間が長いほど多くなる報酬を付与するための処理を行う請求項1に記載のサーバ。
【請求項3】
前記残りのランクは前記一部のランクよりも高い請求項2に記載のサーバ。
【請求項4】
前記第2決定手段は、前記複数のランクのうちの残りのランクに属する配信者について、当該配信者が所定の第2期間内に獲得した応援パラメータの値と、当該配信者の属するランクに固有の定数であるしきい値と、の比較結果に基づいて、当該配信者の属するランクを変更するか否かを決定する請求項1に記載のサーバ。
【請求項5】
前記第1決定手段は、前記複数のランクのうちの一部のランクに属する配信者について、当該配信者が所定の第1期間内に獲得した応援パラメータの値と、当該配信者が属するランクに属する他の配信者が前記第1期間内に獲得した応援パラメータの値と、の比較結果に基づいて、当該配信者の属するランクを変更するか否かを決定し、
前記第2期間の長さと前記第1期間の長さとは異なる請求項4に記載のサーバ。
【請求項6】
配信者がライブ配信を提供していないときに当該配信者に対して行われた応援活動に基づき、当該配信者の応援パラメータの値を更新するパラメータ更新手段をさらに備える請求項1に記載のサーバ。
【請求項7】
配信者がライブ配信を提供していないときに当該配信者に対して行われた応援活動に基づき、当該配信者の応援パラメータの値を更新するパラメータ更新手段をさらに備え、
前記第2決定手段は、前記複数のランクのうちの残りのランクに属する配信者から前記第2期間の指定を伴う休止要求を受け付けた場合、当該配信者について前記第2期間における比較結果に基づくランクの変更を行わず、
前記パラメータ更新手段は、前記複数のランクのうちの残りのランクに属する配信者から前記第2期間の指定を伴う前記休止要求を受け付けた場合でも、前記第2期間において、当該配信者に対して行われた応援活動に基づく応援パラメータの更新を継続する請求項4に記載のサーバ。
【請求項8】
ライブ配信プラットフォームを提供するサーバで実行される方法であって、
異なる複数のランクのうちの一部のランクに属する配信者について、当該配信者に対する応援の度合いを示す応援パラメータの値と、当該配信者が属するランクに属する他の配信者の応援パラメータの値と、の比較結果に基づいて、当該配信者の属するランクを変更するか否かを決定することと、
前記複数のランクのうちの残りのランクに属する配信者について、当該配信者の応援パラメータの値を、他の配信者の応援パラメータの値とは無関係に評価した結果に基づいて、当該配信者の属するランクを変更するか否かを決定することと、
配信者に、当該配信者の属するランクと当該配信者の配信時間とに基づく量の報酬を付与するための処理を行うことと、を含む方法。
発明の詳細な説明
【技術分野】
【0001】
本開示は、サーバ及び方法に関する。
続きを表示(約 2,000 文字)
【背景技術】
【0002】
IT技術の発展と共に情報のやりとりの様も移り変わってきた。昭和の時代には新聞やテレビなどの一方通行の情報伝達が主であった。平成になると、ケータイやパソコンが普及し、インターネットの通信速度も大きく改善されたので、チャットサービスなどの即時双方向通信サービスが台頭し、また記憶コストの低減に伴ってオンデマンド型の動画配信サービスが受け入れられていった。そして、現在、令和の時代となり、スマートフォンの高機能化や5Gに代表されるネットワークの速度のさらなる向上を受けて、動画によるリアルタイムのコミュニケーションを実現するサービス、特にライブ配信(Live Streaming)サービスが急速に認知度を高めている。ライブ配信サービスは、離れた場所にいても皆が同じ楽しい時間を共有できるサービスとして、若者を中心に利用者が拡大している。
【0003】
特許文献1には、ライブ動画の配信者への報酬を時間給で支払う仕組みが開示されている。特許文献1では、配信者をランク付けし、ランク帯内の配信ポイントの順位にしたがってランクメータ値を変動させ、配信者のランクメータ値に基づいて配信者のランクを更新する。時間給なので、初心者の配信者であっても、ライブ動画の配信を継続することによって、配信時間と基準報酬数量とに基づく数量の報酬を得ることができる。
【先行技術文献】
【特許文献】
【0004】
特開2020-021445号公報
特許第7272570号公報
【発明の概要】
【発明が解決しようとする課題】
【0005】
しかしながら、ランクやランク帯に属する配信者の数が少ない場合、順位付けによって配信者のランクの更新を判断するやり方が、配信者の実際のがんばりや才能を反映しない判断結果をもたらすことがある。順位付けによる判断ではポジティブな評価を受ける配信者とネガティブな評価を受ける配信者とが必ず生じるからである。
【0006】
本開示はこうした課題に鑑みてなされたものであり、その目的は、ライブ配信の配信者のがんばりをより適切に評価できる技術の提供にある。
【課題を解決するための手段】
【0007】
本発明のある態様は、サーバに関する。このサーバは、ライブ配信プラットフォームを提供するサーバであって、異なる複数のランクのうちの一部のランクに属する配信者について、当該配信者に対する応援の度合いを示す応援パラメータの値と、当該配信者が属するランクに属する他の配信者の応援パラメータの値と、の比較結果に基づいて、当該配信者の属するランクを変更するか否かを決定する第1決定手段と、複数のランクのうちの残りのランクに属する配信者について、当該配信者の応援パラメータの値を、他の配信者の応援パラメータの値とは無関係に評価した結果に基づいて、当該配信者の属するランクを変更するか否かを決定する第2決定手段と、配信者に、当該配信者の属するランクと当該配信者の配信時間とに基づく量の報酬を付与するための処理を行う付与手段と、を備える。
【0008】
なお、以上の構成要素の任意の組み合わせや、本発明の構成要素や表現を装置、方法、システム、コンピュータプログラム、コンピュータプログラムを格納した記録媒体などの間で相互に置換したものもまた、本発明の態様として有効である。
【発明の効果】
【0009】
本発明によれば、ライブ配信の配信者のがんばりをより適切に評価できる。
【図面の簡単な説明】
【0010】
本開示の実施の形態に係るライブ配信システムの構成を示す模式図である。
図1のユーザ端末の機能および構成を示すブロック図である。
図1のサーバの機能および構成を示すブロック図である。
図3のストリームDBの一例を示すデータ構造図である。
図3のユーザDBの一例を示すデータ構造図である。
図3のギフトDBの一例を示すデータ構造図である。
図3の基準DBの一例を示すデータ構造図である。
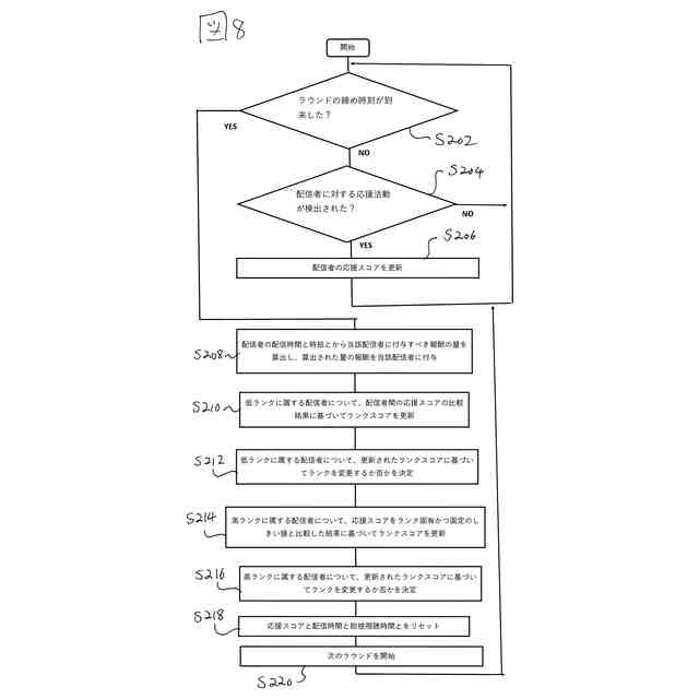
ライブ配信システムにおける時間給の付与に係る一連の処理の流れを示すフローチャートである。
視聴者のユーザ端末のディスプレイに表示されるライブ配信ルーム画面の代表画面図である。
休止中の配信者のユーザ端末のディスプレイに表示されるランク情報表示画面の代表画面図である。
本実施の形態に係る情報処理装置のハードウェア構成例を示すブロック図である。
【発明を実施するための形態】
(【0011】以降は省略されています)
この特許をJ-PlatPat(特許庁公式サイト)で参照する
関連特許
17LIVE株式会社
サーバ及び方法
今日
17LIVE株式会社
サーバ及び方法
8日前
17LIVE株式会社
サーバ、方法及びコンピュータプログラム
8日前
17LIVE株式会社
サーバ及び方法
今日
17LIVE株式会社
サーバ及び方法
8日前
17LIVE株式会社
サーバ、方法及びコンピュータプログラム
8日前
個人
イヤーピース
今日
個人
イヤーマフ
14日前
個人
監視カメラシステム
23日前
キーコム株式会社
光伝送線路
24日前
個人
スイッチシステム
8日前
個人
スキャン式車載用撮像装置
23日前
個人
映像表示装置、及びARグラス
9日前
キヤノン電子株式会社
画像読取装置
8日前
ヤマハ株式会社
放音制御装置
8日前
サクサ株式会社
無線システム
28日前
株式会社リコー
画像形成装置
16日前
キヤノン電子株式会社
画像読取装置
今日
キヤノン電子株式会社
画像読取装置
22日前
キヤノン株式会社
画像処理装置
3日前
日本電気株式会社
海底分岐装置
24日前
キヤノン電子株式会社
シート搬送装置
今日
個人
発信機及び発信方法
28日前
シャープ株式会社
表示装置
今日
株式会社NTTドコモ
端末
23日前
株式会社NTTドコモ
端末
24日前
株式会社NTTドコモ
端末
24日前
シャープ株式会社
端末装置
21日前
シャープ株式会社
表示装置
今日
株式会社NTTドコモ
端末
23日前
株式会社NTTドコモ
端末
23日前
キヤノン電子株式会社
画像処理システム
22日前
技術開発合同会社
電子拡大鏡
9日前
17LIVE株式会社
サーバ及び方法
8日前
トヨタ自動車株式会社
推定装置
今日
アスザック株式会社
遠隔操作システム
9日前
続きを見る
他の特許を見る