TOP
|
特許
|
意匠
|
商標
特許ウォッチ
Twitter
他の特許を見る
公開番号
2025164592
公報種別
公開特許公報(A)
公開日
2025-10-30
出願番号
2024068669
出願日
2024-04-19
発明の名称
情報処理装置、端末装置、及びMaaS提供方法
出願人
トヨタ自動車株式会社
代理人
個人
,
個人
,
個人
,
個人
主分類
G06F
3/0481 20220101AFI20251023BHJP(計算;計数)
要約
【課題】端末装置に表示されている、ペルソナ情報に関連する情報に対するユーザの納得感を向上させる。
【解決手段】情報処理装置10は、ユーザの履歴情報を取得し、取得された履歴情報に基づいてユーザを分類したペルソナ情報を生成し、ペルソナ情報に関連する情報に加えてペルソナ情報もユーザの端末装置20に表示させる制御部13、を備える。
【選択図】図2
特許請求の範囲
【請求項1】
ユーザの履歴情報を取得し、取得された前記履歴情報に基づいて前記ユーザを分類したペルソナ情報を生成し、前記ペルソナ情報に関連する情報に加えて前記ペルソナ情報も前記ユーザの端末装置に表示させる制御部、を備える、
情報処理装置。
続きを表示(約 460 文字)
【請求項2】
請求項1に記載の情報処理装置であって、
前記制御部は、前記ペルソナ情報を画像情報として生成する、
情報処理装置。
【請求項3】
請求項1又は2に記載の情報処理装置であって、
前記制御部は、前記履歴情報を所定期間ごとに取得して分析し、前記所定期間ごとに前記ペルソナ情報を生成する、
情報処理装置。
【請求項4】
請求項1又は2に記載の情報処理装置であって、
前記制御部は、前記ユーザによる入力情報に基づいて前記ペルソナ情報を更新する、
情報処理装置。
【請求項5】
ユーザの履歴情報に基づいて前記ユーザを分類したペルソナ情報を情報処理装置から取得し、取得された前記ペルソナ情報に関連する情報に加えて前記ペルソナ情報も表示させる制御部、を備える、
端末装置。
【請求項6】
請求項1に記載の情報処理装置を用いたMaaS(Mobility as a Service)提供方法。
発明の詳細な説明
【技術分野】
【0001】
本開示は、情報処理装置、端末装置、及びMaaS提供方法に関する。
続きを表示(約 1,200 文字)
【背景技術】
【0002】
従来、ユーザの行動履歴などの情報に基づいて、属性、カテゴリなどのペルソナにユーザを分類し、ユーザのニーズにより合った情報をユーザに提案するための技術が知られている。例えば、特許文献1には、人が業務の特徴を理解することなく、消費者の消費行動を考慮した上で、漏れなく網羅的なサプライチェーンの分析を可能とする特徴抽出装置が開示されている。
【先行技術文献】
【特許文献】
【0003】
特許第7194132号公報
【発明の概要】
【発明が解決しようとする課題】
【0004】
このようなペルソナで分類された情報について、ユーザは、自身がどのペルソナに分類された結果得られたものであるのかを知ることが容易ではなかった。その結果、端末装置に表示されている、ペルソナ情報に関連する情報に対するユーザの納得感が十分に得られていなかった。
【0005】
かかる事情に鑑みてなされた本開示の目的は、端末装置に表示されている、ペルソナ情報に関連する情報に対するユーザの納得感を向上させることにある。
【課題を解決するための手段】
【0006】
本開示の一実施形態に係る情報処理装置は、ユーザの履歴情報を取得し、取得された前記履歴情報に基づいて前記ユーザを分類したペルソナ情報を生成し、前記ペルソナ情報に関連する情報に加えて前記ペルソナ情報も前記ユーザの端末装置に表示させる制御部、を備える。
【0007】
本開示の一実施形態に係る端末装置は、ユーザの履歴情報に基づいて前記ユーザを分類したペルソナ情報を情報処理装置から取得し、取得された前記ペルソナ情報に関連する情報に加えて前記ペルソナ情報も表示させる制御部、を備える。
【0008】
本開示の一実施形態に係るMaaS提供方法は、上記の情報処理装置を用いたMaaSを提供する。
【発明の効果】
【0009】
本開示の一実施形態によれば、端末装置に表示されている、ペルソナ情報に関連する情報に対するユーザの納得感が向上する。
【図面の簡単な説明】
【0010】
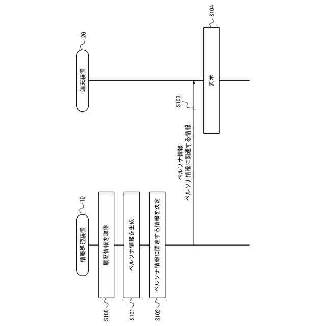
本開示の一実施形態に係る情報処理装置を含む情報処理システムの構成の一例を示す構成図である。
図1の情報処理装置の構成の一例を示すブロック図である。
図1の端末装置の構成の一例を示すブロック図である。
図1の情報処理システムにより実行される情報処理方法の第1例を説明するためのシーケンス図である。
図1の情報処理システムにより実行される情報処理方法の第2例を説明するためのシーケンス図である。
図1の情報処理システムの動作の一例を説明するための模式図である。
【発明を実施するための形態】
(【0011】以降は省略されています)
この特許をJ-PlatPat(特許庁公式サイト)で参照する
関連特許
トヨタ自動車株式会社
車両
14日前
トヨタ自動車株式会社
方法
13日前
トヨタ自動車株式会社
椅子
22日前
トヨタ自動車株式会社
方法
22日前
トヨタ自動車株式会社
車両
12日前
トヨタ自動車株式会社
車両
21日前
トヨタ自動車株式会社
車両
19日前
トヨタ自動車株式会社
方法
13日前
トヨタ自動車株式会社
車両
13日前
トヨタ自動車株式会社
車両
8日前
トヨタ自動車株式会社
車両
6日前
トヨタ自動車株式会社
車両
6日前
トヨタ自動車株式会社
電池
19日前
トヨタ自動車株式会社
車体
15日前
トヨタ自動車株式会社
治具
7日前
トヨタ自動車株式会社
方法
14日前
トヨタ自動車株式会社
車両
26日前
トヨタ自動車株式会社
方法
22日前
トヨタ自動車株式会社
電池
12日前
トヨタ自動車株式会社
車両
27日前
トヨタ自動車株式会社
電池
今日
トヨタ自動車株式会社
電池
28日前
トヨタ自動車株式会社
車両
今日
トヨタ自動車株式会社
方法
12日前
トヨタ自動車株式会社
モータ
9日前
トヨタ自動車株式会社
電磁弁
22日前
トヨタ自動車株式会社
モータ
20日前
トヨタ自動車株式会社
固定子
27日前
トヨタ自動車株式会社
正極層
12日前
トヨタ自動車株式会社
加熱器
26日前
トヨタ自動車株式会社
電動車
22日前
トヨタ自動車株式会社
モータ
14日前
トヨタ自動車株式会社
電動機
12日前
トヨタ自動車株式会社
飛行体
19日前
トヨタ自動車株式会社
サーバ
9日前
トヨタ自動車株式会社
自動車
13日前
続きを見る
他の特許を見る