TOP
|
特許
|
意匠
|
商標
特許ウォッチ
Twitter
他の特許を見る
公開番号
2025156850
公報種別
公開特許公報(A)
公開日
2025-10-15
出願番号
2024059570
出願日
2024-04-02
発明の名称
燃料電池システム及びフォークリフト
出願人
株式会社豊田自動織機
代理人
個人
,
個人
主分類
B60K
1/04 20190101AFI20251007BHJP(車両一般)
要約
【課題】燃料電池システムを小型化できる燃料電池システム及びフォークリフトを提供する。
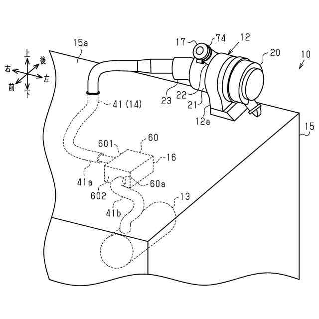
【解決手段】燃料電池システム10は、燃料電池スタックと、燃料電池スタックを収容する筐体15と、筐体15外に設けられたエアクリーナ12と、筐体15内に設けられたエアコンプレッサ13と、エアクリーナ12とエアコンプレッサ13とを接続する第1配管41と、筐体15内において第1配管41の途中に設けられ、内部に消音構造が設けられたマフラケース60を有する第1消音器16と、エアクリーナ12の吸気口の流路断面積を狭めるようにエアクリーナ12に取り付けられた第2消音器17とを備えている。フォークリフトには、燃料電池システム10が搭載されている。
【選択図】図3
特許請求の範囲
【請求項1】
燃料電池スタックと、
前記燃料電池スタックを収容する筐体と、
前記筐体外に設けられたエアクリーナと、
前記筐体内に設けられたエアコンプレッサと、
前記エアクリーナと前記エアコンプレッサとを接続する配管と、
前記筐体内において前記配管の途中に設けられ、内部に消音構造が設けられたマフラケースを有する第1消音器と、
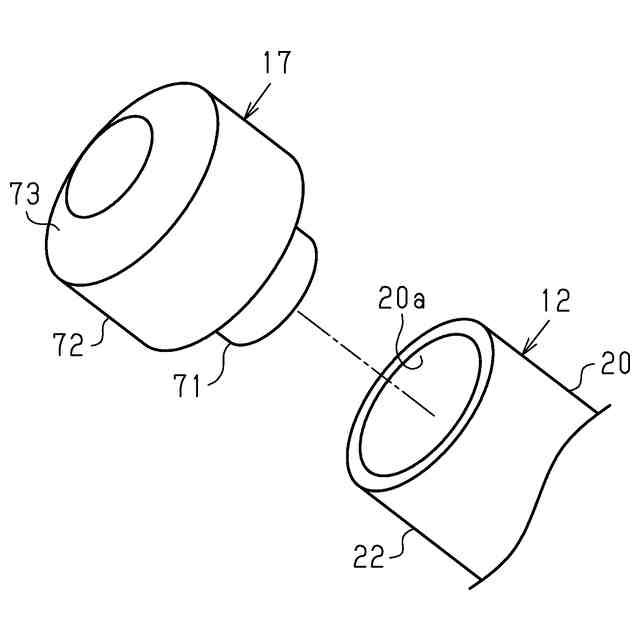
前記エアクリーナの吸気口の流路断面積を狭めるように前記エアクリーナに取り付けられた第2消音器と、
を備えることを特徴とする燃料電池システム。
続きを表示(約 420 文字)
【請求項2】
前記第2消音器はゴム製である請求項1に記載の燃料電池システム。
【請求項3】
前記エアクリーナは、前記吸気口を構成する吸気管を有し、
前記第2消音器は、前記吸気管内に挿入されることにより前記吸気口の流路断面積を狭める内側管と、前記内側管の外周に位置するとともに内側に前記吸気管が嵌め込まれる外側管とを有し、
前記内側管の軸方向の寸法は、前記外側管の軸方向の寸法よりも長い請求項1又は請求項2に記載の燃料電池システム。
【請求項4】
請求項1に記載の燃料電池システムが搭載されたフォークリフト。
【請求項5】
本体部と前記本体部の後側上部に設けられたフード部とを有する車体と、
前記フード部の天板上に設けられた運転席シートと、
を備え、
前記エアクリーナ及び前記第2消音器は、前記フード部内に収容されている請求項4に記載のフォークリフト。
発明の詳細な説明
【技術分野】
【0001】
本発明は、燃料電池システム及びフォークリフトに関する。
続きを表示(約 1,500 文字)
【背景技術】
【0002】
特許文献1に記載の燃料電池システムは、燃料電池スタックと、燃料電池スタックに空気を供給する空気供給器と、空気供給器の吸気音を低減するための消音器と、空気供給器と消音器とを接続するホースとを備えている。消音器は、排気口が設けられた消音器ケースと空気吸い込み口が設けられた消音器フタとを有している。消音器ケースの通路断面積は、ホース、排気口、及び空気吸い込み口の通路断面積よりも大きい。
【先行技術文献】
【特許文献】
【0003】
特開2017-183268号公報
【発明の概要】
【発明が解決しようとする課題】
【0004】
吸気音を低減するための消音器を備える燃料電池システムの小型化が求められている。
【課題を解決するための手段】
【0005】
上記問題点を解決するための燃料電池システムは、燃料電池スタックと、前記燃料電池スタックを収容する筐体と、前記筐体外に設けられたエアクリーナと、前記筐体内に設けられたエアコンプレッサと、前記エアクリーナと前記エアコンプレッサとを接続する配管と、前記筐体内において前記配管の途中に設けられ、内部に消音構造が設けられたマフラケースを有する第1消音器と、前記エアクリーナの吸気口の流路断面積を狭めるように前記エアクリーナに取り付けられた第2消音器と、を備えることを要旨とする。
【0006】
上記構成によれば、第1消音器は筐体内に配置されるとともに、第2消音器は筐体外においてエアクリーナに取り付けられている。第2消音器は、エアクリーナの吸気口の流路断面積を狭めることによりエアコンプレッサの吸気音を低減するため、マフラケースを有する第1消音器よりも小型化することができる。したがって、第1消音器が筐体外においてエアクリーナに取り付けられている場合と比較して、筐体外に設けられる消音器を小型化できる。よって、燃料電池システムを小型化できる。
【0007】
上記燃料電池システムにおいて、前記第2消音器はゴム製であってもよい。
上記構成によれば、第2消音器が金属製である場合と比較して、第2消音器の消音性能を向上できる。また、第2消音器をエアクリーナに取り付ける際のエアクリーナの損傷を回避できる。
【0008】
上記燃料電池システムにおいて、前記エアクリーナは、前記吸気口を構成する吸気管を有し、前記第2消音器は、前記吸気管内に挿入されることにより前記吸気口の流路断面積を狭める内側管と、前記内側管の外周に位置するとともに内側に前記吸気管が嵌め込まれる外側管とを有し、前記内側管の軸方向の寸法は、前記外側管の軸方向の寸法よりも長くてもよい。
【0009】
上記構成によれば、内側管の軸方向の寸法が外側管の軸方向の寸法以下である場合と比較して、吸気音が内側管に反射することにより減衰する効果を増大できる。
上記問題点を解決するためのフォークリフトは、上記燃料電池システムが搭載されたことを要旨とする。
【0010】
上記構成によれば、第1消音器は筐体内に配置されるとともに、第2消音器は筐体外においてエアクリーナに取り付けられている。第2消音器は、エアクリーナの吸気口の流路断面積を狭めることによりエアコンプレッサの吸気音を低減するため、マフラケースを有する第1消音器よりも小型化することができる。したがって、第1消音器が筐体外においてエアクリーナに取り付けられている場合と比較して、筐体外に設けられる消音器を小型化できる。よって、燃料電池システムを小型化できる。
(【0011】以降は省略されています)
この特許をJ-PlatPat(特許庁公式サイト)で参照する
関連特許
株式会社豊田自動織機
燃料電池システム及びフォークリフト
1日前
個人
タイヤレバー
2か月前
個人
前輪キャスター
1か月前
個人
上部一体型自動車
13日前
個人
ホイルのボルト締結
3か月前
個人
ルーフ付きトライク
2か月前
個人
タイヤ脱落防止構造
1か月前
井関農機株式会社
作業車両
4か月前
日本精機株式会社
表示装置
2か月前
個人
車両通過構造物
2か月前
日本精機株式会社
表示装置
2か月前
日本精機株式会社
表示装置
2か月前
日本精機株式会社
表示装置
1か月前
個人
キャンピングトライク
4か月前
井関農機株式会社
作業車両
4か月前
個人
マスタシリンダ
20日前
個人
アクセルのソフトウェア
3か月前
個人
乗合路線バスの客室装置
3か月前
個人
車両用スリップ防止装置
3か月前
個人
キャンピングトレーラー
4か月前
日本精機株式会社
車載表示装置
3か月前
日本精機株式会社
画像投映装置
9日前
株式会社ニフコ
保持装置
3か月前
株式会社ニフコ
照明装置
1か月前
個人
音声ガイド、音声サービス
2か月前
株式会社豊田自動織機
産業車両
2か月前
株式会社ニフコ
収納装置
1か月前
個人
車載小物入れ兼雨傘収納具
3か月前
日本精機株式会社
車室演出装置
1か月前
個人
円湾曲ホイール及び球体輪
3か月前
日本精機株式会社
車載表示装置
28日前
井関農機株式会社
作業車両
3か月前
トヨタ自動車株式会社
車両
4か月前
井関農機株式会社
作業車両
3か月前
日本無線株式会社
取付金具
2か月前
日本精機株式会社
車両用表示装置
2か月前
続きを見る
他の特許を見る