TOP
|
特許
|
意匠
|
商標
特許ウォッチ
Twitter
他の特許を見る
公開番号
2025004461
公報種別
公開特許公報(A)
公開日
2025-01-15
出願番号
2023104164
出願日
2023-06-26
発明の名称
車両用灯具
出願人
市光工業株式会社
代理人
主分類
F21S
41/265 20180101AFI20250107BHJP(照明)
要約
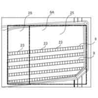
【課題】全体の配光の崩れを抑えつつ、照射範囲を部分的に拡張することが可能な車両用灯具を提供する。
【解決手段】本開示に係る車両用灯具10Rは、複数の発光素子を有する光源20と、光源20からの光を所定の照射方向へメイン配光として配光制御する複数のメインレンズ40と、複数のメインレンズ40を支持するレンズホルダ30と、レンズホルダ30の外側に配置され、光源20からの光をメイン配光に付加する付加配光として上記照射方向へ配光制御する付加光学系50と、を備え、付加配光は、メイン配光に隣接し、又はメイン配光に一部が重なる。
【選択図】図3
特許請求の範囲
【請求項1】
複数の発光部を有する光源と、
前記光源からの光を所定の照射方向へメイン配光として配光制御する複数のメインレンズと、
前記複数のメインレンズを支持するレンズホルダと、
前記レンズホルダの外側に配置され、前記光源からの光を前記メイン配光に付加する付加配光として前記照射方向へ配光制御する付加光学系と、を備え、
前記付加配光は、前記メイン配光に隣接し、又は前記メイン配光に一部が重なる
ことを特徴とする車両用灯具。
続きを表示(約 620 文字)
【請求項2】
前記付加光学系は、前記光源側に位置する第1付加レンズと、前記第1付加レンズよりも前記照射方向側に配置されて前記第1付加レンズからの光を前記照射方向へ出射する第2付加レンズとを含み、
前記第1付加レンズは、前記複数のメインレンズのうち前記光源に最も近い位置に配置される入射レンズの側方に配置され、
前記第2付加レンズは、前記入射レンズよりも前記照射方向側に配置され、
前記付加光学系は、前記光源からの光のうち前記入射レンズに入射しない光を受けて前記付加配光として前記照射方向へ配光制御する
ことを特徴とする請求項1に記載の車両用灯具。
【請求項3】
前記付加光学系は、前記レンズホルダの水平方向の一方側に配置され、
前記第1付加レンズの入射面は、水平方向断面の形状が凹形状であり、鉛直方向断面の形状が凸形状であり、
前記第2付加レンズの入射面は、鉛直方向断面の形状が凸形状であり、前記第1付加レンズよりも水平方向の前記一方側へ突出している
ことを特徴とする請求項2に記載の車両用灯具。
【請求項4】
前記複数のメインレンズの径は、前記照射方向の後側のレンズよりも前記照射方向の前側のレンズの方が大きく、
前記第2付加レンズは、前記第1付加レンズよりも大きい
ことを特徴とする請求項2又は請求項3に記載の車両用灯具。
発明の詳細な説明
【技術分野】
【0001】
本開示は、車両用灯具に関する。
続きを表示(約 1,800 文字)
【背景技術】
【0002】
特許文献1には、車両用灯具としてヘッドランプが開示されている。ヘッドランプのランプユニットは、ランプハウジング内に内装されている。このランプユニットは、内面が光反射面として形成されたユニットケーシングに内装かつ支持された光源と投影レンズを有しており、光源から出射した光を投影レンズにより自動車の前方領域に照射して所望の配光を得るように構成されている。光源は、ヒートシンクに支持されている基板に複数個の発光素子が水平方向に配列された状態で搭載されている。複数個の発光素子が発光したときに、それぞれから出射される光は、直接、あるいはユニットケーシングの内面で反射されて投影レンズに向けられる。投影レンズは、トリプレットレンズで構成されており、ランプ前側から順に、正の屈折力を有する凸レンズからなる第1レンズと、負の屈折力を有する凹レンズからなる第2レンズと、正の屈折力を有する凸レンズからなる第3レンズとで構成されている。これら第1レンズ~第3レンズは、それぞれの光軸を一致させて同軸配置されており、この投影レンズのランプ後側の焦点の近傍に光源が配設されている。
【先行技術文献】
【特許文献】
【0003】
特開2019-145372号公報
【発明の概要】
【発明が解決しようとする課題】
【0004】
ところで、車両用灯具には、ピクセル化された小さな複数のLEDを1つのパッケージにしたLEDユニットを搭載するものがある。このような車両用灯具を車両のヘッドランプ用前照灯ユニットに使用することで、前照灯の照射範囲を高分解能にて制御することができる。
【0005】
LEDユニットは、LEDの前に少なくとも2枚以上のレンズを重ねて光を制御する単焦点レンズを設けることで、各LEDの点消灯や調光によって表現されるイメージをそのまま拡大して配光として出力することができる。
【0006】
しかし、出力される配光の照射範囲は、光学系の性質上、LEDの発光部のサイズや形状に依存する。このため、例えば、照射範囲を部分的に拡張したい場合、単焦点レンズの配光面でそれを実現しようとすると、照射範囲全体での均一な解像度を維持することができなくなるのに加え、全体の配光が崩れてしまうおそれがある。
【0007】
そこで、本開示は、全体の配光の崩れを抑えつつ、照射範囲を部分的に拡張することが可能な車両用灯具の提供を目的とする。
【課題を解決するための手段】
【0008】
上記課題を解決するため、本発明の第1の態様の車両用灯具は、複数の発光部を有する光源と、前記光源からの光を所定の照射方向へメイン配光として配光制御する複数のメインレンズと、前記複数のメインレンズを支持するレンズホルダと、前記レンズホルダの外側に配置され、前記光源からの光を前記メイン配光に付加する付加配光として前記照射方向へ配光制御する付加光学系と、を備え、前記付加配光は、前記メイン配光に隣接し、又は前記メイン配光に一部が重なる。
【0009】
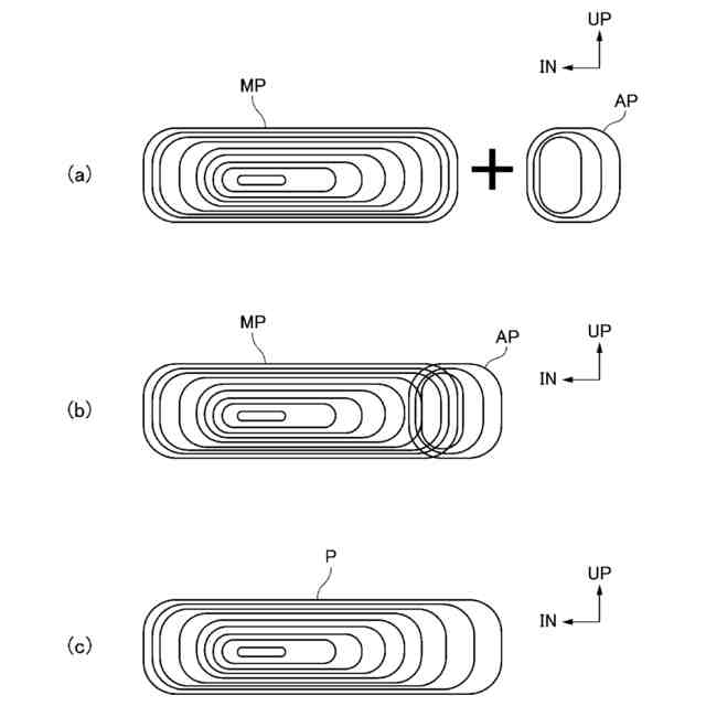
本発明の第2の態様は、上記第1の態様の車両用灯具であって、前記付加光学系は、前記光源側に位置する第1付加レンズと、前記第1付加レンズよりも前記照射方向側に配置されて前記第1付加レンズからの光を前記照射方向へ出射する第2付加レンズとを含み、前記第1付加レンズは、前記複数のメインレンズのうち前記光源に最も近い位置に配置される入射レンズの側方に配置され、前記第2付加レンズは、前記入射レンズよりも前記照射方向側に配置され、前記付加光学系は、前記光源からの光のうち前記入射レンズに入射しない光を受けて前記付加配光として前記照射方向へ配光制御する。
【0010】
本発明の第3の態様は、上記第2の態様の車両用灯具であって、前記付加光学系は、前記レンズホルダの水平方向の一方側に配置され、前記第1付加レンズの入射面は、水平方向断面の形状が凹形状であり、鉛直方向断面の形状が凸形状であり、前記第2付加レンズの入射面は、鉛直方向断面の形状が凸形状であり、前記第1付加レンズよりも水平方向の前記一方側へ突出している。
(【0011】以降は省略されています)
特許ウォッチbot のツイートを見る
この特許をJ-PlatPat(特許庁公式サイト)で参照する
関連特許
市光工業株式会社
車両用灯具
6日前
市光工業株式会社
車両用灯具
21日前
市光工業株式会社
車両用灯具
1か月前
市光工業株式会社
車両用灯具
1か月前
市光工業株式会社
車両用灯具
1か月前
市光工業株式会社
車両用灯具
1か月前
市光工業株式会社
車両用灯具
1か月前
市光工業株式会社
車両用灯具
1か月前
市光工業株式会社
車両用灯具の制御装置及び車両用灯具
2か月前
市光工業株式会社
車両用灯具、及び車両用灯具の製造方法
1か月前
個人
照明器具
8か月前
個人
室外機器
3か月前
個人
照明システム
2か月前
個人
LED光源基盤
7か月前
個人
気泡を用いた遊具。
5か月前
個人
車載機器の通気構造
21日前
株式会社遠藤照明
照明器具
8か月前
株式会社遠藤照明
照明装置
12日前
株式会社遠藤照明
照明器具
4か月前
能美防災株式会社
表示灯
21日前
個人
LEDライト
2か月前
デンカ株式会社
照明装置
3か月前
日本船燈株式会社
照明装置
8か月前
日本発條株式会社
照明装置
8か月前
デンカ株式会社
道路用照明
3か月前
株式会社小糸製作所
投光装置
21日前
株式会社小糸製作所
投光装置
21日前
アクア株式会社
冷蔵庫
1か月前
株式会社小糸製作所
誘導装置
5日前
瀧住電機工業株式会社
ダクトレール
6か月前
株式会社小糸製作所
車両用灯具
6か月前
株式会社小糸製作所
車両用灯具
4か月前
株式会社小糸製作所
車両用灯具
3か月前
株式会社小糸製作所
車両用灯具
5か月前
株式会社小糸製作所
車両用灯具
5か月前
株式会社小糸製作所
車両用灯具
8か月前
続きを見る
他の特許を見る