TOP
|
特許
|
意匠
|
商標
特許ウォッチ
Twitter
他の特許を見る
10個以上の画像は省略されています。
公開番号
2025014162
公報種別
公開特許公報(A)
公開日
2025-01-30
出願番号
2023116452
出願日
2023-07-18
発明の名称
無線伝送システム
出願人
日本放送協会
代理人
個人
主分類
H04N
5/268 20060101AFI20250123BHJP(電気通信技術)
要約
【課題】複数のカメラの映像信号のうちOAタリーの映像信号を選択する無線伝送システムにおいて、効率的に高品質な映像を伝送する。
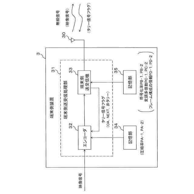
【解決手段】基地局側装置4の基地局側送受信処理部43は、台本情報から生成されたタリー信号情報に基づきタリー信号フラグを生成し、これを端末側装置3へ送信する。端末側装置3の端末側送受信処理部31は、基地局側装置4から受信したタリー信号フラグがOAタリー等を示している場合、伝送レート40Mbpsにて映像信号を伝送するための伝送パラメータを用いて、カメラ2の映像信号に対し送信処理を行い、映像信号を送信する。基地局側送受信処理部43は、タリー信号フラグがOAタリー等を示している場合、端末側装置3と同じ伝送パラメータを用いて、端末側装置3から受信した映像信号に対し受信処理を行う。ビデオスイッチャー42は、受信処理後の複数の映像信号のうちOAタリーの映像信号を選択して出力する。
【選択図】図7
特許請求の範囲
【請求項1】
複数のカメラ、前記複数のカメラに対応する複数の端末側装置及び基地局側装置から構成され、前記複数のカメラからの映像信号を、前記複数の端末側装置を介して無線信号にて受信し、受信した複数の映像信号のうち1つの映像信号を選択して出力する無線伝送システムにおいて、
前記基地局側装置は、
前記複数のカメラのうち現在の選択対象のカメラをOAタリーとし、次の選択対象のカメラをNEXTタリーとして、
前記複数のカメラのそれぞれについて、前記OAタリー及び前記NEXTタリーのいずれかを示すフラグ、または、前記OAタリー及び前記NEXTタリーのいずれでもない非タリーを示すフラグをタリー信号フラグとして生成し、当該カメラの前記タリー信号フラグを無線信号にて、当該カメラに対応する端末側装置へ送信し、
前記複数の端末側装置のそれぞれから、当該端末側装置に対応するカメラの映像信号を無線信号にて受信し、前記対応するカメラの前記タリー信号フラグに基づいて、前記映像信号に対して所定の受信処理を行う基地局側送受信処理部と、
前記基地局側送受信処理部により前記所定の受信処理が行われた複数の映像信号のうち、前記OAタリーのカメラの映像信号を選択し、前記映像信号を出力するビデオスイッチャーと、を備え、
前記複数の端末側装置のそれぞれは、
前記基地局側装置から、当該端末側装置に対応するカメラの前記タリー信号フラグを無線信号にて受信し、前記タリー信号フラグに基づいて、前記対応するカメラの映像信号に対して所定の送信処理を行い、前記所定の送信処理が行われた映像信号を無線信号にて前記基地局側装置へ送信する端末側送受信処理部、を備え、
前記端末側送受信処理部は、
前記タリー信号フラグが前記OAタリー及び前記NEXTタリーのいずれかを示している場合、前記対応するカメラの映像信号の伝送レートを第1の伝送レートに設定するための伝送パラメータを用いて、前記対応するカメラの映像信号に対して前記所定の送信処理を行い、
前記タリー信号フラグが前記非タリーを示している場合、前記伝送レートを前記第1の伝送レートよりも低い第2の伝送レートに設定するための伝送パラメータを用いて、前記対応するカメラの映像信号に対して前記所定の送信処理を行い、
前記基地局側送受信処理部は、
前記複数の端末側装置から受信した複数の映像信号のそれぞれについて、当該映像信号に対応するカメラの前記タリー信号フラグが前記OAタリー及び前記NEXTタリーのいずれかを示している場合、前記伝送レートを前記第1の伝送レートに設定するための伝送パラメータを用いて、当該映像信号に対して前記所定の受信処理を行い、
当該映像信号に対応するカメラの前記タリー信号フラグが前記非タリーを示している場合、前記伝送レートを前記第2の伝送レートに設定するための伝送パラメータを用いて、当該映像信号に対して前記所定の受信処理を行う、ことを特徴とする無線伝送システム。
続きを表示(約 1,300 文字)
【請求項2】
請求項1に記載の無線伝送システムにおいて、
前記基地局側装置は、さらに、
映像のシーンに応じて、前記複数のカメラのうち前記OAタリーのカメラ及び前記NEXTタリーのカメラを時系列に指定する台本制御に従って、前記OAタリーのカメラに関する情報及び前記NEXTタリーのカメラに関する情報を含むタリー信号情報を生成する台本制御装置を備え、
前記基地局側送受信処理部は、
前記台本制御装置により生成された前記タリー信号情報に基づいて、前記複数のカメラのそれぞれについての前記タリー信号フラグを生成する、ことを特徴とする無線伝送システム。
【請求項3】
請求項2に記載の無線伝送システムにおいて、
前記基地局側装置は、さらに基地局側記憶部を備え、前記複数の端末側装置のそれぞれは、さらに端末側記憶部を備え、
前記基地局側記憶部及び前記端末側記憶部のそれぞれには、前記第1の伝送レートに設定するための伝送パラメータとして、第1の圧縮率、第1の符号化率、第1の変調多値数、及びTDD(時分割複信)方式におけるダウンリンクに対するアップリンクのスロット数の割合を含む第1のフレーム構成の情報、並びに、前記第2の伝送レートに設定するための伝送パラメータとして、第2の圧縮率、第2の符号化率、第2の変調多値数、及び第2のフレーム構成の情報が格納されており、
前記端末側送受信処理部は、
前記タリー信号フラグが前記OAタリー及び前記NEXTタリーのいずれかを示している場合、前記端末側記憶部から前記第1の圧縮率、前記第1の符号化率、前記第1の変調多値数及び前記第1のフレーム構成の情報の伝送パラメータを読み出し、これらの伝送パラメータを用いて、前記対応するカメラの映像信号に対して前記所定の送信処理を行い、
前記タリー信号フラグが前記非タリーを示している場合、前記端末側記憶部から前記第2の圧縮率、前記第2の符号化率、前記第2の変調多値数及び前記第2のフレーム構成の情報の伝送パラメータを読み出し、これらの伝送パラメータを用いて、前記対応するカメラの映像信号に対して前記所定の送信処理を行い、
前記基地局側送受信処理部は、
前記複数の映像信号のそれぞれについて、当該映像信号に対応するカメラの前記タリー信号フラグが前記OAタリー及び前記NEXTタリーのいずれかを示している場合、前記基地局側記憶部から前記第1の圧縮率、前記第1の符号化率、前記第1の変調多値数及び前記第1のフレーム構成の情報の伝送パラメータを読み出し、これらの伝送パラメータを用いて、当該映像信号に対して前記所定の受信処理を行い、
当該映像信号に対応するカメラの前記タリー信号フラグが前記非タリーを示している場合、前記基地局側記憶部から前記第2の圧縮率、前記第2の符号化率、前記第2の変調多値数及び前記第2のフレーム構成の情報の伝送パラメータを読み出し、これらの伝送パラメータを用いて、当該映像信号に対して前記所定の受信処理を行う、ことを特徴とする無線伝送システム。
発明の詳細な説明
【技術分野】
【0001】
本発明は、複数のカメラ、カメラの映像信号を送信する複数の端末側装置、及び複数の端末側装置から送信された映像信号を受信して1つの映像信号を選択する基地局側装置からなる無線伝送システムに関する。
続きを表示(約 1,400 文字)
【背景技術】
【0002】
放送番組の制作現場では、複数のカメラにより撮影されたそれぞれの映像を、ビデオスイッチャー等で切り替えながら番組を製作している。多くの場合、カメラから出力された映像信号は、カメラケーブルを介して有線回線にてビデオスイッチャーまで送信されるが、機動性及び安全面を考慮してワイヤレスカメラが用いられる場合もある。
【0003】
ワイヤレスカメラを用いた無線伝送システムの例として、高精細映像をリアルタイムに伝送するシステムが開示されている(例えば非特許文献1を参照)。
【0004】
この非特許文献1には、ローカル5Gを活用したケーブルレス演出システムにおいて、複数のカメラの映像信号を伝送する実証実験により得られた有用性について記載されている。
【先行技術文献】
【非特許文献】
【0005】
“ローカル5Gを活用したケーブルレス演出システム”、[online]、株式会社NHKエンタープライズ、[令和5年6月7日検索]、インターネット<URL:https://www.nhk-ep.co.jp/wp-content/themes/nep-202107/assets/data/nep-expo/catalog/local5g.pdf>
【発明の概要】
【発明が解決しようとする課題】
【0006】
例えば、1台の基地局側装置に対して複数の端末側装置(それぞれの端末側装置にはワイヤレスカメラが接続されている。)が接続される無線伝送システムにおいては、伝送レートのトータルスループットからカメラの台数を除算し、これにより得られる伝送レートが1台の端末側装置(カメラ)に割り当てられる。このため、1台の端末側装置あたりの映像の品質は、端末側装置の台数に応じて低下してしまう。
【0007】
この場合、例えば特定の端末側装置に対して割り当てる伝送レートを事前に調整することで、映像の品質の低下を抑えることができる。しかし、基地局側装置に備えたビデオスイッチャーが、特定の端末側装置から他の端末側装置に映像を切り替える場合に、映像の画質差が生じてしまうため、番組制作の意図に適さないものになってしまう。
【0008】
また、カメラの台数を減らすことにより、1台あたりの端末側装置に対して割り当てる伝送レートを高くすることで、映像の品質の低下を抑えることができる。しかし、この場合も、番組制作の意図に適さないものになってしまう可能性がある。
【0009】
ここで、ビデオスイッチャーにより選択されるカメラの映像、いわゆる本線映像と呼ばれるOA(オンエアー)タリーの映像の伝送レートのみを上げて伝送し、それ以外の映像については低レートで伝送することにより、画質差の生じない映像の切り替えを実現できることが期待される。
【0010】
つまり、トータルスループットが予め設定された無線伝送システムにおいて、複数のワイヤレスカメラを使用する場合、伝送レートを均等配分すると1台あたりの画質が低下してしまうという問題を、伝送レートを制御することで解決できるものと期待される。
(【0011】以降は省略されています)
この特許をJ-PlatPat(特許庁公式サイト)で参照する
関連特許
WHISMR合同会社
収音装置
20日前
キヤノン株式会社
撮像装置
1か月前
アイホン株式会社
電気機器
14日前
株式会社リコー
画像形成装置
1か月前
株式会社リコー
画像形成装置
1か月前
キヤノン電子株式会社
画像読取装置
21日前
個人
ワイヤレスイヤホン対応耳掛け
12日前
キヤノン株式会社
撮像システム
14日前
沖電気工業株式会社
画像形成装置
2日前
パテントフレア株式会社
超高速電波通信
28日前
大日本印刷株式会社
写真撮影装置
13日前
株式会社松平商会
携帯機器カバー
23日前
株式会社小糸製作所
画像照射装置
29日前
国立大学法人電気通信大学
小型光学装置
1か月前
株式会社JVCケンウッド
スピーカ
21日前
日本無線株式会社
無線通信システム
6日前
日本無線株式会社
無線通信システム
23日前
株式会社国際電気
遠隔監視システム
29日前
株式会社大林組
監視システム
1か月前
日本無線株式会社
無線通信システム
1か月前
日本放送協会
広視野角撮像装置
2日前
日本放送協会
広視野角撮像装置
2日前
トヨタ自動車株式会社
通信装置
29日前
株式会社セガ
写真シール作成機
23日前
株式会社村田製作所
高周波回路
1か月前
日本信号株式会社
可視光通信システム
2日前
株式会社デンソー
装置及び方法
21日前
キヤノン株式会社
電子機器
6日前
株式会社デンソー
装置および方法
28日前
株式会社デンソー
通信装置
28日前
株式会社デンソー
装置および方法
28日前
株式会社国際電気
カメラシステム
14日前
株式会社東芝
放送バンクシステム
2日前
パテントフレア株式会社
超高速光(信号)通信
28日前
キヤノン株式会社
電子機器
6日前
キヤノン株式会社
撮像装置
23日前
続きを見る
他の特許を見る