TOP
|
特許
|
意匠
|
商標
特許ウォッチ
Twitter
他の特許を見る
公開番号
2025140697
公報種別
公開特許公報(A)
公開日
2025-09-29
出願番号
2024040242
出願日
2024-03-14
発明の名称
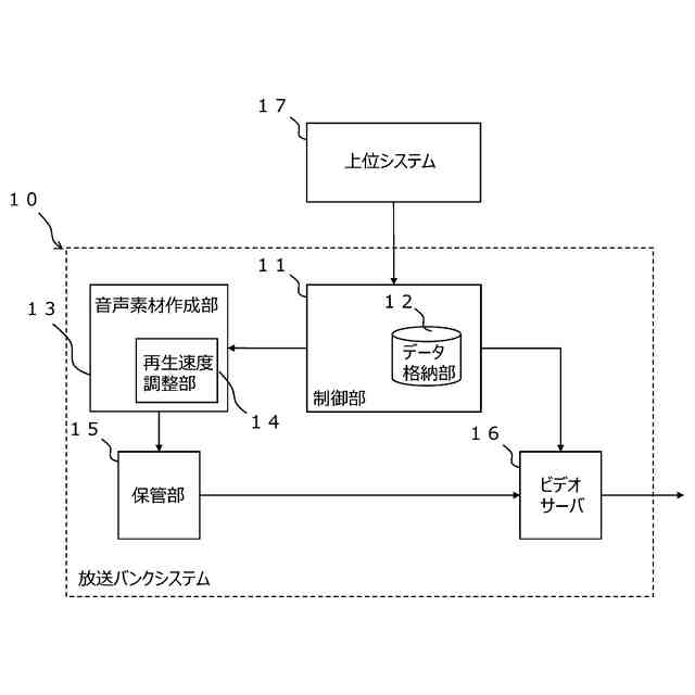
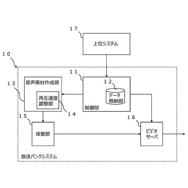
放送バンクシステム
出願人
株式会社東芝
代理人
個人
,
個人
主分類
H04N
5/222 20060101AFI20250919BHJP(電気通信技術)
要約
【課題】従来の放送バンクシステムでは、番組提供スポンサーに関する音声素材のファイリングにおいて、局内のアナウンサーが番組提供スポンサーの紹介のコメントを読み上げて、それを録音することで音声素材を作成している。番組ごとにスポンサーは異なるため、番組ごとに局内アナウンサーによる読み上げ、録音が必要となり作業性に課題がある。
【解決手段】実施形態に係る放送バンクシステムは、放送局に設けられ、上位システムからの指示データに基づいて素材を作成して送出する放送バンクシステムであって、前記指示データを格納するデータ格納部と、前記制御部の指示に基づいて、音声素材の作成を指示する制御部と、前記データ格納部に格納された指示データに基づいて、音声素材を作成する音声素材作成部と、前記音声素材作成部によって作成された音声素材を保管する保管
部とを備える。
【選択図】図1
特許請求の範囲
【請求項1】
放送局に設けられ、上位システムからの指示データに基づいて素材を作成して送出する
放送バンクシステムであって、
前記指示データを格納するデータ格納部と、
前記データ格納部に格納された指示データに基づいて、音声素材の作成を指示する制御
部と、
前記制御部の指示に基づいて、音声素材を作成する音声素材作成部と、
前記音声素材作成部によって作成された音声素材を保管する保管部と、
を備えた放送バンクシステム。
続きを表示(約 640 文字)
【請求項2】
前記音声素材作成部が、前記データ格納部に格納された指示データに含まれるテキスト
データから音声素材を作成する、
請求項1に記載の放送バンクシステム。
【請求項3】
前記データ格納部に格納された指示データに含まれる音声素材の再生速度の指示に基づ
いて音声素材の再生速度を調整する再生速度調整部、
を更に備えた請求項1又は請求項2に記載の放送バンクシステム。
【請求項4】
前記再生速度調整部は、前記指示データに含まれるセンテンス毎の文字数と秒数とにより
、音声素材の再生速度を調整して自動的に音声ファイルを作成する、
請求項3に記載の放送バンクシステム。
【請求項5】
前記音声素材作成部は、前記指示データに含まれる音声素材コードを取得して、同一の
音声素材コードが付与された解析済みの声を選択して音声素材を作成する、
請求項3に記載の放送バンクシステム。
【請求項6】
前記音声素材が番組提供スポンサーに関する音声素材である、
請求項3に記載の放送バンクシステム。
【請求項7】
前記制御部が、前記上位システムからの指示データに基づく放送スケジュールに沿って
、前記音声素材作成部によって作成された音声素材を読み出し、番組素材と合成する、
請求項1又は請求項2に記載の放送バンクシステム。
発明の詳細な説明
【技術分野】
【0001】
本発明の実施形態は、放送バンクシステムに関する。
続きを表示(約 1,600 文字)
【背景技術】
【0002】
従来、民放テレビ放送局では番組提供スポンサーの紹介において、スポンサーになって
いる企業のロゴ素材(静止画または動画)を番組素材(映像素材)にオーバーラップさせ
て放送している。「ここからの放送は御覧のスポンサーの提供でお送りします」等の、C
M(Commercial Message)提供スポンサーの紹介の音声素材についても上記同様に、番組
素材(映像素材)にオーバーラップさせて送出を行っている。
【0003】
上述した音声素材については、各民放テレビ放送局自社のアナウンサーが提供コメントを
読み上げて、その録音を行い、録音した音声データをWAVEファイル等の音声ファイル
に変換して、保存及び送出用のビデオサーバに収録する方法が一般的である。最終的には
映像素材と音声素材を再生してOA(On Air)送出が行われる。
【0004】
また、民放テレビ放送局では、放送システムに放送用番組素材、CM素材、VAF(Vide
o Audio File)素材を管理する放送バンクシステムを採用している。放送用番組素材、C
M素材、VAF素材を蓄積及び送出する放送バンクシステムのデータベースには、上位シ
ステムである営業放送システム(以下、営放システムという)から指示されたファイリン
グデータが格納されている。VAF素材の音声素材のファイリングデータにおいて、営放
システムから提供コメントを指定することが可能である。従来は、番組提供スポンサーの
紹介の音声素材を録音する際にファイリングデータで指定された提供コメントを確認しな
がら、局内のアナウンサーが原稿を読んで録音を行っている。
【先行技術文献】
【特許文献】
【0005】
特許第7203259号公報
【発明の概要】
【発明が解決しようとする課題】
【0006】
従来の放送バンクシステムでは、上述したように、番組提供スポンサーの紹介の音声素材
のファイリングにおいて、局内のアナウンサーが提供コメントを読み上げて、それを録音
することで音声素材を作成している。番組ごとにスポンサーは異なるため、番組ごとに局
内アナウンサーによる読み上げ、録音が必要となり作業性に課題がある。
【0007】
特許文献1には、CM素材のファイリング作業時のCM確認コードの照合を容易に実行可
能とし、CM素材の照合をアプリケーションソフトによって自動的にチェックを行うこと
のできる放送用CM素材バンクシステムについて記載がある。
【課題を解決するための手段】
【0008】
上記課題を解決するために、実施形態に係る放送バンクシステムは、放送局に設けられ、
上位システムからの指示データに基づいて素材を作成して送出する放送バンクシステムで
あって、前記指示データを格納するデータ格納部と、前記データ格納部に格納された指示
データに基づいて、音声素材の作成を指示する制御部と、前記制御部の指示に基づいて、
音声素材を作成する音声素材作成部と、前記音声素材作成部によって作成された音声素材
を保管する保管部とを備える。
【図面の簡単な説明】
【0009】
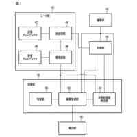
実施形態に係る放送バンクシステムのブロック図。
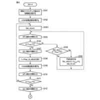
実施形態に係る放送バンクシステムのフローチャート。
実施形態に係る音声素材作成部13の再生速度調整部の一例。
【発明を実施するための形態】
【0010】
以下、図面を参照して発明を実施するための実施形態について説明する。
(【0011】以降は省略されています)
この特許をJ-PlatPat(特許庁公式サイト)で参照する
関連特許
株式会社東芝
モータ
1日前
株式会社東芝
センサ
6日前
株式会社東芝
センサ
6日前
株式会社東芝
金型構造
6日前
株式会社東芝
吸音装置
1日前
株式会社東芝
半導体装置
13日前
株式会社東芝
半導体装置
3日前
株式会社東芝
半導体装置
3日前
株式会社東芝
半導体装置
3日前
株式会社東芝
半導体装置
3日前
株式会社東芝
半導体装置
3日前
株式会社東芝
半導体装置
3日前
株式会社東芝
半導体装置
3日前
株式会社東芝
ディスク装置
3日前
株式会社東芝
ディスク装置
3日前
株式会社東芝
電子デバイス
1日前
株式会社東芝
電子デバイス
1日前
株式会社東芝
熱電変換装置
1日前
株式会社東芝
電子デバイス
1日前
株式会社東芝
磁気ディスク装置
3日前
株式会社東芝
磁気ディスク装置
1日前
株式会社東芝
放送バンクシステム
3日前
株式会社東芝
電解装置及び電解方法
7日前
株式会社東芝
システム及び処理装置
3日前
株式会社東芝
電流センサ及び測定装置
3日前
株式会社東芝
ケミカルセンサシステム
13日前
株式会社東芝
ケミカルセンサモジュール
3日前
株式会社東芝
信号出力回路及び集積回路
3日前
株式会社東芝
ウエーハ及びその製造方法
13日前
株式会社東芝
磁気ヘッド及び磁気記録装置
3日前
株式会社東芝
パワー半導体のばらつき補正
7日前
株式会社東芝
二酸化炭素吸収放出デバイス
1日前
株式会社東芝
ジャイロセンサ及び復調回路
1日前
株式会社東芝
ディスク装置、および記録方法
3日前
株式会社東芝
音響制御装置及び音響制御方法
1日前
株式会社東芝
吸音装置及び音響メタマテリアル
1日前
続きを見る
他の特許を見る