TOP
|
特許
|
意匠
|
商標
特許ウォッチ
Twitter
他の特許を見る
公開番号
2025134158
公報種別
公開特許公報(A)
公開日
2025-09-17
出願番号
2024031888
出願日
2024-03-04
発明の名称
カメラシステム
出願人
株式会社国際電気
代理人
個人
,
個人
主分類
H04N
23/65 20230101AFI20250909BHJP(電気通信技術)
要約
【課題】カメラが設置された環境で停電が発生した場合においても、安定して映像を供給する。
【解決手段】全体制御部は、カメラの環境に異常が発生したかを判定する(S2)。ここで判定される異常とは、第1電源部に入力する商用交流電力が遮断されたこと(停電)である。異常があると認識された場合(S2:Yes)には、電源部において電源を第1電源部から第2電源部に切り替える(S3)。次に、通信部で使用するインターフェースを、有線通信インターフェース部から無線LANインターフェースに切り替える(S4)。また、映像信号の送信先を、映像蓄積サーバに設定し、この映像信号を映像蓄積サーバで記憶させる(S5)。次に、カメラ本体制御部による制御を、異常モード下におけるものに切り替える(S6)。これにより、撮像制御部は、撮像素子の感度を、照明がないと設定した場合に対応するように、大きく設定する。
【選択図】図3
特許請求の範囲
【請求項1】
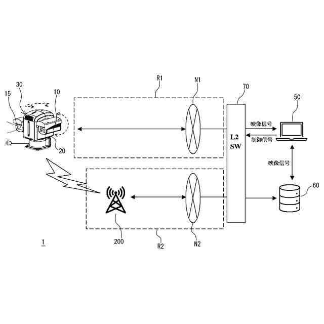
所定の場所に設置されたカメラと、前記カメラから離間した箇所で前記カメラから映像信号を受信する操作端末と、がネットワークを介して接続されたカメラシステムであって、
前記カメラの電源として、商用交流電源を用いた第1電源部と、電池を用いた第2電源部と、が切り替えて使用可能とされ、
前記カメラが設置された環境で停電が発生していないと認識された状況では、前記電源として前記第1電源部が使用され、
前記カメラが設置された環境で停電が発生したと認識された状況では、
前記電源として前記第2電源部が使用され、
かつ、前記カメラが設置された環境で停電が発生していない状況よりも、前記カメラにおける感度を高める制御、及び前記映像信号のフレームレートを低くする制御が行われることを特徴とするカメラシステム。
続きを表示(約 700 文字)
【請求項2】
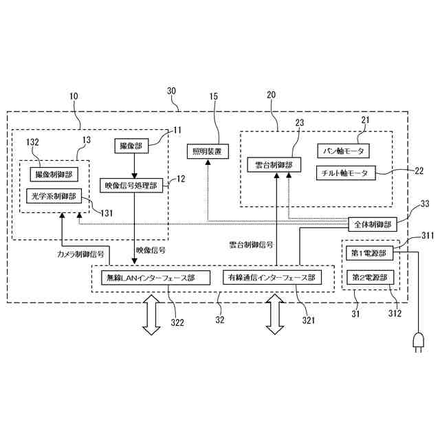
前記カメラは、前記カメラの視野方向を制御する雲台に固定され、
前記カメラが設置された環境で停電が発生していないと認識された状況では、前記雲台は前記操作端末からの制御信号に応じて駆動され、かつ駆動が行われない状態では、前記雲台には駆動される際の電力よりも小さな待機電力が供給され、
前記カメラが設置された環境で停電が発生したと認識された状況では、駆動が行われない状態における前記待機電力が切断されることを特徴とする請求項1に記載のカメラシステム。
【請求項3】
前記ネットワークとして、有線ネットワークである第1ネットワークと、無線ネットワークである第2ネットワークと、が切り替えて使用可能とされ、
前記カメラが設置された環境で停電が発生していないと認識された状況では、前記ネットワークとして前記第1ネットワークが使用され、
前記カメラが設置された環境で停電が発生したと認識された状況では、前記ネットワークとして前記第2ネットワークが使用されることを特徴とする請求項1又は2に記載のカメラシステム。
【請求項4】
前記映像信号を記憶する映像蓄積サーバを具備し、
前記カメラが設置された環境で停電が発生していないと認識された状況では、前記映像信号は前記ネットワークを介して前記映像蓄積サーバには直接送信されず、
前記カメラが設置された環境で停電が発生したと認識された状況では、前記映像信号は前記ネットワークを介して前記映像蓄積サーバに直接送信されることを特徴とする請求項1又は2に記載のカメラシステム。
発明の詳細な説明
【技術分野】
【0001】
本発明は、ネットワークを介して映像信号が送信されるカメラシステムに関する。
続きを表示(約 2,100 文字)
【背景技術】
【0002】
例えば防災用のカメラシステムにおいては、所定の場所に設置されたカメラからの映像が、ネットワークを介して遠隔した場所にあるサーバや端末に送信される。また、カメラの制御(例えば視野方向の制御)も、このサーバや端末側から制御される。この際、監視は継続的に行われることが要求されるため、カメラ側で障害が発生した場合において、これに自動的に対処するカメラシステムが用いられている。
【0003】
例えば、特許文献1には、カメラ側で停電が発生した場合に、その電源を非常用電源に切り替えると共に、記録される映像のフレームレートを高めることにより特に停電時における監視能力を高めるカメラシステムが記載されている。また、特許文献2には、同様の場合において、カメラの動作(例えば旋回動作)をより消費電力が小さな節電モードに切り替え、非常用電源を用いた場合でも安定して映像を供給するカメラシステムが記載されている。
【先行技術文献】
【特許文献】
【0004】
特開2011-182016号公報
特開2018-088579号公報
【発明の開示】
【発明が解決しようとする課題】
【0005】
特許文献1、2に記載の技術においては、停電が発生した場合における動作が規定された。しかしながら、一般的には、災害発生時に遮断されるのはカメラへの電源供給だけではない。例えば、カメラが設置された場所における照明も停電と同時に停止する場合が多く、この場合には、上記の技術によっても、安定して映像を供給することができなかった。このため、特許文献1、2に記載の技術によっても、停電が発生した場合において、充分に安定して映像を供給することは困難であった。
【0006】
このため、カメラが設置された環境で停電が発生した場合においても、安定して映像を供給することができるカメラシステムが望まれた。
【0007】
本発明は、このような状況に鑑みなされたもので、上記課題を解決することを目的とする。
【課題を解決するための手段】
【0008】
本発明は、所定の場所に設置されたカメラと、前記カメラから離間した箇所で前記カメラから映像信号を受信する操作端末と、がネットワークを介して接続されたカメラシステムであって、前記カメラの電源として、商用交流電源を用いた第1電源部と、電池を用いた第2電源部と、が切り替えて使用可能とされ、前記カメラが設置された環境で停電が発生していないと認識された状況では、前記電源として前記第1電源部が使用され、前記カメラが設置された環境で停電が発生したと認識された状況では、前記電源として前記第2電源部が使用され、かつ、前記カメラが設置された環境で停電が発生していない状況よりも、前記カメラにおける感度を高める制御、及び前記映像信号のフレームレートを低くする制御が行われる。
前記カメラは、前記カメラの視野方向を制御する雲台に固定され、前記カメラが設置された環境で停電が発生していないと認識された状況では、前記雲台は前記操作端末からの制御信号に応じて駆動され、かつ駆動が行われない状態では、前記雲台には駆動される際の電力よりも小さな待機電力が供給され、前記カメラが設置された環境で停電が発生したと認識された状況では、駆動が行われない状態における前記待機電力が切断されてもよい。
前記ネットワークとして、有線ネットワークである第1ネットワークと、無線ネットワークである第2ネットワークと、が切り替えて使用可能とされ、前記カメラが設置された環境で停電が発生していないと認識された状況では、前記ネットワークとして前記第1ネットワークが使用され、前記カメラが設置された環境で停電が発生したと認識された状況では、前記ネットワークとして前記第2ネットワークが使用されてもよい。
前記映像信号を記憶する映像蓄積サーバを具備し、前記カメラが設置された環境で停電が発生していないと認識された状況では、前記映像信号は前記ネットワークを介して前記映像蓄積サーバには直接送信されず、前記カメラが設置された環境で停電が発生したと認識された状況では、前記映像信号は前記ネットワークを介して前記映像蓄積サーバに直接送信されてもよい。
【発明の効果】
【0009】
本発明によれば、カメラが設置された環境で停電が発生した場合においても、安定して映像を供給することができるカメラシステムを得ることができる。
【図面の簡単な説明】
【0010】
実施の形態に係るカメラシステムの構成を示す図である。
実施の形態に係るカメラシステムにおけるカメラの構成を示す図である。
実施の形態に係るカメラシステムにおける停電時の動作の例を示すフローチャートである。
【発明を実施するための形態】
(【0011】以降は省略されています)
この特許をJ-PlatPat(特許庁公式サイト)で参照する
関連特許
株式会社国際電気
カメラシステム
14日前
株式会社国際電気
給油監視システム
5日前
株式会社国際電気
給油監視システム
22日前
株式会社国際電気
放送システム及び放送方法
2日前
株式会社国際電気通信基礎技術研究所
通信装置、受信方法、及びプログラム
2日前
株式会社国際電気
監視システムおよび監視システムの制御方法
12日前
株式会社国際電気
駅ホーム監視システム及び駅ホーム監視方法
22日前
株式会社国際電気通信基礎技術研究所
親局装置、端末装置、無線通信方法、及びプログラム
2日前
株式会社国際電気通信基礎技術研究所
ヘルメット、脳磁図計測システム、情報取得装置、情報取得方法、およびプログラム
14日前
ENEOS株式会社
燃料供給所管理システム
6日前
株式会社国際電気通信基礎技術研究所
推定装置、それを備える無線通信システム、それを備える推定システムおよびコンピュータに実行させるためのプログラム
1日前
個人
音響装置
4か月前
個人
店内配信予約システム
2か月前
サクサ株式会社
中継装置
2か月前
WHISMR合同会社
収音装置
20日前
日本無線株式会社
音声通信方式
4か月前
日本精機株式会社
車両用表示装置
4か月前
アイホン株式会社
電気機器
14日前
キヤノン株式会社
電子機器
2か月前
キヤノン株式会社
通信装置
4か月前
キヤノン株式会社
撮像装置
3か月前
キヤノン株式会社
撮像装置
1か月前
ヤマハ株式会社
信号処理装置
3か月前
個人
ワイヤレスイヤホン対応耳掛け
12日前
日本精機株式会社
画像投映システム
2か月前
キヤノン電子株式会社
画像読取装置
21日前
株式会社リコー
画像形成装置
1か月前
電気興業株式会社
無線中継器
3か月前
株式会社リコー
画像形成装置
1か月前
キヤノン電子株式会社
モバイル装置
2か月前
キヤノン電子株式会社
画像読取装置
4か月前
株式会社リコー
画像形成装置
1か月前
個人
補聴器のイヤピース耳穴挿入具
4か月前
キヤノン株式会社
撮影システム
4か月前
キヤノン株式会社
画像表示装置
3か月前
キヤノン株式会社
撮像システム
14日前
続きを見る
他の特許を見る