TOP
|
特許
|
意匠
|
商標
特許ウォッチ
Twitter
他の特許を見る
公開番号
2025027094
公報種別
公開特許公報(A)
公開日
2025-02-26
出願番号
2024208544,2024506223
出願日
2024-11-29,2023-07-28
発明の名称
プレス装置
出願人
株式会社アルファーシステム
代理人
個人
,
個人
主分類
B30B
1/34 20060101AFI20250218BHJP(プレス)
要約
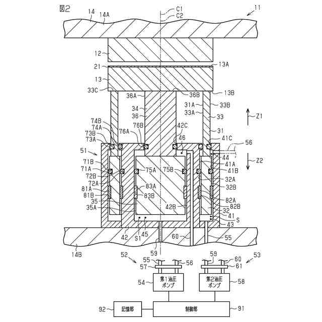
【課題】積層工程において、ワークを精度よく圧着できるプレス装置を提供する。
【解決手段】ワーク21をプレスするプレス装置11であって、第1型12と、第1型12に対して移動する第2型13と、第2型13を移動させる筒体のピストン31と、ピストン31と協働して第2型13を移動させる筒体または柱体の第1追加ピストン34と、を備え、ピストン31は、第2型に接触する面であって、第2型13を押す環状、かつ、1つの押圧面33Cと、第1中心軸心C1と、第1中心軸心C1に沿う方向に延びる第1貫通孔31Aと、を有し、第1追加ピストン34は、第1中心軸心C1と同軸の第2中心軸心C2と、第2型13に接触する面であって、第2型13を押す第1追加押圧面36Bと、を有し、かつ、第1貫通孔31A内に配置される。
【選択図】図2
特許請求の範囲
【請求項1】
ワークをプレスするプレス装置であって、
第1型と、
前記第1型に対して移動する第2型と、
前記第2型を移動させる筒体のピストンと、前記ピストンと協働して前記第2型を移動させる筒体または柱体の第1追加ピストンと、を備え、
前記ピストンは、前記第2型に接触する面であって、前記第2型を押す環状、かつ、1つの押圧面と、第1中心軸心と、前記第1中心軸心に沿う方向に延びる第1貫通孔と、を有し、
前記第1追加ピストンは、前記第1中心軸心と同軸の第2中心軸心と、前記第2型に接触する面であって、前記第2型を押す第1追加押圧面と、を有し、かつ、前記第1貫通孔内に配置される、
プレス装置。
続きを表示(約 1,400 文字)
【請求項2】
前記ピストンおよび前記第1追加ピストンのうちの一方は、前記第2型に固定され、
前記ピストンおよび前記第1追加ピストンのうちの他方は、前記第2型に対して移動可能である、
請求項1に記載のプレス装置。
【請求項3】
前記ピストンと、前記第1追加ピストンと、を互いに独立に移動させる油圧装置をさらに備える、
請求項2に記載のプレス装置。
【請求項4】
前記ピストンを支持するシリンダと、
前記第1追加ピストンを支持する第1追加シリンダと、をさらに備え、
前記油圧装置は、前記第2型が前記第1型に近づく第1方向に移動するように、前記シリンダ内において前記ピストンを移動させる第1油圧系と、前記第2型が前記第1方向に移動するように、前記第1追加シリンダ内において前記第1追加ピストンを移動させる第2油圧系と、を有する、
請求項3に記載のプレス装置。
【請求項5】
前記ピストンと、前記第1追加ピストンと、を付勢する付勢装置をさらに備え、
前記付勢装置は、前記第2型が前記第1型から離れる第2方向に移動するように、前記シリンダ内において前記ピストンを付勢する第1付勢部と、前記第2型が前記第2方向に移動するように、前記第1追加シリンダ内において前記第1追加ピストンを付勢する第2付勢部と、を有する、
請求項4に記載のプレス装置。
【請求項6】
前記油圧装置を制御する制御部をさらに備え、
前記制御部は、ワークの加圧時に、前記ピストンおよび前記第1追加ピストンのうちの一方の加圧タイミングが、前記ピストンおよび前記第1追加ピストンのうちの他方の加圧タイミングと異なるように、前記油圧装置を制御する、
請求項4または5に記載のプレス装置。
【請求項7】
前記ピストンおよび前記第1追加ピストンと協働して前記第2型を移動させる第2追加ピストンをさらに備え、
前記第2追加ピストンは、筒体であり、かつ、前記第1中心軸心および前記第2中心軸心と同軸の第3中心軸心と、前記第3中心軸心に沿う方向に延びる第2貫通孔と、を有し、
前記ピストンおよび前記第1追加ピストンは、前記第2貫通孔内に配置される、
請求項4に記載のプレス装置。
【請求項8】
前記ピストン、前記第1追加ピストン、および、前記第2追加ピストンのうちの1つは、前記第2型に固定され、
前記ピストン、前記第1追加ピストン、および、前記第2追加ピストンのうちの残りの2つは、前記第2型に対して移動可能である、
請求項7に記載のプレス装置。
【請求項9】
前記油圧装置は、前記ピストンと、前記第1追加ピストンと、前記第2追加ピストンと、を互いに独立に移動させるように構成され、
前記油圧装置を制御するように構成される制御部をさらに備え、
前記制御部は、ワークの加圧時に、前記ピストン、前記第1追加ピストン、および、前記第2追加ピストンのうちの1つの加圧タイミングが、前記ピストン、前記第1追加ピストン、および、前記第2追加ピストンのうちの残りの2つの加圧タイミングと異なるように、前記油圧装置を制御するように構成される、
請求項8に記載のプレス装置。
発明の詳細な説明
【技術分野】
【0001】
本開示は、プレス装置に関する。
続きを表示(約 1,200 文字)
【背景技術】
【0002】
プレス装置は、積層型電子部品を製造する積層機を含む。例えば、特許文献1に記載のプレス装置は、プレスによってフィルム状樹脂材を積層する。また、プレス装置は、積層型コンデンサの製造工程において、セラミックグリーンシートを積層する積層機として構成される。これらプレス装置は、ピストンを備える。
【先行技術文献】
【特許文献】
【0003】
特開2008-12918号公報
【発明の概要】
【発明が解決しようとする課題】
【0004】
ピストンの推力が中央部に集中する場合、ワークに接触するプレステーブルに撓みが生じるおそれがある。
プレス装置は、積層工程において、ワークを精度よく圧着できることが好ましい。
【課題を解決するための手段】
【0005】
(1)上記課題を解決するプレス装置は、ワークをプレスするプレス装置であって、第1型と、前記第1型に対して移動する第2型と、前記第2型を移動させるピストンと、を備え、前記ピストンは、前記第2型を押す環状の押圧面を有する。
【0006】
この構成によれば、第2型の中央にピストンの推力が集中することを抑制できる。したがって、プレス装置は、ワークを精度よく圧着できる。
【0007】
(2)上記(1)のプレス装置において、前記ピストンは、筒体である。この構成によれば、第2型の中央にピストンの推力が集中することを抑制できる。また、ピストンが筒体である場合、ピストンは、ピストン内周面と、ピストン外周面と、を有する。このため、ピストン内周面でピストンをガイドできるとともに、ピストン外周面でピストンをガイドできる。これによって、ピストンの直進性を向上できる。ピストンの直進性の向上によって、ワークの積層精度を向上できる。
【0008】
(3)上記(1)または(2)のプレス装置において、前記ピストンは、第1中心軸心と、前記第1中心軸心に沿う方向に延びる第1貫通孔と、を有し、前記ピストンと協働して前記第2型を移動させる第1追加ピストンをさらに備え、前記第1追加ピストンは、筒体または柱体であり、前記第1中心軸心と同軸の第2中心軸心を有し、かつ、前記第1貫通孔内に配置される。
【0009】
この構成によれば、ピストンおよび第1追加ピストンによって、好適にワークに圧力をかけることができる。
【0010】
(4)上記(3)のプレス装置において、前記ピストンおよび前記第1追加ピストンのうちの一方は、前記第2型に固定され、前記ピストンおよび前記第1追加ピストンのうちの他方は、前記第2型に対して移動可能である。
(【0011】以降は省略されています)
この特許をJ-PlatPat(特許庁公式サイト)で参照する
関連特許
株式会社ヨコオ
製造装置
5か月前
日機装株式会社
加圧装置
6か月前
日機装株式会社
加圧システム
6か月前
株式会社ササキコーポレーション
圧縮装置
7か月前
株式会社ササキコーポレーション
圧縮装置
7か月前
トヨタ紡織株式会社
プレス装置
6か月前
大同工業株式会社
高温成形用金型
4か月前
住友重機械工業株式会社
プレス装置
5か月前
住友重機械工業株式会社
プレス装置
4か月前
日本発條株式会社
加工油供給方法及び装置
3か月前
株式会社石垣
スクリュープレスの外筒スクリーン洗浄方法
3か月前
株式会社ジェイテクトフルードパワーシステム
加圧パンチ装置
4か月前
シージーケー株式会社
プレス装置
7か月前
株式会社西田製作所
工具ヘッドと据置台との組み合わせ
5か月前
個人
プレス機械の往復運動を利用したスクラップ搬送装置
7か月前
いすゞ自動車株式会社
成形装置
1か月前
株式会社合同資源
金属ヨウ化物錠剤の製造方法
6か月前
株式会社金陽社
熱プレス用緩衝材
1か月前
大同特殊鋼株式会社
連続式真空ホットプレス装置
1か月前
株式会社ディムコ
ガイドユニットを備えるダブルベルトプレス装置
4か月前
トヨタ紡織株式会社
金型装置の下死点把握方法及び金型装置
7か月前
住友重機械工業株式会社
プレス装置及びプレス装置の配管工程
3か月前
トヨタ自動車株式会社
ロールプレス装置
22日前
冨士発條株式会社
プレスシステム、およびトランスファ装置
2か月前
株式会社SGIC
加熱ブロック及びダブルベルトプレス
5か月前
株式会社SGIC
冷却ブロック及びダブルベルトプレス
7か月前
UBEマシナリー株式会社
押出プレス装置の支援システム
3か月前
日伸工業株式会社
プレス加工システム及びプレス加工装置
1日前
株式会社石垣
スクリュープレスにおける目詰まり防止機構及びそれを用いた目詰まり防止方法
5か月前
アイダエンジニアリング株式会社
プレス機械及びプレス機械の操作支援方法
1か月前
株式会社KMC
監視システム、センサープレート及び通信制御ユニット
1か月前
ノリタケ株式会社
ロールコンパクション成形装置およびロールコンパクション成形用搬送装置
15日前
住友重機械工業株式会社
プレス装置、診断装置、プレス装置の健全性診断方法及び健全性診断プログラム
6か月前
フェッテ コンパクティング ゲーエムベーハー
回転式プレス機のペレットをプレス試験する方法。
6か月前
学校法人金沢工業大学
加工機械の制御方法、加工機械の制御装置及び制御プログラム
5か月前
コマツ産機株式会社
プレス機械の金型用の予知保全システム及び予知保全のための方法
26日前
続きを見る
他の特許を見る