TOP
|
特許
|
意匠
|
商標
特許ウォッチ
Twitter
他の特許を見る
公開番号
2025030223
公報種別
公開特許公報(A)
公開日
2025-03-07
出願番号
2023135325
出願日
2023-08-23
発明の名称
冷却ブロック及びダブルベルトプレス
出願人
株式会社SGIC
代理人
個人
,
個人
,
個人
,
個人
主分類
B30B
5/06 20060101AFI20250228BHJP(プレス)
要約
【課題】 冷却ブロック及びベルトの接触面において、熱伝達を効率良く行う。
【解決手段】 冷却ブロック(30a,30b)は、ダブルベルトプレス(1)で用いられ、加熱及び加圧された製品をベルト(13a,13b)を介して冷却する。冷却ブロック(30a,30b)は、複数の供給通路(34)と、回収溝(35)と、排出口(36)とを有する。複数の供給通路(34)は、ベルト(13a,13b)との接触面からベルト(13a,13b)に流体を供給する。回収溝(35)は、接触面において、複数の供給通路(34)が形成された領域を囲む位置に形成され、ベルト(13a,13b)に供給された流体を回収する。排出口(36)は、回収溝(35)に形成されており、回収溝(35)で回収された流体を外部に排出させる。
【選択図】 図2
特許請求の範囲
【請求項1】
ダブルベルトプレスで用いられ、加熱及び加圧された製品をベルトを介して冷却する冷却ブロックであって、
前記ベルトとの接触面から前記ベルトに流体を供給する複数の供給通路と、
前記接触面において、前記複数の供給通路が形成された領域を囲む位置に形成され、前記ベルトに供給された流体を回収する回収溝と、
前記回収溝に形成され、前記回収溝で回収された流体を外部に排出させる排出口と、
を有することを特徴とする冷却ブロック。
続きを表示(約 600 文字)
【請求項2】
前記回収溝は、前記接触面の外縁に沿って形成されていることを特徴とする請求項1に記載の冷却ブロック。
【請求項3】
前記複数の供給通路のうちの一部の供給通路に流体を供給する第1供給室と、
前記第1供給室と隔離されており、前記複数の供給通路のうちの他の供給通路に流体を供給する第2供給室と、
を有することを特徴とする請求項1に記載の冷却ブロック。
【請求項4】
前記第1供給室及び前記第2供給室は、前記ベルトの移動方向に沿って並んで配置されていることを特徴とする請求項3に記載の冷却ブロック。
【請求項5】
前記冷却ブロックは、この内部に形成された冷却流路で冷却媒体を流動させることにより冷却されており、
前記供給通路は、前記冷却流路と干渉しない位置に設けられていることを特徴とする請求項1に記載の冷却ブロック。
【請求項6】
前記排出口は、前記回収溝のうち、前記ベルトの移動方向の最も下流に位置し、前記ベルトの幅方向に延びる下流領域に設けられており、
前記下流領域に沿って配置され、前記ベルトに接触するブラシを有することを特徴とする請求項1に記載の冷却ブロック。
【請求項7】
請求項1から6のいずれか1つに記載の冷却ブロックを有することを特徴とするダブルベルトプレス。
発明の詳細な説明
【技術分野】
【0001】
本発明は、ダブルベルトプレスで用いられる冷却ブロックと、この冷却ブロックを備えたダブルベルトプレスに関する。
続きを表示(約 1,400 文字)
【背景技術】
【0002】
特許文献1には、プレスベルト駆動される工作物に面圧を加える装置であって、加圧板(加熱板又は冷却板)とプレスベルトとの間の作用区域(圧力室)における熱伝達を改善する装置が開示されている。具体的には、圧力室に対して流動性の圧力媒体を供給して渦流を発生させることにより、プレスベルトへの熱の伝達能力を向上させている。
【先行技術文献】
【特許文献】
【0003】
実用新案登録第2500929号公報
【発明の概要】
【発明が解決しようとする課題】
【0004】
特許文献1では、圧力媒体を圧力室に供給するための供給導管と、圧力室から圧力媒体を排出するための排出導管を単に設けているだけであり、このような構造では、加圧板及びプレスベルトの間の熱伝達を効率良く行うことはできない。
【課題を解決するための手段】
【0005】
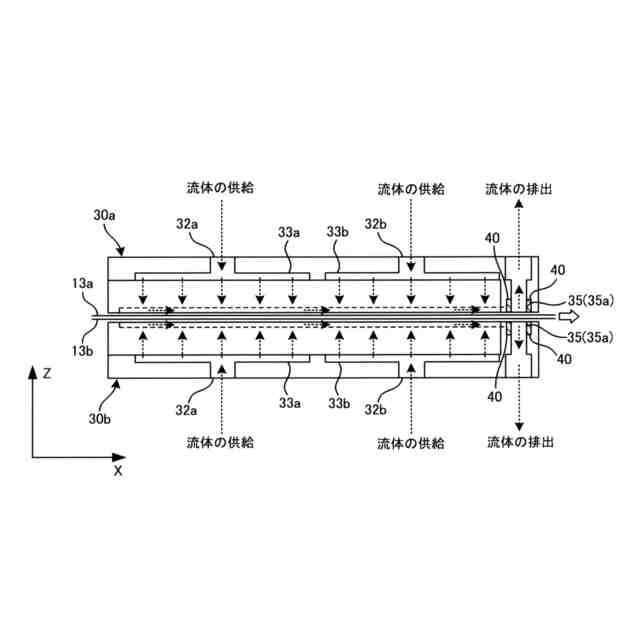
本願第1の発明は、ダブルベルトプレスで用いられ、加熱及び加圧された製品をベルトを介して冷却する冷却ブロックであり、複数の供給通路と、回収溝と、排出口とを有する。複数の供給通路は、ベルトとの接触面からベルトに流体を供給する。回収溝は、接触面において、複数の供給通路が形成された領域を囲む位置に形成され、ベルトに供給された流体を回収する。排出口は、回収溝に形成されており、回収溝で回収された流体を外部に排出させる。
【0006】
回収溝は、接触面の外縁に沿って形成することができる。冷却ブロックには、第1供給室及び第2供給室を設けることができる。第1供給室は、複数の供給通路のうちの一部の供給通路に流体を供給する。第2供給室は、第1供給室と隔離されており、複数の供給通路のうちの他の供給通路に流体を供給する。第1供給室及び第2供給室は、ベルトの移動方向に沿って並んで配置することができる。
【0007】
冷却ブロックは、この内部に形成された冷却流路で冷却媒体を流動させることにより冷却されている。ここで、供給通路は、冷却流路と干渉しない位置に設けることができる。排出口は、回収溝のうち、ベルトの移動方向の最も下流に位置し、ベルトの幅方向に延びる下流領域に設けることができ、ベルトに接触するブラシを回収溝の下流領域に沿って配置することができる。
【0008】
本願第2の発明であるダブルベルトプレスは、本願第1の発明である冷却ブロックを有する。
【発明の効果】
【0009】
本発明によれば、冷却ブロック及びベルトの接触面に対して、複数の供給通路から流体を供給するとともに、複数の供給通路を囲む位置に設けられた回収溝で流体を回収することにより、冷却ブロック及びベルトの接触面において、熱伝達を効率良く行うことができる。
【図面の簡単な説明】
【0010】
ダブルベルトプレスの概略を示す斜視図である。
ベルト側から冷却ブロックを見たときの概略図である。
一対の冷却ブロックの縦断面を示す概略図である。
冷却ブロックの全体における流体の流れを説明する図である。
【発明を実施するための形態】
(【0011】以降は省略されています)
この特許をJ-PlatPat(特許庁公式サイト)で参照する
関連特許
大同工業株式会社
高温成形用金型
4か月前
住友重機械工業株式会社
プレス装置
4か月前
住友重機械工業株式会社
プレス装置
5か月前
日本発條株式会社
加工油供給方法及び装置
3か月前
株式会社石垣
スクリュープレスの外筒スクリーン洗浄方法
3か月前
株式会社ジェイテクトフルードパワーシステム
加圧パンチ装置
4か月前
いすゞ自動車株式会社
成形装置
1か月前
株式会社金陽社
熱プレス用緩衝材
1か月前
大同特殊鋼株式会社
連続式真空ホットプレス装置
1か月前
株式会社ディムコ
ガイドユニットを備えるダブルベルトプレス装置
4か月前
住友重機械工業株式会社
プレス装置及びプレス装置の配管工程
3か月前
トヨタ自動車株式会社
ロールプレス装置
21日前
冨士発條株式会社
プレスシステム、およびトランスファ装置
2か月前
株式会社SGIC
加熱ブロック及びダブルベルトプレス
5か月前
UBEマシナリー株式会社
押出プレス装置の支援システム
3か月前
日伸工業株式会社
プレス加工システム及びプレス加工装置
今日
株式会社石垣
スクリュープレスにおける目詰まり防止機構及びそれを用いた目詰まり防止方法
5か月前
アイダエンジニアリング株式会社
プレス機械及びプレス機械の操作支援方法
1か月前
ノリタケ株式会社
ロールコンパクション成形装置およびロールコンパクション成形用搬送装置
14日前
株式会社KMC
監視システム、センサープレート及び通信制御ユニット
1か月前
学校法人金沢工業大学
加工機械の制御方法、加工機械の制御装置及び制御プログラム
5か月前
コマツ産機株式会社
プレス機械の金型用の予知保全システム及び予知保全のための方法
25日前
株式会社放電精密加工研究所
機械学習装置、情報処理装置、推論装置、機械学習方法、情報処理方法、及び、推論方法
3日前
株式会社JKB
順送プレス加工方法及びその加工システム
1か月前
フェッテ コンパクティング ゲーエムベーハー
回転プレス機でペレットをテストプレスする方法および回転プレス機
5か月前
フェック ライニッシュ ゲゼルシャフト ミット ベシュレンクテル ハフツング
プレス工具及びプレスプレートの製造方法
1か月前
フェック ライニッシュ ゲゼルシャフト ミット ベシュレンクテル ハフツング
プレス工具及びプレスプレートの製造方法
1か月前
アライドコーヒーロースターズ株式会社
ペレット製造装置及びペレットの製造方法
3か月前
株式会社カプコン
プログラム、情報処理方法および情報処理装置
1か月前
株式会社カプコン
プログラム、情報処理方法および情報処理装置
22日前
株式会社カプコン
プログラム、情報処理方法および情報処理装置
22日前
ローム株式会社
時間測定回路
16日前
株式会社カプコン
プログラム、情報処理方法および情報処理装置
22日前
甘李薬業股フン有限公司
インスリン誘導体
今日
セラ セラピューティクス エルエルシー
眼圧降下剤、神経栄養剤、C型ナトリウム利尿ペプチド、ナトリウム利尿ペプチド受容体B、アポトーシスシグナリング断片化阻害剤またはFASリガンド阻害剤を含む、緑内障または高眼圧症を治療するための薬剤送達系
2日前
サノフイ
ヒトのがんを治療するための特異的抗CD38抗体
28日前
続きを見る
他の特許を見る