TOP
|
特許
|
意匠
|
商標
特許ウォッチ
Twitter
他の特許を見る
公開番号
2025056612
公報種別
公開特許公報(A)
公開日
2025-04-08
出願番号
2023166196
出願日
2023-09-27
発明の名称
ドアロック強制解除機構および洗濯機
出願人
青島海爾洗衣机有限公司
,
QINGDAO HAIER WASHING MACHINE CO.,LTD.
,
アクア株式会社
代理人
個人
,
個人
,
個人
主分類
D06F
39/14 20060101AFI20250401BHJP(繊維または類似のものの処理;洗濯;他に分類されない可とう性材料)
要約
【課題】安全性を損なうことなく、使用者の操作性を向上することができるドアロック強制解除機構を提供する。
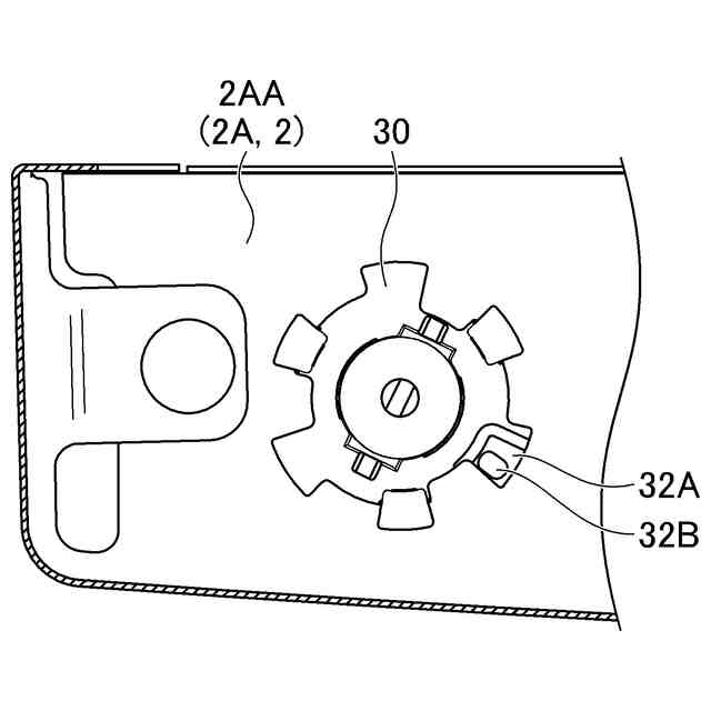
【解決手段】ドアロック強制解除機構20は、筐体2Aの内部に配置されたドアロック機構10のラッチ部材12によるドアロックを強制解除する機構であって、筐体2Aは、ドアロック機構10にアクセスするための開口50を有し、ドアロック強制解除機構20は、使用者によって操作される操作部材30と、筐体2Aの内部に配置され、操作部材30とドアロック機構10のラッチ部材12とを接続する接続部材40とを備える。操作部材30は、筐体2Aの開口50に対して回転方式によって着脱可能であり、筐体2Aの開口50に取り付けられた状態において、開口50を塞ぐ蓋部材として機能し、筐体2Aの開口50から取り外された状態において、接続部材40を介してドアロック機構10の前記ラッチ部材12を引っ張り、ドアロックを強制解除する。
【選択図】図3
特許請求の範囲
【請求項1】
ドアを有する筐体の内部に配置されたドアロック機構のラッチ部材によるドアロックを強制解除するドアロック強制解除機構であって、
前記筐体は、前記ドアロック機構にアクセスするための開口を有し、
前記ドアロック強制解除機構は、
使用者によって操作される操作部材と、
前記筐体の内部に配置され、前記操作部材と前記ドアロック機構の前記ラッチ部材とを接続する接続部材と、
を備え、
前記操作部材は、
前記筐体の前記開口に対して回転方式によって着脱可能であり、
前記筐体の前記開口に取り付けられた状態において、前記開口を塞ぐ蓋部材として機能し、
前記筐体の前記開口から取り外された状態において、前記接続部材を介して前記ドアロック機構の前記ラッチ部材を引っ張り、前記ドアロックを強制解除する、
ドアロック強制解除機構。
続きを表示(約 1,600 文字)
【請求項2】
前記操作部材と前記接続部材とは、嵌合部材を介して着脱可能に接続される、請求項1に記載のドアロック強制解除機構。
【請求項3】
前記操作部材は円板形状を有し、
前記操作部材の周辺部分には、前記筐体の前記開口に回転方式によって嵌合するための少なくとも3つの回転嵌合構造が形成されており、
前記少なくとも3つの回転嵌合構造の各々は、
前記操作部材の主面に沿う第1平板部分と、
前記操作部材の主面に交差する方向にL字形状に突出し、前記操作部材の主面に交差する方向に突出する突出部分と、前記操作部材の主面に沿う平面と対向する第2平板部分とを有する突出平板部分と、
を有し、
前記筐体の前記開口の周囲には、前記操作部材が回転方式によって嵌合するための少なくとも3つの回転被嵌合構造が形成されており、
前記少なくとも3つの回転被嵌合構造の各々は、
前記開口の半径が最も大きく切り欠かれた最大切欠部分と、
前記開口の半径が最も小さく切り欠かれた最小切欠部分と、
前記開口の周囲方向において前記最大切欠部分と前記最小切欠部分との間に位置し、前記開口の半径が前記最大切欠部分の半径よりも小さくかつ前記最小切欠部分の半径よりも大きい中間切欠部分と、
を有し、
前記操作部材が前記筐体の前記開口に回転方式によって取り付けられる場合、
前記突出平板部分が、前記最大切欠部分に嵌合し、
回転により、前記第1平板部分と前記突出平板部分の前記第2平板部分とが、前記中間切欠部分を挟み込み、
前記突出平板部分の前記突出部分が、前記最小切欠部分に当たり、回転が止まる、
請求項1に記載のドアロック強制解除機構。
【請求項4】
前記第1平板部分の主面のうち、前記第2平板部分の主面に沿う平面と対向する側の主面を対向主面とすると、
前記操作部材は、
前記第1平板部分の一部が切り欠かれて、弾性を有する弾性平板部分と、
前記弾性平板部分の前記対向主面に設けられ、曲面を有する第1突起と、
を有し、
前記第1突起は、前記操作部材が前記筐体の前記開口に取り付けられた状態において、前記最大切欠部分に位置する、
請求項3に記載のドアロック強制解除機構。
【請求項5】
前記突出平板部分の前記第2平板部分の主面のうち、前記第1平板部分の主面に沿う平面と対向する側の主面を対向主面とすると、
前記操作部材は、前記突出平板部分の前記第2平板部分の前記対向主面に設けられ、回転方向に次第に小さくなる傾斜を有する第2突起を有し、
前記第2突起は、前記操作部材が前記筐体の前記開口に取り付けられた状態において、前記中間切欠部分に位置する、
請求項3に記載のドアロック強制解除機構。
【請求項6】
前記筐体は、前面に配置された前面板と、前面の前記前面板の下部に配置された下部化粧板とを有し、
前記前面板は、前記下部化粧板よりも前面側に張り出しており、前記下部化粧板の前面側において、設置面から離れた底面を有し、
前記開口は、前記前面板の前記底面に配置されており、
前記操作部材は、前記前面板の前記底面に配置されている、
請求項1に記載のドアロック強制解除機構。
【請求項7】
ドアを有する筐体と、
前記筐体の内部に配置され、制御装置の制御によって自動的に、ラッチ部材による前記ドアのロックおよびロック解除を行うドアロック機構と、
前記ドアロック機構の前記ラッチ部材によるドアロックを機械的に強制解除する、請求項1~6のいずれか1項に記載のドアロック強制解除機構と、
を備える、洗濯機。
発明の詳細な説明
【技術分野】
【0001】
本開示は、ドアロック強制解除機構、および、それを備えた洗濯機に関する。
続きを表示(約 1,600 文字)
【背景技術】
【0002】
例えばドラム式の洗濯機は、安全性の観点で、動作中に自動的にドアをロックするドアロック機能を有する。ドアロック機能は、動作終了後に自動的に解除される。しかし、動作中に停電、故障等の異常が発生した場合に、ドアロック機能が解除されない状態、すなわちドアがロックしたままの状態となることがある。
【0003】
この点に関し、このような洗濯機では、機械的にドアロックを強制解除する機構を備える。例えば、下部化粧板または上部化粧板の内側に、ドアロック機構のラッチ部材に接続された紐または樹脂棒等が設けられる(例えば特許文献1)。或いは、排水フィルタの蓋の内側に、ドアロック機構のラッチ部材に接続された操作機構が設けられる(例えば特許文献2)。これにより、使用者は、紐または樹脂棒等の操作機構を引くことにより、ドアロック機構のラッチ部材をスライドさせ、ドアロックを強制解除することができる。
【先行技術文献】
【特許文献】
【0004】
特開2019-024744号公報
特開2022-148053号公報
【発明の概要】
【発明が解決しようとする課題】
【0005】
ドアロック強制解除機構が例えば下部化粧板の内側に設けられている場合、下部化粧板のねじ等の固定部品を例えばドライバ等の特殊な工具を用いて外す必要があり、安全性が考慮されている半面、使用者の操作性が考慮されていない。また、ドアロック強制解除機構が排水フィルタの蓋の内側に設けられている場合、排水フィルタの蓋を開け、例えばドライバ等の特殊な工具を用いて操作機構を操作する必要があり、安全性が考慮されている半面、使用者の操作性が考慮されていない。
【0006】
本開示は、安全性を損なうことなく、使用者の操作性を向上することができるドアロック強制解除機構および洗濯機を提供することを目的とする。
【課題を解決するための手段】
【0007】
(1)本開示に係るドアロック強制解除機構は、ドアを有する筐体の内部に配置されたドアロック機構のラッチ部材によるドアロックを強制解除するドアロック強制解除機構であって、前記筐体は、前記ドアロック機構にアクセスするための開口を有し、前記ドアロック強制解除機構は、使用者によって操作される操作部材と、前記筐体の内部に配置され、前記操作部材と前記ドアロック機構の前記ラッチ部材とを接続する接続部材とを備える。前記操作部材は、前記筐体の前記開口に対して回転方式によって着脱可能であり、前記筐体の前記開口に取り付けられた状態において、前記開口を塞ぐ蓋部材として機能し、前記筐体の前記開口から取り外された状態において、前記接続部材を介して前記ドアロック機構の前記ラッチ部材を引っ張り、前記ドアロックを強制解除する。
【0008】
本開示に係るドアロック強制解除機構によれば、操作部材は、筐体の開口に取り付けられた状態において、開口を塞ぐ蓋部材として機能する。これにより、安全性(および意匠性)を損なうことがない。
【0009】
また、操作部材は、筐体の開口に対して回転方式によって着脱可能であり、筐体の開口から取り外された状態において、接続部材を介してドアロック機構のラッチ部材を引っ張り、ドアロックを強制解除する。これにより、従来のように、化粧板のねじ等の固定部品を外す作業が必要なく、また、排水フィルタの蓋を開けて操作機構を操作する必要がなく、使用者の操作性を向上することができる。
【0010】
(2)(1)に記載のドアロック強制解除機構において、前記操作部材と前記接続部材とは、嵌合部材を介して着脱可能に接続されてもよい。
(【0011】以降は省略されています)
この特許をJ-PlatPat(特許庁公式サイト)で参照する
関連特許
個人
洗濯装置
1か月前
個人
ハンガー保持具
3か月前
東レ株式会社
繊維断面の検査方法
6日前
株式会社青柳
染め加工方法
27日前
ライオン株式会社
液体柔軟剤組成物
3か月前
シャープ株式会社
洗濯機
3か月前
日本バイリーン株式会社
内装用表面材
3か月前
花王株式会社
洗浄剤組成物
3か月前
東レ株式会社
炭素繊維シートの製造方法
1か月前
東レ株式会社
ゴム補強用合成繊維コード
13日前
有限会社高田紙器製作所
紙製洗濯バサミ
2か月前
東レ株式会社
樹脂含浸繊維束の製造方法
2か月前
株式会社創和
ボックス状洗濯ネット
28日前
株式会社大阪ソーダ
撥水撥油性繊維処理剤
1か月前
シャープ株式会社
洗濯乾燥機
3か月前
シャープ株式会社
洗濯機
1か月前
個人
洗濯用洗剤容器の蓋
1か月前
株式会社コーワ
フィルター清掃装置及び乾燥機
3か月前
株式会社コーワ
フィルター清掃装置及び乾燥機
3か月前
日本バイリーン株式会社
表皮材とその製造方法
3か月前
大阪瓦斯株式会社
衣類乾燥機
1か月前
大阪瓦斯株式会社
衣類乾燥機
1か月前
松本油脂製薬株式会社
繊維用処理剤及びその利用
1か月前
大阪瓦斯株式会社
衣類乾燥機
1か月前
シャープ株式会社
洗濯機
2か月前
個人
開閉角度調整可能な角型折畳みピンチハンガー
1か月前
シャープ株式会社
洗濯機
2か月前
東レ株式会社
人工皮革、乗物用内装材、および座席
3か月前
株式会社コーワ
フィルター装置及び洗濯機又は乾燥機
3か月前
東芝ライフスタイル株式会社
洗濯機
1か月前
個人
パイプ用係止、固定装置及び洗濯バサミ取り付け具
1か月前
東レ株式会社
抗菌性アクリル系繊維およびその製造方法
29日前
シャープ株式会社
洗濯機
2か月前
東芝ライフスタイル株式会社
洗濯機
19日前
シャープ株式会社
洗濯機
2か月前
シャープ株式会社
衣類処理システム
1か月前
続きを見る
他の特許を見る