TOP
|
特許
|
意匠
|
商標
特許ウォッチ
Twitter
他の特許を見る
公開番号
2025060891
公報種別
公開特許公報(A)
公開日
2025-04-10
出願番号
2024230245,2023519611
出願日
2024-12-26,2021-09-28
発明の名称
糸状ファージを産生するための細菌線毛タンパク質複合体FimGt-DsF安定化タンパク質複合体
出願人
エフ. ホフマン-ラ ロシュ アーゲー
,
F. HOFFMANN-LA ROCHE AKTIENGESELLSCHAFT
代理人
個人
,
個人
,
個人
主分類
C40B
40/10 20060101AFI20250403BHJP(コンビナトリアル技術)
要約
【課題】ファージミド又は糸状ファージを産生するための改善された安定化タンパク質複合体、並びにこれらの産生及び使用のための方法を提供する。
【解決手段】ファージミド又は糸状ファージを産生するための細菌線毛タンパク質複合体FimGt-DsF安定化タンパク質複合体は、FimGtへの結合に必要な細菌のDsFポリペプチド及びDsFへの結合に必要な細菌FimGtポリペプチド又はその細菌ホモログを含む。
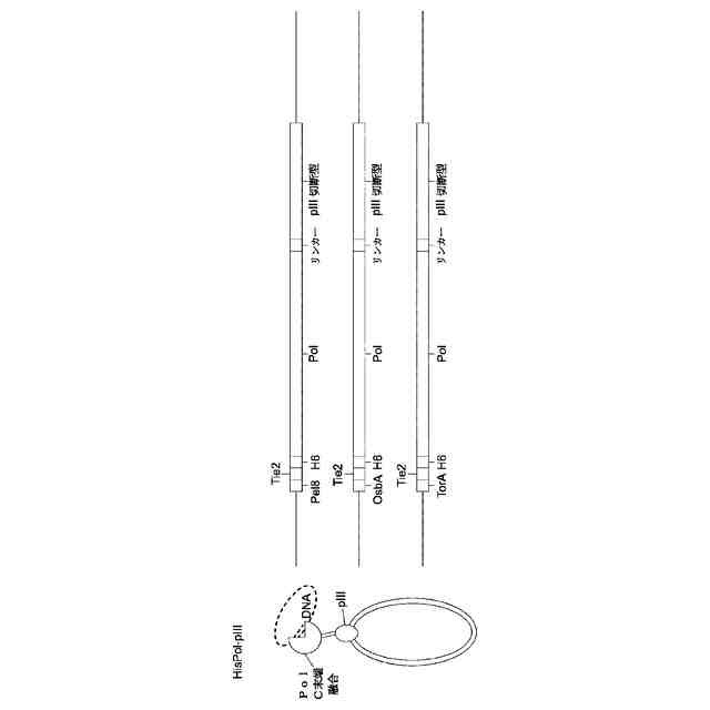
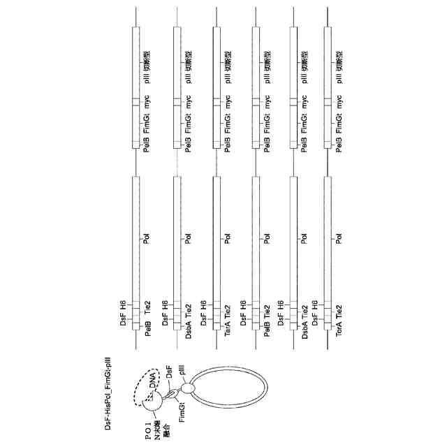
【選択図】図1-A
特許請求の範囲
【請求項1】
タンパク質複合体であって、
a)N末端からC末端方向に一般式(I)を有する第1のポリペプチド鎖
X-DsF-Y-POI(I)、
及び
b)N末端からC末端方向に一般式(II)を有する第2のポリペプチド鎖
X-FimGt-Y-CPF(II)
を含み、
式中、
Xは、存在しないか、又は細菌のリーダー配列若しくは転座配列を示し、
DsFは、FimGtへの結合に必要な細菌DsFポリペプチド又はその細菌ホモログを示し、
Yは、存在しないか、又はリンカー配列、検出可能なペプチド配列及び/若しくは前記ポリペプチド鎖を精製するためのペプチド配列の少なくとも1つを示し、
POIは目的のタンパク質を示し、
FimGtは、DsFへの結合に必要な細菌FimGtポリペプチド又はその細菌ホモログを示し、
CPFは、糸状ファージのコートタンパク質を示す、タンパク質複合体。
続きを表示(約 1,700 文字)
【請求項2】
タンパク質複合体であって、
a)N末端からC末端方向に一般式(III)を有する第1のポリペプチド鎖
X-SUB-DsF-Y(III)、
及び
b)少なくとも1つのPOIを含み、N末端からC末端方向に一般式(IV)を有する第2のポリペプチド鎖
X-FimGt(POI)-Y(POI)-CPF(IV)
を含み、
式中、
Xは、存在しないか、又は細菌のリーダー配列若しくは転座配列を示し、
DsFは、FimGtへの結合に必要な細菌DsFポリペプチド又はその細菌ホモログを示し、
Y(POI)は、存在しないか、又はPOIが結合した分岐リンカー配列、検出可能なペプチド配列及び/又は前記ポリペプチド鎖を精製するためのペプチド配列の少なくとも1つを示し、
POIは目的のタンパク質を示し、
FimGt(POI)は、任意にPOIが連結された、DsFへの結合に必要な細菌FimGtポリペプチド又はその細菌ホモログを示し、
SUBは基質を示し、
CPFは、糸状ファージのコートタンパク質を示す、タンパク質複合体。
【請求項3】
前記細菌のリーダー配列又は転座配列が、分泌経路による分泌のためのリーダー配列又は転座系による転座のための転座配列、例えばPelB、DsbA、TorA、及びPhoA、並びに一般的な分泌(Sec)経路、双生児アルギニン転座(Tat)経路、T2SS経路、T3SS経路、T5SS経路、及びSecA2経路から選択される、請求項1又は2に記載のタンパク質複合体。
【請求項4】
前記細菌のDsFポリペプチド及びFimGtポリペプチドが、大腸菌(E.coli)に由来するか、又はグラム陰性細菌、特に腸内細菌科(Enterobacteriaceae)に由来するDsF及び/又はFimGtのホモログから選択される、請求項1
~3のいずれか一項に記載のタンパク質複合体。
【請求項5】
Yが、分岐若しくは非分岐のペプチドリンカー配列、例えば分岐若しくは非分岐のグリシン若しくはグリシン/セリンペプチドリンカー配列、検出可能なペプチド配列としてのmycタグ及びTie2タグ、並びに/又は前記ポリペプチド鎖を精製するためのカルモジュリン結合ペプチド、Hisタグ若しくはマルトースタンパク質結合配列から選択される、請求項1~4のいずれか一項に記載のタンパク質複合体。
【請求項6】
前記複合体が、それぞれ式I及びII並びに式III及びIVの独立した隣接ポリペプチド配列間のドナー鎖相補性によって安定化又は本質的に安定化される、請求項1~5のいずれか一項に記載のタンパク質複合体。
【請求項7】
CPFが、ファージfd、M13、f1、及びPf1のマイナーコートタンパク質、例えばpIII、pVI、pVII、pVIII、pIX、及び糸状ファージのそれぞれのコートタンパク質を機能的に置換することができるそれらの切断型から選択される、請求項1~6のいずれか一項に記載のタンパク質複合体。
【請求項8】
POIが、酵素、抗体、及び核酸ポリメラーゼ、並びにそれらの機能的断片、並びにそれらのライブラリーからなる群から選択される、請求項1~7のいずれか一項に記載のタンパク質複合体。
【請求項9】
SUBが、酵素の基質、切断可能な検出可能マーカー、抗原マーカー及びそれらのライブラリーからなる群から選択される、請求項1~8のいずれか一項に記載のタンパク質複合体。
【請求項10】
請求項1~9のいずれか一項に記載のタンパク質複合体を含む、少なくとも1つの目的のタンパク質(POI)を提示する糸状ファージであって、好ましくは、fd、M13、f1、及びPf1、又は前記糸状ファージのライブラリーから選択され、任意にPOI及び/又は基質(SUB)のバリアントを提示する、糸状ファージ。
(【請求項11】以降は省略されています)
発明の詳細な説明
【技術分野】
【0001】
本発明は、ファージミド又は糸状ファージを産生するための細菌線毛タンパク質複合体FimGt-DsF安定化タンパク質複合体、及びこれらの使用方法に関する。
続きを表示(約 2,000 文字)
【背景技術】
【0002】
発明の背景
ファージディスプレイは、改善された結合剤を選択するための強力な方法である。ファージディスプレイ研究は、他のファージと比較してM13との作業が比較的容易であるため、大腸菌に感染する糸状ファージM13の使用を伴うことが多い。M13のような糸状ファージは、宿主細胞を溶解せず、代わりに分泌によって放出される。これにより、潜在的に干渉する細胞質タンパク質からのファージ粒子のより簡単でより効率的な精製が可能になる。M13上の目的のポリペプチド(POI)の表示は、最も一般的には、マイナーコートタンパク質pIIIのN末端への融合によって達成されるが、他のコートタンパク質(pVI、pVII、pVIII及びpIX)への融合も使用されている。
【0003】
ファージディスプレイは、抗体ライブラリー及びペプチドライブラリーの成功した選択のために広く利用されている。しかしながら、従来のファージディスプレイは、その広範な使用を妨げるいくつかの制限を示す。1つの欠点は、相互作用のために遊離C末端を必要とするタンパク質のディスプレイ、cDNAライブラリーのディスプレイ、及びC末端融合に耐性でないタンパク質など、C末端ディスプレイに適していない用途のための堅牢なN末端ディスプレイ(POIのN末端の付着によるディスプレイとして定義される)の欠如である。
【0004】
国際公開第2018/041740号は、第1の結合部分に融合した目的のタンパク質(POI)を含む、細胞の表面上のタンパク質の固定化に使用するための非共有結合ディスプレイシステムを開示しており、第1の結合部分は、FimGT/DsF相互作用対の1つのパートナーを含む。
【0005】
国際公開第2012/028697号は、固定化及び/又は親和性精製手順で使用するためのタンパク質タグ及び親和性リガンドとしてDsタグ及びDsタグの同族リガンドを含むドナー鎖(Ds)相補性に基づくシステムを開示している。
【0006】
Giese et al.(「The Most Stable Protein-Ligand Complex:Applications for One-Step Affinity Purification and Identification
of Protein Assemblies」、ANGEWANDTE CHEMIE INTERNATIONAL EDITION、vol.51、no.18、27 April 2012、4474-4478頁)は、タンパク質アセンブリの一段階親和性精製及び同定のためのFimGT/DsFシステムの使用を開示している。
【0007】
pIII、pVI、pVIII及びpIXのC末端へのタンパク質のN末端融合が示されているが、ディスプレイレベルは低く(Jespers et al.Bio/Technology 1995,13,378;Velappan et al.,Nucleic Acid Res.2010,38,4,e22)、ペプチド又は小タンパク質でのみ成功又は首尾よく示され(Fuh et al.FEBS Letters 2000,480,231;Fuh,Germaine and Sidhu,Sachde
v S.(2000),Efficient phage display of polypeptides fused to the carboxy-terminus
of the M13 gene-3 minor coat protein,FEBS Letters,480,doi:10.1016/S0014-5793(00)01946-3;25 Velappan et al.Nucleic Acid Res.2010,38,4,e22)、及び/又は必要とされる個別化最適化が必要であった(Held et al.,J Mol Biol.2004,340(3),587)。
【発明の概要】
【0008】
したがって、本発明の目的は、ファージミド又は糸状ファージを産生するための改善された安定化タンパク質複合体、並びにこれらの産生及び使用のための方法を提供することである。
【0009】
他の目的及び利点は、本発明の本明細書を検討する際に当業者に明らかになるであろう。
【0010】
本発明の第1の態様では、上記目的は、以下を含むタンパク質複合体を提供することによって解決される。
(【0011】以降は省略されています)
この特許をJ-PlatPat(特許庁公式サイト)で参照する
関連特許
クラレット バイオサイエンス, エルエルシー
核酸を解析するための方法および組成物
8か月前
ジェネンテック, インコーポレイテッド
治療的抗体発見のための効率的なハイブリドーマプラットフォームの開発
1か月前
ツイスト バイオサイエンス コーポレーション
抗体を最適化するための変異体核酸ライブラリ
4か月前
中外製薬株式会社
改変された抗体可変領域を含む抗原結合分子のライブラリ
24日前
イルミナ インコーポレイテッド
ハイスループット単一細胞ライブラリー、並びに製造方法及び使用方法
2か月前
イルミナ インコーポレイテッド
ハイスループット単一核及び単一細胞ライブラリー、並びに製造及び使用方法
8か月前
キヤノン株式会社
回路基板、画像形成装置
8か月前
エフ. ホフマン-ラ ロシュ アーゲー
糸状ファージを産生するための細菌線毛タンパク質複合体FimGt-DsF安定化タンパク質複合体
5か月前
キヤノン株式会社
回路基板、画像形成装置
3か月前
株式会社デンソー
電池監視装置および電池監視回路
4か月前
キヤノン株式会社
回路基板、画像形成装置
3か月前
TDK株式会社
半導体モジュール
2か月前
キヤノン株式会社
プリント基板及び画像形成装置
6か月前
TDK株式会社
半導体モジュール
2か月前
株式会社ジェイテクト
工作機械の情報解析システム及び工作機械の情報解析方法
4か月前
エフ. ホフマン-ラ ロシュ アーゲー
部位特異的抗体コンジュゲーション及びその使用
1か月前
フジフイルム エレクトロニック マテリアルズ ユー.エス.エー., インコーポレイテッド
研磨組成物及びそれを用いる方法
1か月前
株式会社ヤハタホールディングス
ペグ
7か月前
日本化薬株式会社
インク、インクジェット印刷方法及び印刷メディア
4か月前
セラ セラピューティクス エルエルシー
神経栄養剤、アポトーシスシグナリング断片化阻害剤(FAS)もしくはFASリガンド(FASL)阻害剤、腫瘍壊死因子α(TNF-α)もしくはTNF受容体阻害剤、ミトコンドリアペプチド、オリゴヌクレオチド、ケモカイン阻害剤、またはシステイン-アスパラギン酸プロテアーゼ阻害剤を含む薬剤送達系
7か月前
エルジー エナジー ソリューション リミテッド
リチウム二次電池の活性化方法
2日前
ジェンマブ エー/エス
CD38発現腫瘍の併用処置法
2日前
セーホーエル.ハンセン アクティーゼルスカブ
硝酸レダクターゼ活性の回復改善
5か月前
シチズンファインデバイス株式会社
液晶表示装置
23日前
トヨタ自動車株式会社
車両の制御装置
1か月前
エイエルエス・セラピー・デベロップメント・インスティテュート
CD40L関連疾患または障害を治療するための抗CD40L抗体及び方法
4か月前
花王株式会社
体脂肪変化の予測方法
3か月前
トヨタ自動車株式会社
車両の制御装置
1か月前
トヨタバッテリー株式会社
二次電池の充放電の制御方法
3か月前
ヤマハ株式会社
画像制御方法、画像制御装置、およびプログラム
7か月前
キヤノン株式会社
コンピュータプログラム、情報処理装置、及び情報処理方法
1か月前
株式会社Cygames
情報処理プログラム、情報処理方法および情報処理システム
1か月前
株式会社Cygames
情報処理プログラム、情報処理方法および情報処理システム
1か月前
ダイキン工業株式会社
電源制御回路、およびそれを備えた空調機
3か月前
東芝テック株式会社
登録決済装置およびプログラム
8か月前
トランスクリプティクス・インコーポレイテッド
合成メッセンジャーRNAによる原発性繊毛機能不全症の治療
3か月前
続きを見る
他の特許を見る