TOP
|
特許
|
意匠
|
商標
特許ウォッチ
Twitter
他の特許を見る
公開番号
2025003645
公報種別
公開特許公報(A)
公開日
2025-01-09
出願番号
2024187871,2023110015
出願日
2024-10-25,2019-08-08
発明の名称
登録決済装置およびプログラム
出願人
東芝テック株式会社
代理人
弁理士法人酒井国際特許事務所
主分類
G07G
1/12 20060101AFI20241226BHJP(チェック装置)
要約
【課題】第1モードの場合に確認商品を販売可能な顧客であるかを確認することが可能な登録決済装置およびプログラムを提供することである。
【解決手段】顧客が売上登録操作および決済操作を行う第1モードと、店員が売上登録操作を行う第2モードと、を切換える切換手段と、前記商品を特定する商品特定情報を取得する取得手段と、前記第1モードにおいて、取得した前記商品特定情報に基づいて当該商品を前記顧客に販売することの適否の確認の要否情報を含む商品情報を取得して記憶部に記憶し、前記第2モードにおいて、取得した前記商品特定情報に基づいて商品情報を取得して前記記憶部に記憶する記憶手段と、前記第1モードにおいて、確認要の前記要否情報が記憶されている場合に、当該商品の販売が適正であることを確認したことを示す確認情報を取得したことを条件に、記憶された前記商品情報に基づいて決済処理を実行し、前記第2モードにおいて、記憶された前記商品情報に基づいて決済処理を実行する決済手段と、を備える。
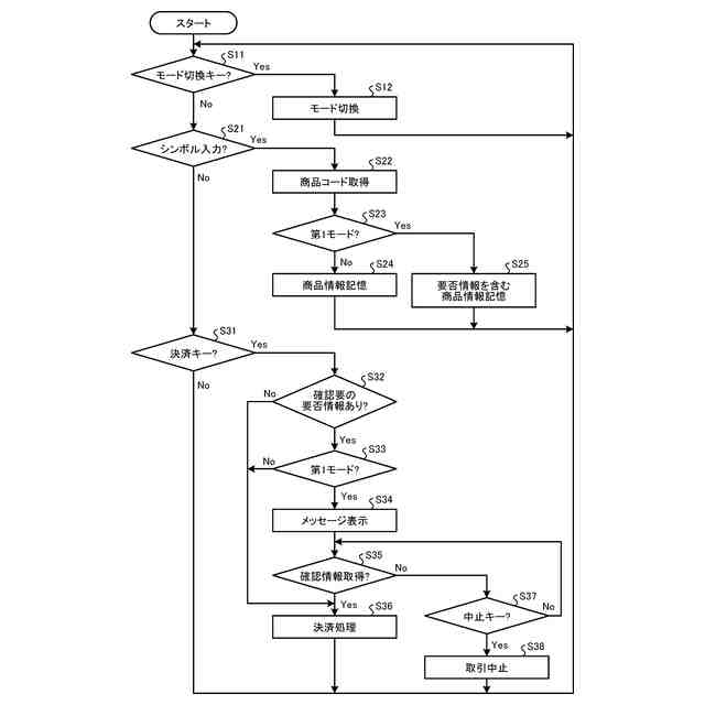
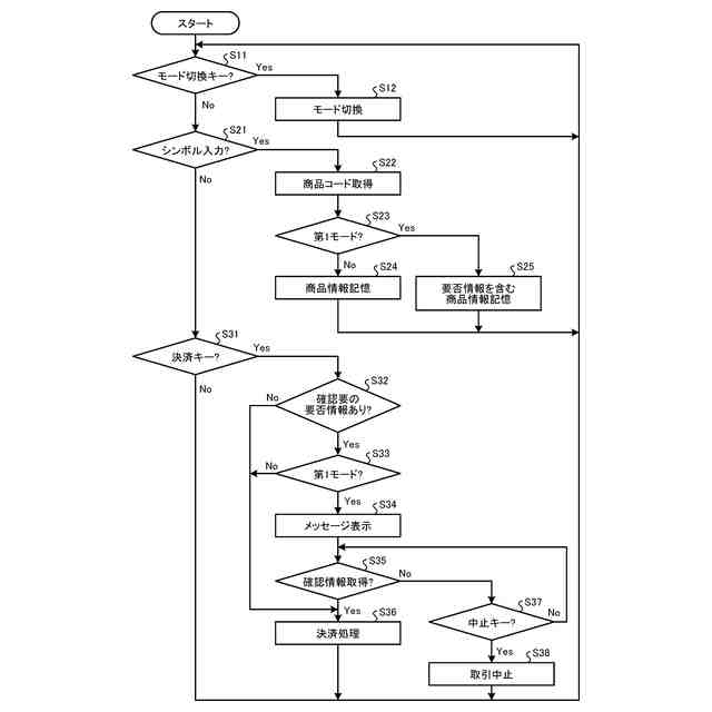
【選択図】図6
特許請求の範囲
【請求項1】
顧客が売上登録操作および決済操作を行う第1モードと、店員が売上登録操作を行う第2モードと、を切換える切換手段と、
前記商品を特定する商品特定情報を取得する取得手段と、
前記第1モードにおいて、取得した前記商品特定情報に基づいて当該商品を前記顧客に販売することの適否の確認の要否情報を含む商品情報を取得して記憶部に記憶し、前記第2モードにおいて、取得した前記商品特定情報に基づいて商品情報を取得して前記記憶部に記憶する記憶手段と、
前記第1モードにおいて、確認要の前記要否情報が記憶されている場合に、当該商品の販売が適正であることを確認したことを示す確認情報を取得したことを条件に、記憶された前記商品情報に基づいて決済処理を実行し、前記第2モードにおいて、記憶された前記商品情報に基づいて決済処理を実行する決済手段と、
を備えた登録決済装置。
続きを表示(約 820 文字)
【請求項2】
前記確認情報は、当該店員を特定する店員特定情報である、
請求項1に記載の登録決済装置。
【請求項3】
前記店員特定情報は、前記店員が保持する媒体から取得する、
請求項2に記載の登録決済装置。
【請求項4】
前記決済手段は、前記第1モードにおいて、前記確認情報の入力がない場合に、当該顧客との取引を取り消す取消処理を実行する、
請求項1乃至3のいずれか一に記載の登録決済装置。
【請求項5】
前記決済手段は、前記第1モードにおいて、前記確認要の要否情報が記憶されている場合に前記確認情報を入力させるためのメッセージを表示し、その後に前記確認情報が入力されていることを条件に、前記商品情報に基づいて決済処理を実行する、
請求項1乃至4のいずれか一に記載の登録決済装置。
【請求項6】
登録決済装置としてのコンピュータを、
顧客が売上登録操作および決済操作を行う第1モードと、店員が売上登録操作を行う第2モードと、を切換える切換手段と、
前記商品を特定する商品特定情報を取得する取得手段と、
前記第1モードにおいて、取得した前記商品特定情報に基づいて当該商品を前記顧客に販売することの適否の確認の要否情報を含む商品情報を取得して記憶部に記憶し、前記第2モードにおいて、取得した前記商品特定情報に基づいて商品情報を取得して前記記憶部に記憶する記憶手段と、
前記第1モードにおいて、確認要の前記要否情報が記憶されている場合に、当該商品の販売が適正であることを確認したことを示す確認情報が入力されていることを条件に、記憶された前記商品情報に基づいて決済処理を実行し、前記第2モードにおいて、記憶された前記商品情報に基づいて決済処理を実行する決済手段と、
して機能させるためのプログラム。
発明の詳細な説明
【技術分野】
【0001】
本発明の実施形態は、登録決済装置およびプログラムに関する。
続きを表示(約 2,500 文字)
【背景技術】
【0002】
従来、例えば店舗における商品の販売に係り、顧客自身が、商品を登録する売上登録操作および決済操作を実行するセルフ型の登録決済装置が提案されている。このようなセルフ型の登録決済装置において、顧客は、商品を入れたカゴを載置台に載置し、当該カゴから商品を取出して、商品に付されたバーコード等のシンボルを読取部等で読み取らせる。そして顧客は、シンボルを読み取らせた商品を反対側の台にセットされたレジ袋またはカゴに投入する、という売上登録操作を実行する。するとセルフ型の登録決済装置は、読み取ったシンボルに基づいて、当該商品の売上登録処理を実行する。そして、すべての商品の売上登録操作を終了したら、顧客は決済操作を行う。セルフ型の登録決済装置は、決済操作がされると、売上登録処理された商品について決済処理を実行する。
【0003】
このようなセルフ型の登録決済装置では、例えば、タバコや酒類といった顧客が所定年齢以上であるかを確認する必要がある商品(以降「確認商品」という)については、店側が年齢の確認を容易に行えなかったとの理由で、販売はできなかった。すなわち、確認商品について売上登録操作を行うと、セルフ型の登録決済装置はエラーとなった。そのため、年齢確認商品を購入する場合には、店員が操作する通常のチェックアウト装置で対応していた。
【発明の概要】
【発明が解決しようとする課題】
【0004】
本発明が解決しようとする課題は、第1モードの場合に確認商品を販売可能な顧客であるかを確認することが可能な登録決済装置およびプログラムを提供することである。
【課題を解決するための手段】
【0005】
実施形態の登録決済装置は、顧客が売上登録操作および決済操作を行う第1モードと、店員が売上登録操作を行う第2モードと、を切換える切換手段と、前記商品を特定する商品特定情報を取得する取得手段と、前記第1モードにおいて、取得した前記商品特定情報に基づいて当該商品を前記顧客に販売することの適否の確認の要否情報を含む商品情報を取得して記憶部に記憶し、前記第2モードにおいて、取得した前記商品特定情報に基づいて商品情報を取得して前記記憶部に記憶する記憶手段と、前記第1モードにおいて、確認要の前記要否情報が記憶されている場合に、当該商品の販売が適正であることを確認したことを示す確認情報を取得したことを条件に、記憶された前記商品情報に基づいて決済処理を実行し、前記第2モードにおいて、記憶された前記商品情報に基づいて決済処理を実行する決済手段と、を備える。
【図面の簡単な説明】
【0006】
図1は、実施形態に係るシステムを示す模式図である。
図2は、実施形態に係る登録決済装置を示す斜視図である。
図3は、登録決済装置のハードウェア構成を示すブロック図である。
図4は、登録決済装置における商品マスタを示すメモリマップである。
図5は、登録決済装置の機能構成を示す機能ブロック図である。
図6は、登録決済装置における制御処理の流れを示すフローチャートである。
【発明を実施するための形態】
【0007】
以下、添付図面を参照して、実施形態に係る登録決済装置について詳細に説明する。登録決済装置は、例えば、顧客が自身で登録決済装置の売上登録操作および決済操作を行う、いわゆるフルセルフ型のPOS端末として機能する第1モードと、店員が売上登録操作を行い、顧客が決済操作を行う、いわゆるセミセルフ型のPOS端末として機能する第2モードとに切換可能なPOS(Point of Sales)端末である。なお、実施形態では、「確認商品」の一例として、所定年齢(例えば20歳)以上の顧客に対してのみ販売可能な商品(例えばタバコ、酒類)を用いて説明する。また、実施形態では「確認商品であるか否かを確認する必要性の要否情報」は、所定年齢以上の顧客にのみ販売できる商品であるか否かを確認する必要性の要否情報である。以下に説明する実施形態によりこの発明が限定されるものではない。
【0008】
図1は、実施形態に係る登録決済装置100を含むシステムを示す模式図である。図1に示すように、システムは、店舗内に設置された複数台の登録決済装置100とアテンダントPC(Personal Computer)40とを含む構成である。アテンダントPC40は、登録決済装置100が第1モードとして機能する場合に必要となる。各登録決済装置100とアテンダントPC40とは、例えばLAN(Local Area Network)回線等の通信回線NTで電気的に接続されている。
【0009】
まず、登録決済装置100が第1モードの場合について説明する。登録決済装置100は、購入する商品に付されたバーコードや二次元コード等のシンボルを読み取る構成と、読み取らせたシンボルに基づいて取得した当該商品の商品情報(商品名。価格、等)に基づいて決済操作を行う構成とを備えている。顧客は、シンボルを読み取らせる売上登録操作を行う。また顧客は、登録決済装置100が決済処理を行うための決済操作を行う。登録決済装置100は、顧客が行った売上登録操作に基づいて売上登録処理を実行する。また、登録決済装置100は、顧客が行った決済操作に基づいて決済処理を実行する。
【0010】
次に、登録決済装置100が第2モードの場合について説明する。店員は、シンボルを読み取らせる売上登録操作を行う。登録決済装置100は、店員が行った売上登録操作に基づいて売上登録処理を実行する。顧客は、店員が売上登録操作を行った商品について、決済操作を行う。登録決済装置100は、顧客が行った決済操作に基づいて決済処理を実行する。
(【0011】以降は省略されています)
この特許をJ-PlatPat(特許庁公式サイト)で参照する
関連特許
株式会社イシダ
商品処理装置
9日前
沖電気工業株式会社
媒体処理装置
1か月前
沖電気工業株式会社
施錠開閉装置
2日前
沖電気工業株式会社
紙幣処理装置
1か月前
沖電気工業株式会社
媒体処理装置
1か月前
富士電機株式会社
自動販売機
1か月前
株式会社ライト
情報処理装置
1か月前
株式会社ライト
情報処理装置
1か月前
株式会社デンソー
車載器
7日前
グローリー株式会社
物品投出装置
1か月前
日本金銭機械株式会社
硬貨処理装置
11日前
日本金銭機械株式会社
硬貨処理装置
11日前
沖電気工業株式会社
媒体処理装置
1か月前
旭精工株式会社
紙葉類処理装置および紙葉類処理方法
21日前
沖電気工業株式会社
現金処理装置及び印字装置
21日前
沖電気工業株式会社
棒金収納装置
1か月前
沖電気工業株式会社
棒金収納装置
8日前
沖電気工業株式会社
現金処理装置
1か月前
沖電気工業株式会社
媒体識別装置及び媒体処理装置
1か月前
独立行政法人 国立印刷局
画像観察装置及び画像観察方法
1か月前
株式会社バンダイ
物品供給装置、及び物品供給装置セット
2日前
株式会社寺岡精工
施設管理システム
1か月前
東芝テック株式会社
会計装置
3日前
グローリー株式会社
現金処理装置及び現金処理方法
1日前
グローリー株式会社
現金処理装置及び現金処理方法
1日前
株式会社イシダ
電子棚札用の制御システム
8日前
日本信号株式会社
ゲート制御システム
1か月前
東芝テック株式会社
商品登録装置
15日前
グローリー株式会社
現金処理システム及び現金処理方法
1日前
日本電気株式会社
人数計数装置、人数計数方法及びプログラム
21日前
株式会社アルファロッカーシステム
ロッカー装置
1か月前
株式会社アルファロッカーシステム
ロッカー装置
1か月前
株式会社寺岡精工
精算装置、システム、およびプログラム
21日前
日本電気株式会社
注文端末、注文受付方法及びプログラム
7日前
富士電機株式会社
自動販売機の保護装置
14日前
日本電気株式会社
サーバ装置、サーバ装置の制御方法及びプログラム
21日前
続きを見る
他の特許を見る