TOP
|
特許
|
意匠
|
商標
特許ウォッチ
Twitter
他の特許を見る
公開番号
2025029749
公報種別
公開特許公報(A)
公開日
2025-03-07
出願番号
2023134548
出願日
2023-08-22
発明の名称
ペグ
出願人
株式会社ヤハタホールディングス
代理人
弁理士法人岡田国際特許事務所
主分類
G09F
7/06 20060101AFI20250228BHJP(教育;暗号方法;表示;広告;シール)
要約
【課題】板に多数あけられた穴を利用して浮き文字を取り付けるにあたり、取り付けられる浮き文字の配置を容易に揃えるもの。
【解決手段】多数の穴B11が縦方向および横方向に等しいピッチP10で設けられた板面B12を有する有孔ボードB10に取り付けられるペグ10であって、厚みのある立体形状によって1つの文字14を表した浮き文字11と、浮き文字11のウラ面から突出され、穴B11に挿し込み固定されるピン21と、を備え、ピン21の突出位置が、浮き文字11が表す文字14における仮想ボディC40の幅方向の中心線C20上に設定されている。
【選択図】図2
特許請求の範囲
【請求項1】
多数の穴が縦方向および横方向に等しいピッチで設けられた板面を有する有孔ボードに取り付けられるペグであって、
厚みのある立体形状によって1つの文字またはマークを表した浮き文字と、
前記浮き文字のウラ面から突出され、前記穴に挿し込み固定されるピンと、を備え、
前記ピンの突出位置が、前記浮き文字が表す文字またはマークにおける仮想ボディの幅方向の中心線上に設定されている、
ペグ。
続きを表示(約 750 文字)
【請求項2】
請求項1に記載されたペグであって、
aを自然数として、前記浮き文字が表す文字またはマークの高さ方向のサイズが、前記縦方向で見た2a+1個の前記穴の並びをまたぐサイズとされており、
前記ピンの突出位置が、
前記仮想ボディの中心となる第1位置、
前記第1位置から前記ピッチのa倍だけ前記高さ方向の上側に離れた位置である第2位置、または、
前記第1位置から前記ピッチのa倍だけ前記高さ方向の下側に離れた位置である第3位置、
のうちの1箇所または複数箇所に設定されている、ペグ。
【請求項3】
請求項1に記載されたペグであって、
前記浮き文字は、前記幅方向に延びることで、前記浮き文字が表す文字またはマークの高さ方向の基準線を表す横架部を備え、
前記ピンの突出位置が、前記横架部において前記中心線上となる位置に設定されている、
ペグ。
【請求項4】
請求項3に記載されたペグであって、
前記横架部の前記幅方向の長さが、前記ピッチよりも、前記穴に対する前記ピンの挿し込み固定において生じうる位置ズレの距離だけ短い長さとされている、
ペグ。
【請求項5】
請求項1ないし請求項4のうちのいずれか1項に記載されたペグであって、
前記ピンが、前記ウラ面側の根元部分から先端部分に向かうにつれて先細りとなる錐体状の外形を有している、
ペグ。
【請求項6】
請求項5に記載されたペグであって、
前記ピンが、前記錐体状の外形において側面となる部分に、前記穴のふちに食い込ませることが可能な歯部を備えている、
ペグ。
発明の詳細な説明
【技術分野】
【0001】
本開示は、ペグに関する。
続きを表示(約 1,500 文字)
【背景技術】
【0002】
文字またはマークを立体形状で表したもの(以下、「浮き文字」とも称する。)を、板に多数あけられた穴を利用して取り付ける技術は、従来公知である。例えば、特許文献1には、看板本体に無数の穴をあけ、その穴にテーパー付きの浮き文字を打ち付け、広告宣伝等ができるようにする技術が開示されている。
【先行技術文献】
【特許文献】
【0003】
実願平01-022168号(実開平02-113781号)のマイクロフィルム
【発明の概要】
【発明が解決しようとする課題】
【0004】
上記特許文献1に開示された従来の技術には、看板本体に浮き文字の配置位置の基準となるものがないため、浮き文字の配置を揃えることが困難であるという課題があった。
【0005】
本開示は、板に多数あけられた穴を利用して浮き文字を取り付けるにあたり、取り付けられる浮き文字の配置を容易に揃えるものである。
【課題を解決するための手段】
【0006】
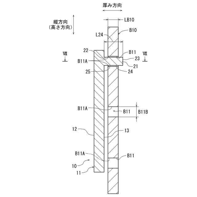
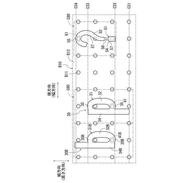
まず、第1の開示は、多数の穴が縦方向および横方向に等しいピッチで設けられた板面を有する有孔ボードに取り付けられるペグであって、厚みのある立体形状によって1つの文字またはマークを表した浮き文字と、前記浮き文字のウラ面から突出され、前記穴に挿し込み固定されるピンと、を備え、前記ピンの突出位置が、前記浮き文字が表す文字またはマークにおける仮想ボディの幅方向の中心線上に設定されているものである。
【0007】
第1の開示に係るペグは、有孔ボードに取り付けるときに、ペグの浮き文字が表す文字またはマークにおける仮想ボディの幅方向の中心線が、必ず有孔ボードの穴と重なる。ここで、有孔ボードの穴は、横方向に等しいピッチで設けられているため、複数のペグを同じ向きで横方向に並べて有孔ボードに取り付ける場合には、これらペグの仮想ボディにおける幅方向の中心線も、横方向に等しいピッチで並ぶ。これにより、板に多数あけられた穴を利用して浮き文字を取り付けるにあたり、取り付けられる浮き文字の配置を容易に揃えることができる。
【0008】
ここで、第1の開示に係るペグは、後述する第2の開示に係るペグであっても良い。この第2の開示に係るペグは、aを自然数として、前記浮き文字が表す文字またはマークの高さ方向のサイズが、前記縦方向で見た2a+1個の前記穴の並びをまたぐサイズとされており、前記ピンの突出位置が、前記仮想ボディの中心となる第1位置、前記第1位置から前記ピッチのa倍だけ前記高さ方向の上側に離れた位置である第2位置、または、前記第1位置から前記ピッチのa倍だけ前記高さ方向の下側に離れた位置である第3位置、のうちの1箇所または複数箇所に設定されているものである。
【0009】
第2の開示に係るペグは、縦方向で見た2a+1個の穴の並びに対して取り付ける場合に、浮き文字の仮想ボディの中心が、必ず上記穴の並びの中で真ん中となる穴と重なる。これにより、複数のペグの浮き文字を高さ方向において容易に揃えることができる。
【0010】
ここで、第1の開示に係るペグは、後述する第3の開示に係るペグであっても良い。この第3の開示に係るペグにおいて、前記浮き文字は、前記幅方向に延びることで、前記浮き文字が表す文字またはマークの高さ方向の基準線を表す横架部を備え、前記ピンの突出位置が、前記横架部において前記中心線上となる位置に設定されているものである。
(【0011】以降は省略されています)
この特許をJ-PlatPat(特許庁公式サイト)で参照する
関連特許
個人
回転式カード学習具
1か月前
日本精機株式会社
表示装置
1か月前
日本精機株式会社
表示装置
9日前
日本精機株式会社
表示装置
3か月前
個人
時刻表示機能つき手帳
1か月前
個人
計算用教具
5日前
中国電力株式会社
標示旗
15日前
日本精機株式会社
車両用表示装置
1か月前
日本精機株式会社
車両用表示装置
1か月前
日本精機株式会社
車両用表示装置
1か月前
日本精機株式会社
車両用センサ装置
5日前
個人
モデルで薔薇の花嫁様を描く為
26日前
トヨタ自動車株式会社
評価方法
2か月前
株式会社一弘社
情報表示板
1か月前
シャープ株式会社
表示装置
2か月前
シャープ株式会社
表示装置
16日前
パイオニア株式会社
表示装置
2か月前
個人
口唇閉鎖の訓練具
2か月前
株式会社ウメラボ
学習支援システム
1日前
個人
音楽教材
1か月前
ニチレイマグネット株式会社
磁着式電飾装置
15日前
株式会社半導体エネルギー研究所
半導体装置
1か月前
株式会社リコー
画像投射システム
16日前
株式会社ノジマ
応対体験システム
2か月前
株式会社サンゲツ
見本帳
1か月前
シチズンファインデバイス株式会社
液晶表示装置
1か月前
学校法人関西医科大学
腹腔鏡手術訓練装置
15日前
BEST株式会社
吊り下げ表示部材
1か月前
シチズンファインデバイス株式会社
液晶表示装置
24日前
個人
サインポスト
2か月前
株式会社バンダイ
情報処理装置およびプログラム
2か月前
シャープ株式会社
表示装置
1か月前
朝日インテック株式会社
心臓モデル装置
3か月前
シャープ株式会社
表示装置
1か月前
厦門天馬顕示科技有限公司
走査回路
3か月前
個人
ピアノの指トレーニング器具及び練習方法
2か月前
続きを見る
他の特許を見る