TOP
|
特許
|
意匠
|
商標
特許ウォッチ
Twitter
他の特許を見る
10個以上の画像は省略されています。
公開番号
2025115199
公報種別
公開特許公報(A)
公開日
2025-08-06
出願番号
2024009604
出願日
2024-01-25
発明の名称
コンピュータプログラム、情報処理装置、及び情報処理方法
出願人
キヤノン株式会社
代理人
弁理士法人大塚国際特許事務所
主分類
G06F
16/90 20190101AFI20250730BHJP(計算;計数)
要約
【課題】本発明は、例えば自然言語での対話形式でデバイスの操作を支援する新規の仕組みを提供する。
【解決手段】本コンピュータプログラムは、コンピュータを、ユーザからの自然言語での要求であって、デバイスを指定した該デバイスの操作に関する要求を受け付けるように機能させる。また、本コンピュータプログラムは、コンピュータを、要求に基づくプロンプトとデバイスの操作情報を言語モデルサーバに入力させるように機能する。また、本コンピュータプログラムは、コンピュータを、プロンプトとデバイスの操作情報とに基づいて言語モデルサーバにより生成された回答を表示部を介してユーザに提供させるように機能させる。
【選択図】 図5
特許請求の範囲
【請求項1】
コンピュータを、
ユーザからの自然言語での要求であって、デバイスを指定した該デバイスの操作に関する前記要求を受け付ける受付手段と、
前記要求に基づくプロンプトと前記デバイスの操作情報を言語モデルサーバに入力する入力手段と、
前記プロンプトと前記デバイスの操作情報とに基づいて前記言語モデルサーバにより生成された回答を表示部を介してユーザに提供する提供手段と、
として機能させることを特徴とするコンピュータプログラム。
続きを表示(約 1,200 文字)
【請求項2】
前記コンピュータを、さらに、
指定された前記デバイスの操作情報を保持している記憶手段から、前記要求に関する操作情報を検索する検索手段として機能させることを特徴とする請求項1に記載のコンピュータプログラム。
【請求項3】
前記記憶手段には、前記操作情報として、前記デバイスの操作方法及びその説明と該操作方法を実行するAPIの識別情報とが、操作項目ごとに記憶されていることを特徴とする請求項2に記載のコンピュータプログラム。
【請求項4】
前記回答には、前記要求に関する操作方法を示す情報と、前記要求に関する所定の処理をデバイスに対して実行する1以上のAPIの識別情報とが含まれることを特徴とする請求項3に記載のコンピュータプログラム。
【請求項5】
前記提供手段は、前記1以上のAPIを前記表示部において選択可能に提供することを特徴とする請求項4に記載のコンピュータプログラム。
【請求項6】
前記提供手段は、前記表示部に対話形式の画面を表示させることによりユーザに情報を提供し、
前記対話形式の画面には、
ユーザからの自然言語による前記要求を入力する領域及び該要求を実行するためのオブジェクトと、
前記回答を表示する領域と、
前記1以上のAPIを表示する領域及び該1以上のAPIを選択するためのオブジェクトと
が含まれることを特徴とする請求項5に記載のコンピュータプログラム。
【請求項7】
前記コンピュータを、さらに、
提供された前記1以上のAPIの中からユーザ操作に従って選択されたAPIを実行する実行手段として機能させることを特徴とする請求項6に記載のコンピュータプログラム。
【請求項8】
前記コンピュータを、さらに、
指定されたデバイスから該デバイスの状態情報を取得する取得手段として機能させ、
前記提供手段は、さらに、前記デバイスの状態情報を前記表示部を介してユーザに提供することを特徴とする請求項1乃至7の何れか1項に記載のコンピュータプログラム。
【請求項9】
前記要求は、前記デバイスのエラーや警告の原因を調査する際の操作に関わり、
前記回答には、前記エラーや警告に関する対処方法が含まれることを特徴とする請求項8に記載のコンピュータプログラム。
【請求項10】
前記要求が前記デバイスへの設定操作である場合において、前記回答には、前記要求に対応する設定項目の前記デバイスでの設定状態を確認する1以上のAPIの識別情報がさらに含まれ、
前記提供手段は、さらに、前記1以上のAPIを前記表示部に選択可能に提供することを特徴とする請求項1乃至7の何れか1項に記載のコンピュータプログラム。
(【請求項11】以降は省略されています)
発明の詳細な説明
【技術分野】
【0001】
本発明は、自然言語モデルを利用するコンピュータプログラム、情報処理装置、及び情報処理方法に関する。
続きを表示(約 2,000 文字)
【背景技術】
【0002】
PCなどからネットワークを経由してデバイスを操作する方法の中ではリモートUIからデバイスを操作する方法がある。特許文献1には、デバイス遠隔管理技術に利用されるソフトウェアに対して操作性を向上させる仕組みが提案されている。また、ChatGPT(登録商標)などの生成AIを用いて自然言語での対話形式でユーザに情報を提供するサービスが知られている。
【先行技術文献】
【特許文献】
【0003】
特許第5738388号
【発明の概要】
【発明が解決しようとする課題】
【0004】
しかしながら、上記従来技術には以下の課題がある。上記従来技術によればWebブラウザからデバイスの設定が可能であるが、デバイスによっては設定項目も多く、煩雑なユーザ操作が求められる。また、どの項目を設定するべきかマニュアルなどを確認する必要があり、ユーザが調べるのに時間を要するという課題があった。
【0005】
本発明は、上述の課題の少なくとも一つに鑑みて成されたものであり、自然言語でのデバイスの操作を支援する新規の仕組みを提供する。
【課題を解決するための手段】
【0006】
本発明は、例えば、コンピュータを、ユーザからの自然言語での要求であって、デバイスを指定した該デバイスの操作に関する前記要求を受け付ける受付手段と、前記要求に基づくプロンプトと前記デバイスの操作情報を言語モデルサーバに入力する入力手段と、前記プロンプトと前記デバイスの操作情報とに基づいて前記言語モデルサーバにより生成された回答を表示部を介してユーザに提供する提供手段と、として機能させることを特徴とする。
【発明の効果】
【0007】
本発明によれば、自然言語でのデバイスの操作を支援することができる。
【図面の簡単な説明】
【0008】
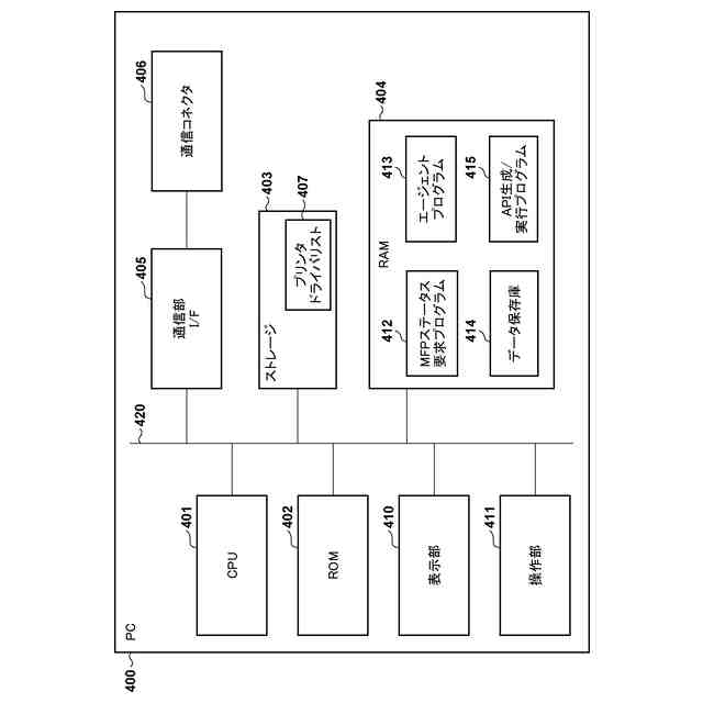
一実施形態に係る自然言語による対話形式でMFP100を操作するシステムの一例を示す図。
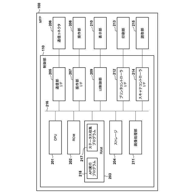
一実施形態に係るMFP100のハードウェア構成例を示す図。
一実施形態に係るPC400のハードウェア構成例を示す図。
一実施形態に係る言語モデルサーバ300のハードウェア構成例を示す図。
一実施形態に係るMFP100の設定変更のためのシーケンス図。
一実施形態に係るPC400の処理手順を示すフローチャート。
一実施形態に係るMFP100の処理手順を示すフローチャート。
一実施形態に係るPC400のエージェントプログラム413が表示部410に表示する画面の一例を示す図。
一実施形態に係るPC400のRAM404に展開されているデータ保存庫414のデータの一部の例を示す図。
一実施形態に係るPC400のエージェントプログラム413が生成して言語モデルサーバ300に対して送信するプロンプトの一例を示す図。
一実施形態に係るPC400が送信したプロンプトに対する言語モデルサーバ300の回答の一例を示す図。
一実施形態に係るMFP100に対してAPI生成/実行プログラム415が生成するAPIの一例を示す図。
一実施形態に係るPC400の処理手順を示すフローチャート。
一実施形態に係るPC400のエージェントプログラム413が表示部410に表示する画面の一例を示す図。
一実施形態に係るPC400が送信したプロンプトに対する言語モデルサーバ300の回答の一例を示す図。
一実施形態に係るMFP100のエラーや警告の原因の調査を行うシーケンス図。
一実施形態に係るPC400のエージェントプログラム413が表示部410に表示する画面の一例を示す図。
一実施形態に係るMFP100の表示部210から表示言語を切り替える方法を示す図。
【発明を実施するための形態】
【0009】
以下、添付図面を参照して実施形態を詳しく説明する。なお、以下の実施形態は特許請求の範囲に係る発明を限定するものではない。実施形態には複数の特徴が記載されているが、これらの複数の特徴の全てが発明に必須のものとは限らず、また、複数の特徴は任意に組み合わせられてもよい。さらに、添付図面においては、同一若しくは同様の構成に同一の参照番号を付し、重複した説明は省略する。
【0010】
<第1の実施形態>
<システム構成>
以下では、本発明の第1の実施形態について説明する。図1を参照して、本実施形態に係る自然言語による対話形式でMFP100を操作するシステムの一例を説明する。
(【0011】以降は省略されています)
この特許をJ-PlatPat(特許庁公式サイト)で参照する
関連特許
キヤノン株式会社
トナー
3日前
キヤノン株式会社
トナー
1か月前
キヤノン株式会社
撮像装置
1か月前
キヤノン株式会社
電子機器
26日前
キヤノン株式会社
電子機器
28日前
キヤノン株式会社
電子機器
19日前
キヤノン株式会社
発光装置
10日前
キヤノン株式会社
表示装置
10日前
キヤノン株式会社
記録装置
19日前
キヤノン株式会社
撮像装置
1か月前
キヤノン株式会社
収容装置
11日前
キヤノン株式会社
撮像装置
18日前
キヤノン株式会社
光学装置
1か月前
キヤノン株式会社
定着装置
11日前
キヤノン株式会社
記録装置
3日前
キヤノン株式会社
電子機器
5日前
キヤノン株式会社
電子機器
11日前
キヤノン株式会社
電子機器
11日前
キヤノン株式会社
電子機器
1か月前
キヤノン株式会社
電子機器
7日前
キヤノン株式会社
撮像装置
28日前
キヤノン株式会社
撮像装置
19日前
キヤノン株式会社
撮像装置
1か月前
キヤノン株式会社
電子機器
1か月前
キヤノン株式会社
定着装置
26日前
キヤノン株式会社
定着装置
17日前
キヤノン株式会社
定着装置
26日前
キヤノン株式会社
定着装置
26日前
キヤノン株式会社
撮像装置
17日前
キヤノン株式会社
記録装置
18日前
キヤノン株式会社
現像装置
1か月前
キヤノン株式会社
撮像装置
1か月前
キヤノン株式会社
電子機器
1か月前
キヤノン株式会社
撮像装置
11日前
キヤノン株式会社
撮像装置
3日前
キヤノン株式会社
容器構造体
1か月前
続きを見る
他の特許を見る