TOP
|
特許
|
意匠
|
商標
特許ウォッチ
Twitter
他の特許を見る
公開番号
2025092988
公報種別
公開特許公報(A)
公開日
2025-06-23
出願番号
2023208449
出願日
2023-12-11
発明の名称
回路基板、画像形成装置
出願人
キヤノン株式会社
代理人
個人
主分類
H05K
1/02 20060101AFI20250616BHJP(他に分類されない電気技術)
要約
【課題】電子部品の昇温を抑制することができる回路基板を提供する。
【解決手段】回路基板300は、第1機能を少なくとも有する第1モータドライバIC405を実装するための第1実装領域421が設けられる第1実装面401aと、第1モータドライバIC405よりも動作時の抵抗値が低く且つ第1機能を少なくとも有する第2モータドライバIC406を実装するための第2実装領域422が設けられる第2実装面404aと、を備える。
【選択図】図4
特許請求の範囲
【請求項1】
第1機能を少なくとも有する第1電子部品を実装するための第1実装領域が設けられる第1実装面と、
前記第1電子部品よりも動作時の抵抗値が低く且つ前記第1機能を少なくとも有する第2電子部品を実装するための第2実装領域が設けられる第2実装面と、を備えることを特徴とする、
回路基板。
続きを表示(約 1,000 文字)
【請求項2】
前記第1実装面の放熱性は、前記第2実装面の放熱性よりも高いことを特徴とする、
請求項1記載の回路基板。
【請求項3】
前記回路基板は所定の装置に取り付けられており、
前記第1実装面に対向する前記装置の面との距離は、前記第2実装面に対向する前記装置の面との距離よりも大きいことを特徴とする、
請求項2記載の回路基板。
【請求項4】
前記第1実装面に送風するファンをさらに備えることを特徴とする、
請求項2記載の回路基板。
【請求項5】
前記第1電子部品の出力信号ラインと前記第2電子部品の出力信号ラインを接続するビアを備え、前記第1電子部品と前記第2電子部品とは排他的に実装されることを特徴とする、
請求項1記載の回路基板。
【請求項6】
前記第1実装面に、前記第1電子部品の前記出力信号ラインが接続されるコネクタが設けられることを特徴とする、
請求項5記載の回路基板。
【請求項7】
前記回路基板は、多層構造であり、前記第1実装領域は最外層の一方の層に設けられ、前記第2実装領域は最外層の他方の層に設けられることを特徴とする、
請求項1記載の回路基板。
【請求項8】
請求項1に記載の回路基板と、
前記回路基板に実装される前記第1電子部品と前記第2電子部品とのいずれかにより制御されて、画像を形成する構成部品と、を備えることを特徴とする、
画像形成装置。
【請求項9】
回路基板と、
前記回路基板を支持する支持部材と、を備えた画像形成装置であって、
前記回路基板は、第1機能を少なくとも有する第1電子部品を実装するための第1実装領域と、前記第1電子部品よりも動作時の抵抗値が低く且つ前記第1機能を少なくとも有する第2電子部品を実装するための第2実装領域と、を備え、
前記第1実装領域は、前記回路基板の第1実装面に設けられ、
前記第2実装領域は、前記第1実装面とは異なる前記回路基板の第2実装面に設けられ、
前記回路基板は、前記第2実装面が前記支持部材に対向するように前記支持部材に支持されることを特徴とする、
画像形成装置。
【請求項10】
前記第1実装面に送風するファンをさらに備えることを特徴とする、
請求項9記載の画像形成装置。
(【請求項11】以降は省略されています)
発明の詳細な説明
【技術分野】
【0001】
本発明は、電子部品を実装した回路基板、及びこのような回路基板を有するプリンタ、コピー機、複合機等の画像形成装置に関する。
続きを表示(約 1,700 文字)
【背景技術】
【0002】
画像形成装置は、画像形成のための複数のアクチュエータの制御用に、複数の回路基板を備える。制御用の回路基板には、画像形成制御を行う機能を有する回路基板や、紙搬送制御の機能を有する回路基板等がある。制御用の各回路基板には、実現する機能に合わせて、論理演算を行うための電子部品、駆動制御を行うための電子部品、電源電圧を生成するための電子部品等の複数の電子部品が実装される。回路基板上の電子部品は、プリント配線等の配線により接続される。各電子部品は、周辺の電子部品を含んで所定の機能を実現する電子部品コンポーネントを構成する。例えば、IC(Integrated Circuit)等の半導体装置と、半導体装置の入出力端子に接続される抵抗、コンデンサ、インダクタ等の周辺部品と、により電子部品コンポーネントが構成される。
【0003】
画像形成装置は、用紙搬送、画像形成、用紙への画像転写、用紙への画像の定着等の複数の工程により用紙に画像を印刷する。そのために画像形成装置は、光学センサ、温度センサ、モータ、ソレノイド等の多種多様なアクチュエータを制御する必要がある。画像形成装置に搭載される制御用の回路基板は、アクチュエータ制御用に複数の電子部品が実装される。例えばモータを駆動する回路基板は、モータを適切に制御するために、コントローラから入力される制御信号に基づいてモータの駆動信号を生成するための半導体装置(モータドライバIC)を有する(特許文献1)。
【先行技術文献】
【特許文献】
【0004】
特開2022-6639号公報
【発明の概要】
【発明が解決しようとする課題】
【0005】
本発明者は、電子部品を実装する実装領域を基板の両面に設けることを考案した。しかしながら、従来技術においては、実装領域を基板の両面に設ける際の放熱について十分な検討がなされていなかった。放熱性の低い面に実装された電子部品は、サーマルシャットダウンや誤動作のリスクが高くなる。
【0006】
本発明は、上述の問題に鑑み、電子部品の昇温を低減あるいは抑制することができる回路基板を提供することを主たる目的とする。
【課題を解決するための手段】
【0007】
本発明の回路基板は、第1機能を少なくとも有する第1電子部品を実装するための第1実装領域が設けられる第1実装面と、前記第1電子部品よりも動作時の抵抗値が低く且つ前記第1機能を少なくとも有する第2電子部品を実装するための第2実装領域が設けられる第2実装面と、を備えることを特徴とする。
本発明の画像形成装置は、回路基板と、前記回路基板を支持する支持部材と、を備えた画像形成装置であって、前記回路基板は、第1機能を少なくとも有する第1電子部品を実装するための第1実装領域と、前記第1電子部品よりも動作時の抵抗値が低く且つ前記第1機能を少なくとも有する第2電子部品を実装するための第2実装領域と、を備え、前記第1実装領域は、前記回路基板の第1実装面に設けられ、前記第2実装領域は、前記第1実装面とは異なる前記回路基板の第2実装面に設けられ、前記回路基板は、前記第2実装面が前記支持部材に対向するように前記支持部材に支持されることを特徴とする。
【発明の効果】
【0008】
本発明によれば、電子部品の昇温を抑制して動作不良の発生を抑えることができる。
【図面の簡単な説明】
【0009】
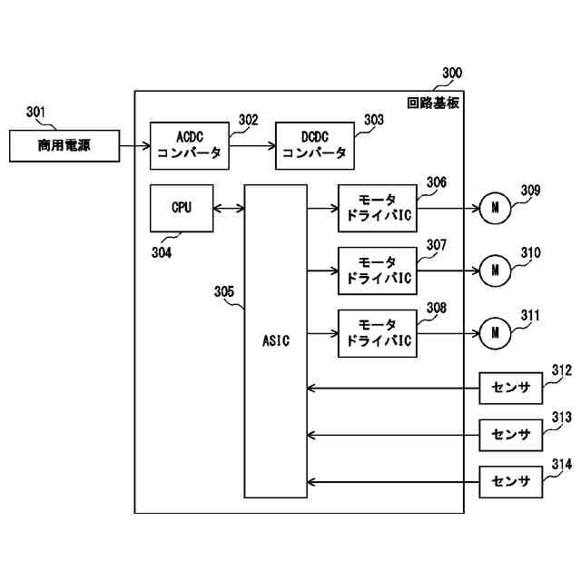
画像形成装置のシステム構成図。
画像形成装置の構成図。
回路基板の構成図。
モータドライバ実装時の回路基板の構成説明図。
【発明を実施するための形態】
【0010】
以下、添付図面を参照して本発明の好適な実施形態について説明する。本実施形態に記載する装置の構成や回路は提案内容を説明するための一例であり、記載される内容に限定されるものではない。
(【0011】以降は省略されています)
この特許をJ-PlatPat(特許庁公式サイト)で参照する
関連特許
キヤノン株式会社
トナー
今日
キヤノン株式会社
トナー
1か月前
キヤノン株式会社
記録装置
15日前
キヤノン株式会社
定着装置
23日前
キヤノン株式会社
定着装置
14日前
キヤノン株式会社
撮像装置
14日前
キヤノン株式会社
記録装置
16日前
キヤノン株式会社
電子機器
16日前
キヤノン株式会社
撮像装置
16日前
キヤノン株式会社
記録装置
今日
キヤノン株式会社
電子機器
1か月前
キヤノン株式会社
現像装置
1か月前
キヤノン株式会社
定着装置
23日前
キヤノン株式会社
電子機器
8日前
キヤノン株式会社
定着装置
23日前
キヤノン株式会社
電子機器
2日前
キヤノン株式会社
光学装置
28日前
キヤノン株式会社
電子機器
23日前
キヤノン株式会社
電子機器
28日前
キヤノン株式会社
電子機器
4日前
キヤノン株式会社
撮像装置
28日前
キヤノン株式会社
撮像装置
25日前
キヤノン株式会社
電子機器
25日前
キヤノン株式会社
撮像装置
8日前
キヤノン株式会社
撮像装置
15日前
キヤノン株式会社
電子機器
8日前
キヤノン株式会社
定着装置
8日前
キヤノン株式会社
発光装置
7日前
キヤノン株式会社
表示装置
7日前
キヤノン株式会社
収容装置
8日前
キヤノン株式会社
撮像装置
今日
キヤノン株式会社
現像剤容器
1日前
キヤノン株式会社
半導体装置
2日前
キヤノン株式会社
画像形成装置
8日前
キヤノン株式会社
光学測定装置
23日前
キヤノン株式会社
画像形成装置
7日前
続きを見る
他の特許を見る