TOP
|
特許
|
意匠
|
商標
特許ウォッチ
Twitter
他の特許を見る
10個以上の画像は省略されています。
公開番号
2025073066
公報種別
公開特許公報(A)
公開日
2025-05-12
出願番号
2024144153
出願日
2024-08-26
発明の名称
時計制御装置
出願人
オメガ・エス アー
代理人
個人
,
個人
,
個人
主分類
G04B
27/00 20060101AFI20250501BHJP(時計)
要約
【課題】作動ツールを必要とせずに時計の機能を制御することを可能にする時計のための制御装置を提供する。
【解決手段】時計のための制御装置1であって、装置1の支持部3に移動可能に取り付けられかつ時計のムーブメントに対して固定されるように意図された竜頭2を備え、竜頭2は、その縦軸Aに対して軸方向に制御位置に向かって移動可能であり、制御位置において、竜頭2)の回転駆動要素が、制御装置1の制御部材4のケーシングリング29内に移動可能に取り付けられたリング10)と協働可能であり、リング10は、竜頭2が回転するときに時計の機能を実行する時計ムーブメントの機構を作動させるように構成される。
【選択図】図1
特許請求の範囲
【請求項1】
時計のための制御装置(1)であって、この装置(1)の支持部(3)に移動可能に取り付けられかつ時計のムーブメントに対して固定されるように意図された竜頭(2)を備え、前記竜頭(2)は、その縦軸(A)に対して軸方向に制御位置に向かって移動可能であり、前記制御位置において、前記竜頭(2)の回転駆動要素(8)が、前記装置(1)の制御部材(4)のケーシングリング(29)内に移動可能に取り付けられたリング(10)と協働可能であり、前記リング(10)は、前記竜頭(2)が回転するときに前記時計の機能を実行する前記時計ムーブメントの機構を作動させるように構成される、制御装置(1)。
続きを表示(約 1,100 文字)
【請求項2】
前記ケーシングリング(29)は、その内周壁(15b)に前記リング(10)と前記駆動要素(8)との協働ゾーン(11)を備え、前記ゾーン(11)は、前記ケーシングリング(29)内に移動可能に取り付けられたこのリング(10)の移動行程を定める停止要素(28)を備える、請求項1に記載の装置(1)。
【請求項3】
前記駆動要素(8)は、前記リング(10)に連結するための連結部分(9c)を備える自由端を有する、請求項1に記載の装置(1)。
【請求項4】
前記駆動要素(8)は、前記リング(10)に連結するための連結部分(9c)を備える自由端を有し、この連結部分(9c)は、前記自由端の外面に対して実質的に垂直に延びる、請求項1に記載の装置(1)。
【請求項5】
前記ケーシングリング(29)は、前記ケーシングリング(29)の内周壁及び外周壁(15a、15b)を相互に連結させる貫通穴(12)を備え、前記穴(12)は、前記自由端のための通過ゾーン(24a、24b)を有する、請求項1に記載の装置(1)。
【請求項6】
前記ケーシングリング(29)は、前記ケーシングリング(29)の内周壁及び外周壁(15a、15b)を相互に連結させる貫通穴(12)を備え、前記穴(12)は、前記自由端のための通過ゾーン(24a、24b)を有し、前記通過ゾーン(24a、24b)は、前記自由端の主要部(23a)を前記穴(12)に配置するように構成された中央部分(26)と、前記連結部分(9c)が前記ケーシングリング(29)の本体を通ることを可能にする通路を形成する偏心部分(25a、25b)とを備える、請求項1から5のいずれか一項に記載の装置(1)。
【請求項7】
前記リング(10)は、前記時計の機能を実行する機構を作動させるように構成された前記部材(4)の旋回要素(14)のための作動要素(30)を備える、請求項1に記載の装置(1)。
【請求項8】
前記制御部材(4)は、前記リング(10)を自動的に休止位置に戻すように構成された第1の弾性戻り要素(18)を備える、請求項1に記載の装置(1)。
【請求項9】
前記制御部材(4)は、前記リング(10)を自動的に休止位置に戻すように構成された第1の弾性戻り要素(18)を備え、前記駆動要素(8)は、前記竜頭(2)のヘッド(7)と一体である、請求項1に記載の装置(1)。
【請求項10】
請求項1に記載の制御装置(1)を備える時計。
発明の詳細な説明
【技術分野】
【0001】
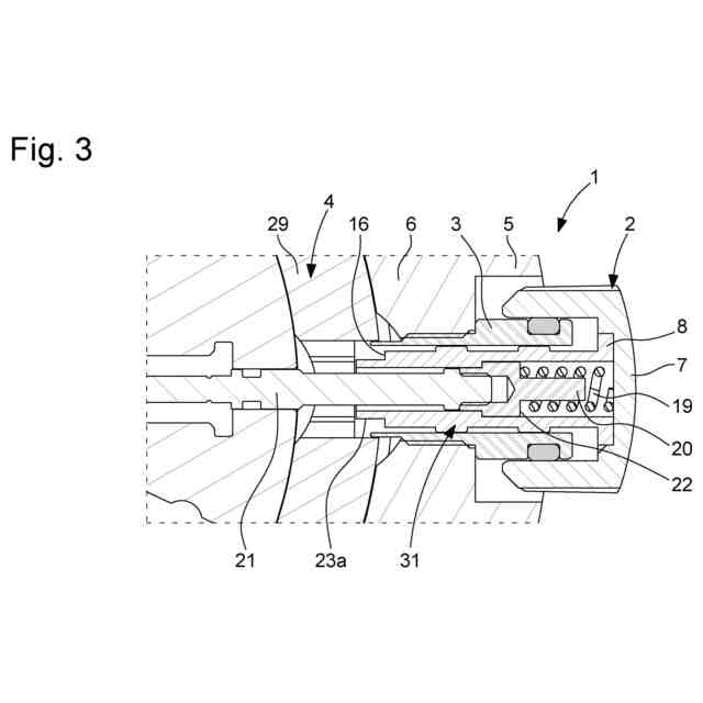
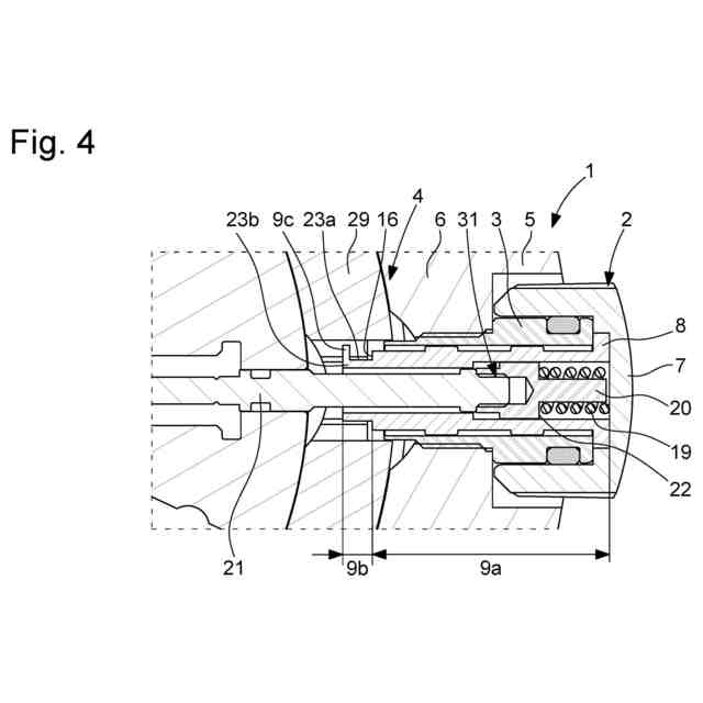
本発明は、時計製造の分野、特に時計制御装置に関する。
続きを表示(約 1,500 文字)
【背景技術】
【0002】
従来技術において、押しボタンなどの制御装置が、特定の時計、特に多数の機能を特徴とし得る、いわゆる「グランドコンプリケーション」ウオッチに使用されている。これらの押しボタンは、典型的には時計のミドル部に埋め込まれる小型の押しボタンを含む様々なタイプのものである。
【0003】
このような小型の押しボタンは、一般に非常に小さく、特にこれらの時計のケース筐体内で、スペースを節約する。さらに、それらはミドル部から突出していないため、偶発的な操作の危険性がない。
【0004】
しかしながら、このような押しボタンの欠点の1つは、時刻、日付、月相、又はカレンダーの設定などの時計機能を制御するための操作を行う際に、必ず先の尖った作動ツールの使用を必要とすることである。このような使用は、時計ケースに損傷を与え、その結果このケースの美的外観を変えてしまうというかなりのリスクを伴う。
【0005】
このような状況下で、従来技術のこれらの欠点を克服するための解決策を見出す必要があることが分かる。
【発明の概要】
【発明が解決しようとする課題】
【0006】
本発明の目的の1つは、作動ツールを必要とせずに時計の機能を制御することを可能にする時計のための制御装置を提供することである。
【0007】
本発明のもう1つの目的は、時計ケースミドル部における押しボタンの必要性を減らすか又はなくすことである。
【課題を解決するための手段】
【0008】
本発明は、時計のための制御装置であって、この装置の支持部に移動可能に取り付けられかつ時計のムーブメントに対して固定されるように意図された竜頭を備え、前記竜頭は、その縦軸に対して軸方向に制御位置に向かって移動可能であり、制御位置において、前記竜頭の回転駆動要素が、前記装置の制御部材のケーシングリング内に移動可能に取り付けられたリングと協働可能であり、前記リングは、竜頭が回転するときに時計の機能を実行する時計ムーブメントの機構を作動させるように構成される、制御装置に関する。
【0009】
他の実施形態において、
・ケーシングリングは、その内周壁にリングと駆動要素との協働ゾーンを備え、前記ゾーンは、ケーシングリング内に移動可能に取り付けられたこのリングの移動行程を定める停止要素を備える。
・駆動要素は、リングに連結するための連結部分を備える自由端を有する。
・連結部分は、前記自由端の外面に対して実質的に垂直に延びる。
・ケーシングリングは、前記ケーシングリングの内周壁と外周壁とを相互に連結させる貫通穴を備え、穴は、前記自由端のための通過ゾーンを有する。
・通過ゾーンは、自由端の主要部を前記穴に配置するように構成された中央部分と、連結部分が前記ケーシングリングの本体を通ることを可能にする通路を形成する偏心部分とを備える。
・リングは、時計の機能を実行する機構を作動させるように構成された部材の旋回要素のための作動要素を備える。
・制御部材は、リングを自動的に休止位置に戻すように構成された第1の弾性戻り要素を備える。
・駆動要素は、竜頭のヘッドと一体である。
【0010】
本発明の別の態様は、このような制御装置を備える時計に関する。
【図面の簡単な説明】
(【0011】以降は省略されています)
この特許をJ-PlatPat(特許庁公式サイト)で参照する
関連特許
オメガ・エス アー
時計の複数の機能を操作するための装置
4か月前
オメガ・エス アー
金で作られた計時器、宝石又はジェムストーンジュエリ
1か月前
オメガ・エス アー
時計、計器、機械式ムーブメント、機械式ムーブメントまたは計器用の金属シャフト及びその製造方法
1か月前
個人
砂時計
19日前
個人
目覚し時計
2か月前
個人
時刻同期システム
21日前
セイコーエプソン株式会社
時計
3か月前
個人
自照式の針により認視性を高めたアナログ式時計
3か月前
セイコーエプソン株式会社
電子時計
2か月前
ローム株式会社
時間測定回路
今日
株式会社村田製作所
光学的パターン表示物品
5日前
セイコーエプソン株式会社
電子制御式機械時計
7日前
セイコーエプソン株式会社
電子制御式機械時計
3か月前
シチズン時計株式会社
電子時計
1か月前
シチズン時計株式会社
機械式時計
3か月前
シチズン時計株式会社
機械式時計
2か月前
シチズン時計株式会社
機械式時計
1か月前
セイコーエプソン株式会社
ムーブメント及び時計
3か月前
セイコーエプソン株式会社
電子時計
3か月前
カシオ計算機株式会社
装飾板及び時計
6日前
カシオ計算機株式会社
制御装置、制御方法、及びプログラム
6日前
セイコータイムクリエーション株式会社
からくり時計
5日前
セイコーエプソン株式会社
機械式時計
20日前
カシオ計算機株式会社
機器ケース及び時計
29日前
カシオ計算機株式会社
機器ケース及び時計
2か月前
セイコーエプソン株式会社
時計および風防部材の製造方法
今日
セイコーエプソン株式会社
インデックス、文字板、及び時計
1か月前
カシオ計算機株式会社
外装部品ユニット及び時計
5日前
住友ベークライト株式会社
計時装置、計時方法および検査装置
3か月前
カシオ計算機株式会社
電子時計及び電子時計本体
20日前
セイコーウオッチ株式会社
時計、音声再生方法およびプログラム
1か月前
モントレー ブレゲ・エス アー
表示機構のための調整システム
3か月前
モントレー ブレゲ・エス アー
プレート上のディスプレイモジュールの配置
3か月前
カシオ計算機株式会社
電子時計、外装部材及びバンド
20日前
セイコーエプソン株式会社
機械式時計及び機械式時計の組み立て方法
2か月前
カシオ計算機株式会社
指針、時計、及び指針の製造方法
1か月前
続きを見る
他の特許を見る