TOP
|
特許
|
意匠
|
商標
特許ウォッチ
Twitter
他の特許を見る
10個以上の画像は省略されています。
公開番号
2025127716
公報種別
公開特許公報(A)
公開日
2025-09-02
出願番号
2024024587
出願日
2024-02-21
発明の名称
指針、時計、及び指針の製造方法
出願人
カシオ計算機株式会社
代理人
弁理士法人鈴榮特許綜合事務所
主分類
G04B
19/04 20060101AFI20250826BHJP(時計)
要約
【課題】針本体の損傷を防止できる指針、時計、及び指針の製造方法を提供する。
【解決手段】一形態にかかる指針21は、金属材料で構成され、孔41が形成された針体40と、前記針体40の一方の面側に配置されたベース部31と、前記針体40の前記孔内及び前記針体40の他方の面側に配置され前記針体40の厚み方向の移動を規制する抜け止め部32eを有するはかま30と、を備え、前記抜け止め部32は、前記係合部の縁部の長手方向両端部に設けられ、前記長手方向両側に突出して前記針体40の前記他方の面側または前記押さえ部50の前記他方の面側に対向配置され、前記針体40にかしめ固定される。
【選択図】図3
特許請求の範囲
【請求項1】
金属材料で構成され、孔が形成された針体と、
前記針体の一方の面側に配置されたベース部と、少なくとも一部が前記針体の前記孔に配置される係合部と、を有するはかまと、
を備え、
前記係合部は縁部の前記針体の長手方向両端部に、前記長手方向両側に突出して前記針体にかしめ固定され、前記針体の厚み方向の移動を規制する抜け止め部を有する、指針。
続きを表示(約 910 文字)
【請求項2】
前記針体の前記孔の内壁面は、前記係合部の外周に沿って弧状に湾曲する周縁部と、前記針体の長手方向に沿う直縁部と、を含む、請求項1に記載の指針。
【請求項3】
前記針体の前記孔の内壁面は、対向する一対の直縁部と、前記係合部の前記指針の短手方向の両側に配され一対の直縁部の両端部同士を接続する一対の前記周縁部と、を含み、
前記係合部は、輪列機構の軸が配される軸孔を有するとともに、前記内壁面の形状に沿う外壁部を有する、請求項2に記載の指針。
【請求項4】
前記針体の前記他方の面側に対向配置されるとともに前記係合部の外周部に装着される押さえ部材を備える、請求項3に記載の指針。
【請求項5】
前記針体の前記孔の内壁面は、前記周縁部と前記直縁部との間に形成される凹部を含む、請求項2に記載の指針。
【請求項6】
前記押さえ部材は、前記係合部の前記抜け止め部よりも前記針体側に装着されるばね材である、請求項4に記載の指針。
【請求項7】
請求項1乃至6のいずれかに記載の指針と、
前記指針と接続される輪列機構と、
を備える、時計。
【請求項8】
金属材料で構成され、ベース部及び係合部を有するはかまの前記係合部を、孔が形成された針体の前記孔内に、挿入することと、
前記係合部の先端部をかしめ加工することで、前記係合部の前記針体の長手方向の両端部に、前記長手方向両側に突出して前記針体にかしめ固定され前記針体の厚み方向の移動を規制する抜け止め部を形成することと、
を備える、
指針の製造方法。
【請求項9】
前記孔の内壁面は、前記係合部の外周に沿って弧状に湾曲する周縁部と、前記針体の長手方向に沿う直縁部と、を含む、
前記係合部の先端部は、前記針体の長手方向両側に、中央部よりも軸方向に高く形成された突出部を有し、
前記かしめ加工により、前記長手方向両側の突出部が、変形により、前記針孔の外側に向けて延出する、請求項8に記載の指針の製造方法。
発明の詳細な説明
【技術分野】
【0001】
本発明は、指針、時計、及び指針の製造方法に関する。
続きを表示(約 1,600 文字)
【背景技術】
【0002】
特許文献1には、金属材にて成形され穴が形成された指針部と、指針部の一方の面側に配置され穴を塞ぐベース部、及び指針部の穴内及び指針部の他方の面側に配置され穴の軸方向の移動を規制する部分を有するハカマ部と、を備える指針体構造が開示されている。更に、指針部の穴の内縁は、針体の長手方向に沿う部分が弧状に湾曲している構成、ハカマ部は樹脂で形成されているため、インサート成形により指針部とハカマ部とを結合させた構成が開示されている。
【先行技術文献】
【特許文献】
【0003】
実開昭55-97421号公報
【発明の概要】
【発明が解決しようとする課題】
【0004】
しかしながら、ハカマ部が金属で形成された場合には、ハカマ部の回転止めと抜け止めのためハカマ部を指針部にかしめ固定する必要が生じる。その際、ハカマ部が潰れて穴が外側に広がる方向の応力が指針部に掛かるため、指針部の変形やクラックなどの損傷が発生する場合がある。
【0005】
本発明は、針本体の損傷を防止できる指針、時計、及び指針の製造方法を提供することを目的とする。
【課題を解決するための手段】
【0006】
本発明の一形態にかかる指針は、金属材料で構成され、孔が形成された針体と、前記針体の一方の面側に配置されたベース部と、少なくとも一部が前記針体の前記孔に配置される係合部と、を有するはかまと、を備え、前記係合部は縁部の前記針体の長手方向両端部に、前記長手方向両側に突出して前記針体にかしめ固定され、前記針体の厚み方向の移動を規制する抜け止め部を有する。
【発明の効果】
【0007】
本発明によれば、針本体の損傷を防止できる指針、時計、及び指針の製造方法を提供できる。
【図面の簡単な説明】
【0008】
第1実施形態に係る時計の構成を示す平面図である。
同時計の指針モジュールの構成を示す断面図である。
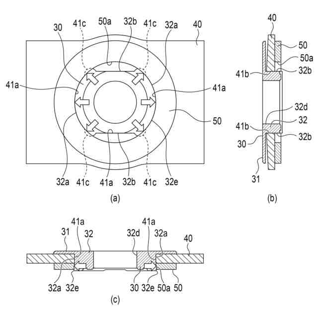
同指針モジュールの指針の構成を示す上面から見た平面図である。
同指針の構成を示す下面から見た平面図である。
同指針の構成を示す図3、図4に示すA-A断面の断面図である。
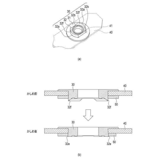
(a)は同指針の針体に固定されたはかまの構成を示す斜視図である。(b)は同指針の針体に固定されたはかまの構成を示す断面図である。
同指針の針体の構成を示す斜視図である。
同指針の一部の構成を示す平面図及び断面図である。
第2実施形態に係る指針の構成を示す平面図及び断面図である。
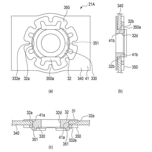
第3実施形態に係る指針の構成を示す平面図及び断面図である。
(a)は、第4実施形態に係る同指針の製造方法におけるはかまのかしめ加工前を示す斜視図である。(b)は、同指針の製造方法におけるはかまのかしめ加工後を示す斜視図である。
【発明を実施するための形態】
【0009】
[第1実施形態]
以下、本発明の第1実施形態にかかる時計10の構成について、図1乃至図9を参照して説明する。例えば時計10は、時計ガラス側を表側とし、裏蓋側を裏側として、説明する。図中X、Y、Zは互いに直交する三方向をそれぞれ示す。例えば本実施形態において、時計10は、Z軸に沿う第1方向が時計10の表裏方向に沿う姿勢を例として説明するが、これに限られるものではない。なお、各図において、適宜構成を拡大、縮小、省略して概略的に示す。
【0010】
図1に示すように、時計10は、例えば腕時計であり、外郭を構成するケース11と、ケース11内に設けられた時計モジュール13と、時計モジュール13の表側を覆う時計ガラスと、時計モジュール13の裏側を覆う裏蓋(図示せず)と、ケース11の外周に配された複数のスイッチ17と、を備える。
(【0011】以降は省略されています)
この特許をJ-PlatPat(特許庁公式サイト)で参照する
関連特許
カシオ計算機株式会社
減音器具
1日前
カシオ計算機株式会社
減音器具
1日前
カシオ計算機株式会社
装飾板及び時計
今日
カシオ計算機株式会社
光源装置及び投影装置
13日前
カシオ計算機株式会社
光源装置及び投影装置
13日前
カシオ計算機株式会社
光源装置及び投影装置
1日前
カシオ計算機株式会社
光源装置及び投影装置
1日前
カシオ計算機株式会社
端末装置及びプログラム
1日前
カシオ計算機株式会社
電子時計及び電子時計本体
14日前
カシオ計算機株式会社
電子機器、及び表示制御方法
3日前
カシオ計算機株式会社
電子時計、外装部材及びバンド
14日前
カシオ計算機株式会社
制御装置、方法およびプログラム
3日前
カシオ計算機株式会社
演奏装置、方法およびプログラム
1日前
カシオ計算機株式会社
制御装置、方法およびプログラム
3日前
カシオ計算機株式会社
補助バスマスタ回路及び電子機器
3日前
カシオ計算機株式会社
演奏装置、方法およびプログラム
今日
カシオ計算機株式会社
発音装置及び音出力制御システム
13日前
カシオ計算機株式会社
時計、表示制御方法及びプログラム
14日前
カシオ計算機株式会社
制御装置、制御方法、及びプログラム
今日
カシオ計算機株式会社
発音装置、接続装置及び音出力システム
13日前
カシオ計算機株式会社
テープ製造方法及びテープ製造システム
21日前
カシオ計算機株式会社
位置推定装置、位置推定方法、プログラム
21日前
カシオ計算機株式会社
情報処理装置、表示方法、及びプログラム
3日前
カシオ計算機株式会社
情報提供装置、情報提供方法及びプログラム
1日前
カシオ計算機株式会社
切断制御装置、切断制御方法及びプログラム
13日前
カシオ計算機株式会社
情報伝送システム、情報伝送方法及び電子機器
21日前
カシオ計算機株式会社
入力装置、電子楽器、設定方法及びプログラム
21日前
カシオ計算機株式会社
投影装置、投影装置の調整方法及びプログラム
今日
カシオ計算機株式会社
投影装置、投影装置の調整方法及びプログラム
今日
カシオ計算機株式会社
学習支援装置、学習支援方法およびプログラム
13日前
カシオ計算機株式会社
情報処理装置、表示制御方法、及びプログラム
21日前
カシオ計算機株式会社
電子時計、電子時計の制御方法及びプログラム
3日前
カシオ計算機株式会社
電子機器、電子機器の制御方法及びプログラム
3日前
カシオ計算機株式会社
情報処理装置、表示制御方法、及び、プログラム
1日前
カシオ計算機株式会社
走歩行評価方法、走歩行評価装置及びプログラム
13日前
カシオ計算機株式会社
情報処理装置、電子楽器、方法およびプログラム
今日
続きを見る
他の特許を見る