TOP
|
特許
|
意匠
|
商標
特許ウォッチ
Twitter
他の特許を見る
公開番号
2025073401
公報種別
公開特許公報(A)
公開日
2025-05-13
出願番号
2023184151
出願日
2023-10-26
発明の名称
微細気泡発生装置及びそれを備えた洗濯機
出願人
青島海爾洗衣机有限公司
,
QINGDAO HAIER WASHING MACHINE CO.,LTD.
,
アクア株式会社
代理人
個人
,
個人
,
個人
主分類
D06F
58/02 20060101AFI20250502BHJP(繊維または類似のものの処理;洗濯;他に分類されない可とう性材料)
要約
【課題】吸引した気体を攪拌してより多くの微細気泡を発生させることができる微細気泡発生装置、及びそれを備えた洗濯機を提供する。
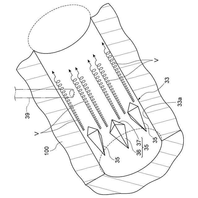
【解決手段】微細気泡発生装置30は、ケーシング100内において中心軸線Aに沿って形成された流路Fを備える。流路Fが、入口30a側に形成された第1流路部31と、出口30b側に形成された第2流路部32と、第1流路部31と第2流路部32の間に形成された絞り流路部33と、を有する。絞り流路部33の周面には、中心軸線Aに向けて突出する複数の突起35が設けられている。複数の突起35の下流側には、ケーシング100の外部から供給される気体を導入する気体導入部39が接続されている。
【選択図】図3
特許請求の範囲
【請求項1】
ケーシング内において中心軸線に沿って流路が形成された微細気泡発生装置であって、
前記流路が、
前記ケーシングの入口側に形成された第1流路部と、
前記ケーシングの出口側に形成された第2流路部と、
前記第1流路部と前記第2流路部の間に形成された絞り流路部と、を有し、
前記絞り流路部の周面には、前記中心軸線に向けて突出する複数の突起が設けられており、
前記複数の突起の下流側には、前記ケーシングの外部から供給される気体を導入する気体導入部が接続されている、微細気泡発生装置。
続きを表示(約 390 文字)
【請求項2】
前記複数の突起の先端によって画定される中央流路部の前記中心軸線からの半径は、前記複数の突起のそれぞれが突出する高さよりも大きい、請求項1に記載の微細気泡発生装置。
【請求項3】
前記複数の突起のうちの隣り合う2つの突起の周方向における間隙は、各突起に対応した旋回流を発生させる程度の幅を有する、請求項1又は2に記載の微細気泡発生装置。
【請求項4】
前記複数の突起のそれぞれは、上流側に頂点が配置された三角錐状部を含む、請求項1又は2に記載の微細気泡発生装置。
【請求項5】
筐体内に配置された外槽と、
前記外槽に取り付けられ、出口が前記外槽の内部に向けられた請求項1又は2に記載の微細気泡発生装置と、
前記筐体内に設けられ、前記気体を前記気体導入部に供給する気体供給装置と、を備える洗濯機。
発明の詳細な説明
【技術分野】
【0001】
本発明は、微細気泡発生装置及びそれを備えた洗濯機に関する。
続きを表示(約 1,400 文字)
【背景技術】
【0002】
従来、例えば特許文献1に記載されるように、ナノレベルに超微細化させた気体を液体に混合させる装置が知られている。この装置は、筒状のケーシング内に流速増速部と気体吸引部とを備える。気体吸引部にて吸引された気体は、流速増速部においてせん断され、超微細気泡混じりの液体が生成される。流速増速部の上流側には、流路の軸心周りに旋回流を発生させる旋回手段(旋回流形成部)が設けられている。
【先行技術文献】
【特許文献】
【0003】
国際公開第2012/105536号
【発明の概要】
【発明が解決しようとする課題】
【0004】
上記の特許文献1に記載された装置では、流路の軸心に対して捩れた形状の旋回手段が設けられ、流体全体を軸心周りに旋回させ、吸引された気体と混合させている。この構造では、微細気泡の発生量が不十分になる傾向があった。
【0005】
本発明は、吸引した気体を攪拌してより多くの微細気泡を発生させることができる微細気泡発生装置、及びそれを備えた洗濯機を提供することを目的とする。
【課題を解決するための手段】
【0006】
[1]本開示の一態様は、ケーシング内において中心軸線に沿って流路が形成された微細気泡発生装置であって、流路が、ケーシングの入口側に形成された第1流路部と、ケーシングの出口側に形成された第2流路部と、第1流路部と第2流路部の間に形成された絞り流路部と、を有し、絞り流路部の周面には、中心軸線に向けて突出する複数の突起が設けられており、複数の突起の下流側には、ケーシングの外部から供給される気体を導入する気体導入部が接続されている。
【0007】
[1]の微細気泡発生装置によれば、外部から供給される気体が、気体導入部を介して流路内に導入される。導入された気体は、絞り流路部によって生じた圧力差により自吸される。絞り流路部に設けられた複数の突起によって、突起の下流側に流体の旋回流(又は渦流)が形成される。導入された気体は、これらの旋回流に巻き込まれることで流体と攪拌され、微細化される。これにより、流体中により多くの微細気泡を発生させることができる。
【0008】
[2]上記[1]の微細気泡発生装置において、複数の突起の先端によって画定される中央流路部の中心軸線からの半径は、複数の突起のそれぞれが突出する高さよりも大きくてもよい。この構成によれば、各突起の高さが抑えられており、中央流路部の断面積が確保されている。これにより、流体の主たる流れを阻害することなく、周面付近のみにおいて複数の旋回流を発生させることができる。
【0009】
[3]上記[1]又は[2]の微細気泡発生装置において、複数の突起のうちの隣り合う2つの突起の周方向における間隙は、各突起に対応した旋回流を発生させる程度の幅を有してもよい。この構成によれば、各突起に対応した旋回流を確実に発生させることができ、より好適な攪拌効果を得ることができる。
【0010】
[4]上記[1]~[3]の何れか一つの微細気泡発生装置において、複数の突起のそれぞれは、上流側に頂点が配置された三角錐状部を含んでもよい。この構成によれば、流体の流れは三角錐状部の側面上を通り過ぎ、各突起の下流側で旋回流を発生させやすい。
(【0011】以降は省略されています)
この特許をJ-PlatPat(特許庁公式サイト)で参照する
関連特許
個人
洗濯装置
1か月前
個人
ハンガー保持具
3か月前
東レ株式会社
繊維断面の検査方法
5日前
株式会社青柳
染め加工方法
26日前
ライオン株式会社
液体柔軟剤組成物
3か月前
シャープ株式会社
洗濯機
3か月前
日本バイリーン株式会社
内装用表面材
3か月前
花王株式会社
洗浄剤組成物
2か月前
有限会社高田紙器製作所
紙製洗濯バサミ
2か月前
東レ株式会社
樹脂含浸繊維束の製造方法
2か月前
東レ株式会社
炭素繊維シートの製造方法
1か月前
東レ株式会社
ゴム補強用合成繊維コード
12日前
シャープ株式会社
洗濯乾燥機
3か月前
株式会社創和
ボックス状洗濯ネット
27日前
株式会社大阪ソーダ
撥水撥油性繊維処理剤
1か月前
シャープ株式会社
洗濯機
1か月前
個人
洗濯用洗剤容器の蓋
1か月前
日本バイリーン株式会社
表皮材とその製造方法
3か月前
株式会社コーワ
フィルター清掃装置及び乾燥機
3か月前
株式会社コーワ
フィルター清掃装置及び乾燥機
3か月前
大阪瓦斯株式会社
衣類乾燥機
1か月前
松本油脂製薬株式会社
繊維用処理剤及びその利用
1か月前
大阪瓦斯株式会社
衣類乾燥機
1か月前
大阪瓦斯株式会社
衣類乾燥機
1か月前
東レ株式会社
人工皮革、乗物用内装材、および座席
3か月前
シャープ株式会社
洗濯機
2か月前
シャープ株式会社
洗濯機
2か月前
個人
開閉角度調整可能な角型折畳みピンチハンガー
1か月前
株式会社コーワ
フィルター装置及び洗濯機又は乾燥機
3か月前
シャープ株式会社
衣類処理システム
1か月前
個人
パイプ用係止、固定装置及び洗濯バサミ取り付け具
1か月前
東レ株式会社
人工皮革およびその製造方法ならびに雑貨
27日前
シャープ株式会社
洗濯機
2か月前
東レ株式会社
抗菌性アクリル系繊維およびその製造方法
28日前
東芝ライフスタイル株式会社
洗濯機
1か月前
セイコーエプソン株式会社
記録装置
3か月前
続きを見る
他の特許を見る