TOP
|
特許
|
意匠
|
商標
特許ウォッチ
Twitter
他の特許を見る
10個以上の画像は省略されています。
公開番号
2025133063
公報種別
公開特許公報(A)
公開日
2025-09-10
出願番号
2025027760
出願日
2025-02-25
発明の名称
人工皮革およびその製造方法ならびに雑貨
出願人
東レ株式会社
代理人
主分類
D06N
3/00 20060101AFI20250903BHJP(繊維または類似のものの処理;洗濯;他に分類されない可とう性材料)
要約
【課題】 高厚みであっても強度や耐摩耗性に優れ、かつ、両表面で優れた立毛品位を発現できる人工皮革を提供する。
【解決手段】 極細繊維で構成されてなる不織布と、
織編物と、
を含む繊維絡合体と、
高分子弾性体と、
を有する、両表面が立毛を有する表面である人工皮革であって、
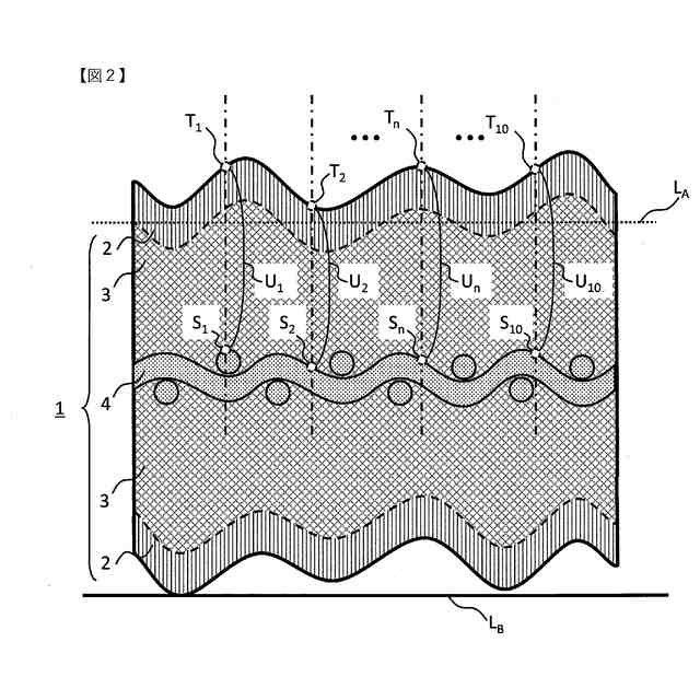
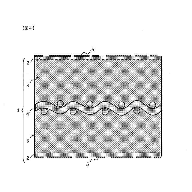
繊維絡合体は、不織布、織編物、不織布の順に積層されてなり、
不織布は、それぞれ厚みが1.0mm以上2.0mm以下、かつ、一方の不織布に対する他方の不織布の厚みの比が3/5~5/3の範囲内であり、
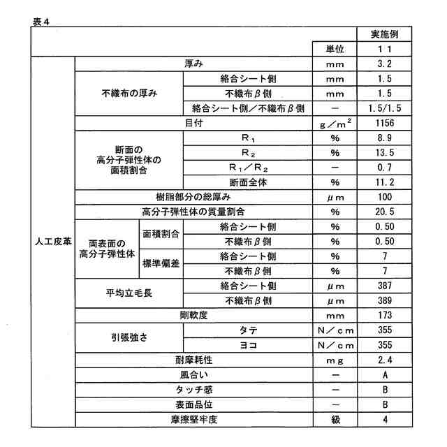
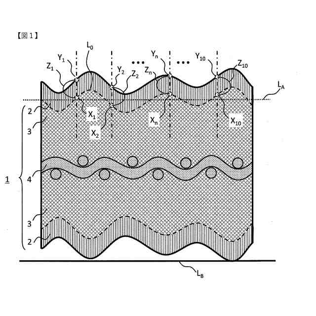
人工皮革の断面において以下の式1を満たす、人工皮革とする。
0.5≦R
1
/R
2
≦0.9 ・・・(式1)
ここで、
R
1
、R
2
は、それぞれ人工皮革の断面において、不織布部分から立毛である部分を除いた領域について厚さ方向に3等分した領域における最も立毛側の部分の高分子弾性体の面積割合(%)、最も織編物側の部分における高分子弾性体の面積割合(%)である。
【選択図】 なし
特許請求の範囲
【請求項1】
平均単繊維直径が0.01μm以上10.00μm以下の極細繊維で構成されてなる不織布と、
織編物と、
を含む繊維絡合体と、
高分子弾性体と、
を有する、両表面が立毛を有する表面である人工皮革であって、
前記繊維絡合体は、前記不織布、前記織編物、前記不織布の順に積層されてなり、
前記不織布は、それぞれ厚みが1.0mm以上2.0mm以下、かつ、一方の不織布に対する他方の不織布の厚みの比が3/5~5/3の範囲内であり、
前記人工皮革の断面において以下の式1を満たす、人工皮革。
0.5≦R
1
/R
2
≦0.9 ・・・(式1)
ここで、
R
1
:前記人工皮革の断面において、前記不織布部分から立毛である部分を除いた領域について厚さ方向に3等分した領域における最も立毛側の部分の高分子弾性体の面積割合(%)
R
2
:前記人工皮革の断面において、前記不織布部分から立毛である部分を除いた領域について厚さ方向に3等分した領域における最も織編物側の部分における高分子弾性体の面積割合(%)
続きを表示(約 1,700 文字)
【請求項2】
前記人工皮革の断面全体における高分子弾性体の面積割合が5.0%以上15.0%以下である、請求項1に記載の人工皮革。
【請求項3】
前記人工皮革の表面から測定される高分子弾性体の面積割合が、両表面ともに0.01%以上3.00%以下である、請求項1または2に記載の人工皮革。
【請求項4】
前記人工皮革の少なくとも一方の表面の平均立毛長が200μm以上600μm以下である、請求項1または2に記載の人工皮革。
【請求項5】
前記人工皮革の少なくとも一方の表面に非連続な樹脂部が形成されている、請求項1または2に記載の人工皮革。
【請求項6】
平均単繊維直径が0.01μm以上10.00μm以下の極細繊維で構成されてなる不織布と、
織編物と、
を含む繊維絡合体と、
高分子弾性体と、
を有する、両表面が立毛を有する表面である人工皮革の製造方法であって、
極細繊維発現型繊維からなる不織布αの片面に織編物を絡合一体化させ、絡合シートを形成する工程と、
極細繊維発現型繊維からなる不織布βを形成する工程と、
前記絡合シートと前記不織布βとを、前記織編物が前記不織布αと前記不織布βに挟まれるように積層するとともに、ニードルパンチにより絡合一体化させ、前駆体シートを形成する工程と、
前記前駆体シートに水溶性樹脂を付与し、水溶性樹脂付シートを形成する工程と、
前記水溶性樹脂付シート中の前記極細繊維発現型繊維から前記極細繊維を発生させ、極細繊維シートを形成する工程と、
前記極細繊維シートに高分子弾性体を付与し、高分子弾性体付シートを形成する工程と、
前記高分子弾性体付シートの両表面を研削し、起毛シートを形成する工程と、
を有し、さらに、
前記前駆体シートを形成する工程において、
前記絡合一体化前の前記絡合シートおよび前記不織布βが以下の式2を満たし、
前記絡合一体化が、以下の式3を満たす、
人工皮革の製造方法。
0.30≦V
β1
/V
A
≦0.80 ・・・(式2)
0.30≦D
A
/D
β
≦0.70 ・・・(式3)
ここで、
V
A
:前記絡合一体化前の前記絡合シートの見かけ密度(g/cm
3
)
V
β1
:前記絡合一体化前の前記不織布βの見かけ密度(g/cm
3
)
D
A
:前記絡合シート側から打ち込まれるニードルパンチ密度(本/cm
2
)
D
β
:前記不織布β側から打ち込まれるニードルパンチ密度(本/cm
2
)
【請求項7】
前記V
A
および前記V
β1
が、ともに0.01g/cm
3
以上0.30g/cm
3
以下である、請求項6に記載の人工皮革の製造方法。
【請求項8】
前記水溶性樹脂付シートを形成する工程において、前記水溶性樹脂を前記前駆体シートの質量に対して0.1質量%以上30.0質量%以下付与する、請求項6または7に記載の人工皮革の製造方法。
【請求項9】
前記高分子弾性体付シートを形成する工程において、前記高分子弾性体を前記水溶性樹脂付シートの質量に対して10質量%以上40質量%以下付与する、請求項6または7に記載の人工皮革の製造方法。
【請求項10】
前記起毛シートの表面に樹脂を塗布することで前記人工皮革の少なくとも一方の表面に非連続な樹脂部を形成する工程を有する、請求項6または7に記載の人工皮革の製造方法。
(【請求項11】以降は省略されています)
発明の詳細な説明
【技術分野】
【0001】
本発明は、人工皮革およびその製造方法に関する。
続きを表示(約 3,900 文字)
【背景技術】
【0002】
主として極細繊維からなる不織布を構成要素として含む繊維絡合体と高分子弾性体とからなる天然皮革調の人工皮革は、耐久性の高さや品質の均一性など、天然皮革に比べて優れた特徴を有している。人工皮革の種類は多岐にわたり、表面を起毛したスエード調のものや、表層に高分子弾性体を付与した銀面調のものなど、用途に応じて多様化している。
【0003】
スエード調の人工皮革は、表面起毛部による均一な手触り感や光沢感が高品位として評価され、自動車内装材、家具、雑貨、衣料など、幅広い用途に使用されている。特に、帽子、鞄、ストラップなどに使用される場合、強度、着用感、充実感のあるタッチ感が求められ、両表面に起毛された人工皮革が一般的に使用されている。
【0004】
しかし、このような場合、片面使用を想定して作られた人工皮革の裏面同士を縫製や糊剤で貼り合わせる必要があり、これにより加工賃の増加や剥離強度の低下が潜在的な課題となる。したがって、加工賃の削減や剥離強度の低下防止の観点から、1枚もので両表面に優れた立毛品位、強度、充実感のあるタッチ感を有する人工皮革が求められている。両表面に立毛品位があり、強度、耐摩耗性に優れた人工皮革としては様々な提案がなされている。
【0005】
例えば、特許文献1では、極細繊維が交絡してなる不織布層と、不織布層の間に存在する織編物類とよりなる不織布布帛構造物の組織間隙に、ゴム状弾性体を介在させ、その両表面に極細繊維の立毛を有するスエード調人工皮革において、二つの不織布層が、異なる繊維素材の極細繊維より構成されるとともに織編物類と積層されて積層構造物を形成し、織編物類の両側の不織布層の極細繊維が、織編物類の近くでは相互に混合するものの繊維構造物の表層部においては実質的に混合していない、両表面にそれぞれ繊維素材の異なる極細繊維の立毛を有するスエード調人工皮革が提案されている。これによれば、両表面がともに起毛されており、かつ、表裏面が異なる色調に染色された、優れたリバーシブル効果があるスエード調人工皮革を提供できると記載されている。また、特許文献2では、極細繊維からなる不織布に織物が絡合一体化されてなる繊維絡合体と、高分子弾性体とからなる人工皮革であって、両表面が立毛を有し、前記織物に近い側の立毛を有する表面の平均立毛長が50μm以上150μm以下かつ立毛長のCV値が30%以下であり、人工皮革の厚み方向断面において、織物と織物に近い側の立毛を有する表面との間の距離が前記織物の厚みの半分より大きいことを満たす人工皮革が提案されている。これによれば、摩擦や揉みに対する繊維脱落が少なく、特に洗濯機による水洗を行った場合でも、外観や物性の低下が少ない人工皮革を得ることができる。さらに、この人工皮革は、天然皮革調の優美な外観と柔軟なタッチ感を有しており、家具、椅子および車両内装材から衣料用途まで幅広く用いられると記載されている。
【先行技術文献】
【特許文献】
【0006】
特開昭57-11280号公報
特開2022-44226号公報
【発明の概要】
【発明が解決しようとする課題】
【0007】
特許文献1に開示されるような技術においては、人工皮革の内部に織編物類が存在し、織編物に隣接する不織布層の極細繊維の一部が織編物類の組織の中に入り込んで相互に一体に交絡し、かつ、人工皮革の両表面に立毛品位を有するため、強度に優れた人工皮革を得ることができる。しかしながら、そのような人工皮革においても、人工皮革の厚みを増加させると、不織布層と織編物との絡合状態が不十分となり耐摩耗性が低下するため、厚みに充実感のある人工皮革が得られにくいという課題がある。
【0008】
また、特許文献2に開示されるような技術においては、人工皮革の不織布と織物を絡合一体化し、織物に近い側の表面の立毛長を特定の範囲かつ均一にすることで、人工皮革の両表面に立毛品位を有し、かつ、強度や耐摩耗性に優れた人工皮革を得ることができる。しかしながら、そのような人工皮革においては、織物に近い側の立毛を有する表面の立毛長が短くなり、両表面の立毛差により両表面の品位に差ができるため、両表面に十分に優れた立毛品位のある人工皮革を得るという点では課題が残る。
【0009】
そこで本発明は、上記の事情に鑑みてなされたものであって、その目的は、高厚みであっても強度や耐摩耗性に優れ、かつ、両表面で優れた立毛品位を発現できる人工皮革を提供することにある。
【課題を解決するための手段】
【0010】
上記の目的を達成すべく本発明者らが検討を重ねた結果、人工皮革中の繊維絡合体、すなわち、極細繊維からなる不織布、織編物、極細繊維からなる不織布の順に積層された繊維絡合体、における前記不織布のそれぞれの厚みやそれらの比と、人工皮革断面における不織布部分の立毛部側および織編物側に存在する高分子弾性体の面積割合の比を特定の範囲内とすることで、高厚みであっても強度や耐摩耗性に優れ、かつ、両表面で優れた立毛品位を発現できる人工皮革を得ることができるようになった。本発明は、これら知見に基づいて完成に至ったものであり、本発明によれば、以下の発明が提供される。
[1] 平均単繊維直径が0.01μm以上10.00μm以下の極細繊維で構成されてなる不織布と、
織編物と、
を含む繊維絡合体と、
高分子弾性体と、
を有する、両表面が立毛を有する表面である人工皮革であって、
前記繊維絡合体は、前記不織布、前記織編物、前記不織布の順に積層されてなり、
前記不織布は、それぞれ厚みが1.0mm以上2.0mm以下、かつ、一方の不織布に対する他方の不織布の厚みの比が3/5~5/3の範囲内であり、
前記人工皮革の断面において、以下の式1を満たす、
人工皮革
0.5≦R
1
/R
2
≦0.9 ・・・(式1)
ここで、
R
1
:前記人工皮革の断面において、前記不織布部分から立毛である部分を除いた領域について厚さ方向に3等分した領域における最も立毛側の部分の高分子弾性体の面積割合(%)
R
2
:前記人工皮革の断面において、前記不織布部分から立毛である部分を除いた領域について厚さ方向に3等分した領域における最も織編物側の部分における高分子弾性体の面積割合(%)
[2] 前記人工皮革の断面全体における高分子弾性体の面積割合が5.0%以上15.0%以下である、前記[1]に記載の人工皮革。
[3] 前記人工皮革の表面から測定される高分子弾性体の面積割合が、両表面ともに0.01%以上3.00%以下である、前記[1]または[2]に記載の人工皮革。
[4] 前記人工皮革の少なくとも一方の表面の平均立毛長が200μm以上600μm以下である、前記[1]~[3]のいずれかに記載の人工皮革。
[5] 前記人工皮革の少なくとも一方の表面に非連続な樹脂部が形成されている、前記[1]~[4]のいずれかに記載の人工皮革。
[6] 平均単繊維直径が0.01μm以上10.00μm以下の極細繊維で構成されてなる不織布と、
織編物と、
を含む繊維絡合体と、
高分子弾性体と、
を有する、両表面が立毛を有する表面である人工皮革の製造方法であって、
極細繊維発現型繊維からなる不織布αの片面に織編物を絡合一体化させ、絡合シートを形成する工程と、
極細繊維発現型繊維からなる不織布βを形成する工程と、
前記絡合シートと前記不織布βとを、前記織編物が前記不織布αと前記不織布βに挟まれるように積層するとともに、ニードルパンチにより絡合一体化させ、前駆体シートを形成する工程と、
前記前駆体シートに水溶性樹脂を付与し、水溶性樹脂付シートを形成する工程と、
前記水溶性樹脂付シート中の前記極細繊維発現型繊維から前記極細繊維を発生させ、極細繊維シートを形成する工程と、
前記極細繊維シートに高分子弾性体を付与し、高分子弾性体付シートを形成する工程と、
前記高分子弾性体付シートの両表面を研削し、起毛シートを形成する工程と、
を有し、さらに、
前記前駆体シートを形成する工程において、
前記絡合一体化前の前記絡合シートおよび前記不織布βが以下の式2を満たし、
前記絡合一体化が、以下の式3を満たす、
人工皮革の製造方法
0.30≦V
β1
/V
A
≦0.80 ・・・(式2)
0.30≦D
α
/D
β
≦0.70 ・・・(式3)
ここで、
V
A
:前記絡合一体化前の前記絡合シートの見かけ密度(g/cm
3
)
V
β1
【発明の効果】
(【0011】以降は省略されています)
この特許をJ-PlatPat(特許庁公式サイト)で参照する
関連特許
東レ株式会社
編地
3か月前
東レ株式会社
浄水器
13日前
東レ株式会社
複合半透膜
1か月前
東レ株式会社
中空回転翼
3か月前
東レ株式会社
積層フィルム
2か月前
東レ株式会社
積層多孔質膜
1か月前
東レ株式会社
風車ブレード
1か月前
東レ株式会社
積層フィルム
29日前
東レ株式会社
多層積層フィルム
15日前
東レ株式会社
プロペラブレード
3か月前
東レ株式会社
プロペラブレード
3か月前
東レ株式会社
プロペラブレード
3か月前
東レ株式会社
多孔質炭素シート
22日前
東レ株式会社
マルチフィラメント
2か月前
東レ株式会社
フィルムの製造方法
3か月前
東レ株式会社
サンドイッチ構造体
23日前
東レ株式会社
熱硬化性樹脂組成物
1か月前
東レ株式会社
合成繊維の巻取装置
2か月前
東レ株式会社
フィルムの製造方法
2か月前
東レ株式会社
遮熱性アクリル繊維
今日
東レ株式会社
繊維断面の検査方法
今日
東レ株式会社
溶融紡糸口金パック
今日
東レ株式会社
織物および繊維製品
2か月前
東レ株式会社
複合成形体の製造方法
13日前
東レ株式会社
フィルムの製造方法。
2か月前
東レ株式会社
引抜成形品の製造方法
1か月前
東レ株式会社
圧電性材料の製造方法
3か月前
東レ株式会社
ガス拡散層の製造方法
22日前
東レ株式会社
ポリエステルフィルム
7日前
東レ株式会社
ポリエステルフィルム
3か月前
東レ株式会社
霧化状活性液体供給装置
1か月前
東レ株式会社
織物およびシート表皮材
22日前
東レ株式会社
ポリオレフィン微多孔膜
2か月前
東レ株式会社
プラスチック光ファイバ
23日前
東レ株式会社
炭素繊維シートの製造方法
1か月前
東レ株式会社
樹脂含浸繊維束の製造方法
1か月前
続きを見る
他の特許を見る