TOP
|
特許
|
意匠
|
商標
特許ウォッチ
Twitter
他の特許を見る
公開番号
2025085310
公報種別
公開特許公報(A)
公開日
2025-06-05
出願番号
2023199100
出願日
2023-11-24
発明の名称
作業機械
出願人
日立建機株式会社
代理人
弁理士法人武和国際特許事務所
主分類
E02F
3/40 20060101AFI20250529BHJP(水工;基礎;土砂の移送)
要約
【課題】フック装置の回動範囲を適切に制限可能な作業機械を提供する。
【解決手段】作業機械は、回動範囲を制限するためのフック側ストッパを備えるフック装置と、クイックカプラ及びフック装置に回動可能に連結される第1連結部、アタッチメントシリンダの先端に回動可能に連結される第2連結部、第1連結部の外周面に設けられて、フック装置が所定の位置まで回動したときにフック側ストッパに当接するリンク側ストッパを備える連結リンクと、第1連結部の周方向において、フック側ストッパ及びリンク側ストッパの当接位置を調整する調整部材とを備える。
【選択図】図3
特許請求の範囲
【請求項1】
車体と、
前記車体に起伏可能に連結されたブームと、
前記ブームの先端に回動可能に連結されたアームと、
前記アームの先端に回動可能に連結されたクイックカプラと、
前記クイックカプラに着脱可能に係止されたアタッチメントと、
前記クイックカプラを前記アームに対して回動させるアタッチメントシリンダと、
前記アームの先端側で荷物を吊下するフック装置と、
前記クイックカプラ、前記アタッチメントシリンダ、及び前記フック装置それぞれを回動可能に連結する連結リンクとを備える作業機械において、
前記フック装置は、回動範囲を制限するためのフック側ストッパを備え、
前記連結リンクは、
前記クイックカプラ及び前記フック装置に回動可能に連結される第1連結部と、
前記アタッチメントシリンダの先端に回動可能に連結される第2連結部と、
前記第1連結部の外周面に設けられて、前記フック装置が所定の位置まで回動したときに前記フック側ストッパに当接するリンク側ストッパとを備え、
前記第1連結部の周方向において、前記フック側ストッパ及び前記リンク側ストッパの当接位置を調整する調整部材をさらに備えることを特徴とする作業機械。
続きを表示(約 430 文字)
【請求項2】
請求項1に記載の作業機械において、
前記調整部材は、前記フック側ストッパ及び前記リンク側ストッパの一方に着脱可能に取り付けられて、前記フック側ストッパ及び前記リンク側ストッパの他方に当接する調整ブロックを備えることを特徴とする作業機械。
【請求項3】
請求項2に記載の作業機械において、
前記調整ブロックの厚み寸法は、前記第1連結部の径方向において、同一であることを特徴とする作業機械。
【請求項4】
請求項2に記載の作業機械において、
前記調整ブロックの厚み寸法は、前記第1連結部の径方向の外側に向かって、徐々に大きくなっていることを特徴とする作業機械。
【請求項5】
請求項2に記載の作業機械において、
前記調整部材は、前記フック側ストッパまたは前記リンク側ストッパと、前記調整ブロックとの間に挟まれる調整プレートを備えることを特徴とする作業機械。
発明の詳細な説明
【技術分野】
【0001】
本発明は、フック装置及びクイックカプラを備える作業機械に関する。
続きを表示(約 1,600 文字)
【背景技術】
【0002】
従来より、作業用途に応じたアタッチメントの付け替え作業を簡略化するためのクイックカプラを備えた作業機械、バケットのリンクにフックを取り付けて吊作業を行える作業機械が知られている。これらの作業機械によれば、アタッチメントを付け替えたり、フックにより吊作業を行ったりと、複数種類の作業を1台で実施することができる。
【0003】
そして、クイックカプラ及びフックの両方を備える作業機械のなかには、吊作業時にフックがクイックカプラに干渉することを防止するために、フックの回動範囲を制限するストッパが設けられているものがある(例えば、特許文献1を参照)。より詳細には、特許文献1では、フック側に設けられた突部を、バケットリンクに設けられたストッパに当接させることによって、フックの回動範囲を制限している。
【先行技術文献】
【特許文献】
【0004】
特開2003-095577号公報
【発明の概要】
【発明が解決しようとする課題】
【0005】
しかしながら、特許文献1では、突部及びストッパの一方または両方の製造誤差、取付誤差、及び経年劣化(例えば、摩耗)によって、フックの回動範囲を適切に制限できない可能性がある。
【0006】
本発明は、上記した実状に鑑みてなされたものであり、その目的は、フック装置の回動範囲を適切に制限可能な作業機械を提供することにある。
【課題を解決するための手段】
【0007】
上記目的を達成するために、本発明は、車体と、前記車体に起伏可能に連結されたブームと、前記ブームの先端に回動可能に連結されたアームと、前記アームの先端に回動可能に連結されたクイックカプラと、前記クイックカプラに着脱可能に係止されたアタッチメントと、前記クイックカプラを前記アームに対して回動させるアタッチメントシリンダと、前記アームの先端側で荷物を吊下するフック装置と、前記クイックカプラ、前記アタッチメントシリンダ、及び前記フック装置それぞれを回動可能に連結する連結リンクとを備える作業機械において、前記フック装置は、回動範囲を制限するためのフック側ストッパを備え、前記連結リンクは、前記クイックカプラ及び前記フック装置に回動可能に連結される第1連結部と、前記アタッチメントシリンダの先端に回動可能に連結される第2連結部と、前記第1連結部の外周面に設けられて、前記フック装置が所定の位置まで回動したときに前記フック側ストッパに当接するリンク側ストッパとを備え、前記第1連結部の周方向において、前記フック側ストッパ及び前記リンク側ストッパの当接位置を調整する調整部材をさらに備えることを特徴とする。
【発明の効果】
【0008】
本発明によれば、フック装置の回動範囲を適切に制限することができる。なお、上記した以外の課題、構成及び効果は、以下の実施形態の説明により明らかにされる。
【図面の簡単な説明】
【0009】
本発明に係る油圧ショベルの側面図である。
フック装置及び第1リンクの分解斜視図である。
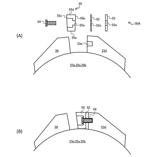
フック装置及び第1リンクの側面図であって、(A)はフック装置の作業姿勢、(B)はフック装置の格納姿勢を示す。
調整部材の模式図である。
調整部材の変形例を示す図である。
【発明を実施するための形態】
【0010】
本発明に係る作業機械の実施形態について、図面を用いて説明する。図1は、本発明に係る油圧ショベル1の側面図である。なお、本明細書中の前後左右は、特に断らない限り、油圧ショベル1に搭乗して操作するオペレータの視点を基準としている。
(【0011】以降は省略されています)
この特許をJ-PlatPat(特許庁公式サイト)で参照する
関連特許
日立建機株式会社
建設機械
2か月前
日立建機株式会社
作業機械
8日前
日立建機株式会社
作業機械
4日前
日立建機株式会社
作業機械
4日前
日立建機株式会社
作業車両
4日前
日立建機株式会社
作業車両
4日前
日立建機株式会社
建設機械
4日前
日立建機株式会社
建設機械
4日前
日立建機株式会社
建設機械
8日前
日立建機株式会社
油圧機器
8日前
日立建機株式会社
作業車両
8日前
日立建機株式会社
建設機械
8日前
日立建機株式会社
作業機械
8日前
日立建機株式会社
作業機械
8日前
日立建機株式会社
油圧機器
3日前
日立建機株式会社
建設機械
8日前
日立建機株式会社
作業機械
9日前
日立建機株式会社
作業機械
9日前
日立建機株式会社
作業機械
12日前
日立建機株式会社
建設機械
12日前
日立建機株式会社
作業機械
16日前
日立建機株式会社
作業機械
22日前
日立建機株式会社
作業機械
1か月前
日立建機株式会社
作業機械
1か月前
日立建機株式会社
作業機械
1か月前
日立建機株式会社
建設機械
1か月前
日立建機株式会社
作業機械
2か月前
日立建機株式会社
作業機械
4日前
日立建機株式会社
作業機械
8日前
日立建機株式会社
作業機械
1日前
日立建機株式会社
作業機械
2日前
日立建機株式会社
作業機械
1日前
日立建機株式会社
作業機械
1日前
日立建機株式会社
建設機械
2日前
日立建機株式会社
作業機械
1日前
日立建機株式会社
変速装置
1日前
続きを見る
他の特許を見る