TOP
|
特許
|
意匠
|
商標
特許ウォッチ
Twitter
他の特許を見る
公開番号
2025087155
公報種別
公開特許公報(A)
公開日
2025-06-10
出願番号
2023201605
出願日
2023-11-29
発明の名称
スイッチギヤ
出願人
株式会社東芝
代理人
弁理士法人酒井国際特許事務所
主分類
H01H
9/54 20060101AFI20250603BHJP(基本的電気素子)
要約
【課題】特別高圧の回路に適用できる誘導性負荷開路時のサージ電圧抑制機器を備えたスイッチギヤを提供する。
【解決手段】スイッチギヤは、電流を供給する電源と、誘導性負荷と、主開閉器と、補助開閉器と、抵抗と、を有する回路を備える。誘導性負荷は、電源に直列接続される。主開閉器は、誘導性負荷に直列接続され、電源から誘導性負荷への電力の供給を制御する。補助開閉器は、主開閉器に並列接続され、電源から誘導性負荷への電力の供給を制御する。抵抗は、誘導性負荷と補助開閉器との間に直列接続される。
【選択図】図3
特許請求の範囲
【請求項1】
電流を供給する電源と、
前記電源に直列接続された誘導性負荷と、
前記誘導性負荷に直列接続され、前記電源から前記誘導性負荷への電力の供給を制御する主開閉器と、
前記主開閉器に並列接続され、前記電源から前記誘導性負荷への電力の供給を制御する補助開閉器と、
前記誘導性負荷と前記補助開閉器との間に直列接続された抵抗と、
を有する回路を備えた、スイッチギヤ。
続きを表示(約 380 文字)
【請求項2】
前記補助開閉器を閉路した後に前記主開閉器を開路する制御を行う制御部を有する、
請求項1に記載のスイッチギヤ。
【請求項3】
前記制御部は、前記主開閉器を開路した後に前記補助開閉器を開路する制御を行う、
請求項2に記載のスイッチギヤ。
【請求項4】
前記主開閉器は、真空開閉器である、
請求項3に記載のスイッチギヤ。
【請求項5】
前記補助開閉器は、真空開閉器である、
請求項4に記載のスイッチギヤ。
【請求項6】
前記制御部は、前記補助開閉器を閉路せずに前記主開閉器を開路する制御を行う、
請求項5に記載のスイッチギヤ。
【請求項7】
前記誘導性負荷は、分路リアクトルである、
請求項6に記載のスイッチギヤ。
発明の詳細な説明
【技術分野】
【0001】
本発明の実施形態は、スイッチギヤに関する。
続きを表示(約 1,500 文字)
【背景技術】
【0002】
電動機や分路リアクトルなどの誘導性負荷を有する回路において、開閉器を開路する際にサージ電圧が発生することが知られている。
【先行技術文献】
【特許文献】
【0003】
特開平7-161264号公報
【発明の概要】
【発明が解決しようとする課題】
【0004】
特別高圧(7kVを超える電圧)の回路において真空遮断器を用いるスイッチギヤでは、誘導性負荷開路時のサージ電圧を抑制する機器が実用化されていない。このため、サージ電圧の発生時には、高電圧によって電気機器に不具合が発生する虞がある。
【0005】
本発明が解決しようとする課題は、特別高圧の回路に適用できる誘導性負荷開路時のサージ電圧抑制機器を備えたスイッチギヤを提供することである。
【課題を解決するための手段】
【0006】
前記の課題を達成するため、本発明に係るスイッチギヤは、電流を供給する電源と、誘導性負荷と、主開閉器と、補助開閉器と、抵抗と、を有する回路を備える。誘導性負荷は、電源に直列接続される。主開閉器は、誘導性負荷に直列接続され、電源から誘導性負荷への電力の供給を制御する。補助開閉器は、主開閉器に並列接続され、電源から誘導性負荷への電力の供給を制御する。抵抗は、誘導性負荷と補助開閉器との間に直列接続される。
【図面の簡単な説明】
【0007】
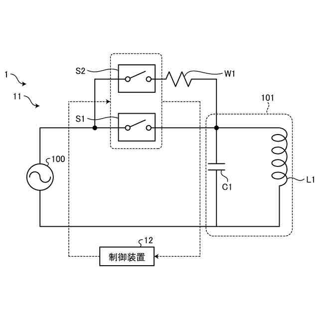
図1は、一つの実施形態のスイッチギヤに設けられる回路の概要構成説明図である。
図2は、本実施形態のスイッチギヤの第1スイッチ及び第2スイッチが閉路された状態を示す電流経路の説明図である。
図3は、本実施形態のスイッチギヤの第1スイッチが開路され、第2スイッチが閉路された状態を示す電流経路の説明図である。
図4は、本実施形態のスイッチギヤの第1スイッチ及び第2スイッチが開路された状態を示す電流経路の説明図である。
図5は、第1スイッチ及び第2スイッチの開閉処理の流れを示すフローチャートである。
【発明を実施するための形態】
【0008】
[実施形態]
以下、添付図面を参照して、スイッチギヤ1の実施形態を詳細に説明する。以下に記載する実施形態の構成、並びに当該構成によってもたらされる作用及び結果(効果)は、あくまで一例であって、以下の記載内容に限られるものではない。なお、本明細書では、序数は、部品や部材を区別するためだけに用いられており、順番や優先度を示すものではない。
【0009】
図1は、一つの実施形態のスイッチギヤ1に設けられる回路の概要構成説明図である。スイッチギヤ1は、例えば、接地した金属製の筐体(不図示)の中に電気機器類を収納した装置である。スイッチギヤ1は、当該スイッチギヤ1の外部に対する絶縁性能を有している。図1に示すように、本実施形態におけるスイッチギヤ1は、電動機や分路リアクトルなどの誘導性負荷101及び開閉器を有する回路11及び制御装置12を備えている。なお、本実施形態におけるスイッチギヤ1の回路11は、図1に示す例に限定されるものではない。
【0010】
回路11は、電源100と、誘導性負荷101と、第1スイッチS1と、第2スイッチS2と、抵抗W1とを有する。電源100は、特別高圧の電力を回路11に供給する交流電源である。電源100はこれに限られず、電圧が7kV以下である高圧の電力を供給する交流電源であってもよい。第1スイッチS1は、主開閉器の一例である。第2スイッチS2は、補助開閉器の一例である。
(【0011】以降は省略されています)
この特許をJ-PlatPat(特許庁公式サイト)で参照する
関連特許
株式会社東芝
モータ
1日前
株式会社東芝
センサ
1か月前
株式会社東芝
センサ
1か月前
株式会社東芝
センサ
6日前
株式会社東芝
センサ
6日前
株式会社東芝
固定子
1か月前
株式会社東芝
回転電機
3か月前
株式会社東芝
電子装置
今日
株式会社東芝
電子機器
3か月前
株式会社東芝
立て看板
3か月前
株式会社東芝
ドア構造
1か月前
株式会社東芝
制御装置
4か月前
株式会社東芝
搬送装置
3か月前
株式会社東芝
吸音装置
1日前
株式会社東芝
遮断装置
3か月前
株式会社東芝
燃料電池
2か月前
株式会社東芝
金型構造
6日前
株式会社東芝
回路素子
1か月前
株式会社東芝
判定装置
3か月前
株式会社東芝
配線治具
2か月前
株式会社東芝
電磁流量計
2か月前
株式会社東芝
半導体装置
3日前
株式会社東芝
半導体装置
3日前
株式会社東芝
半導体装置
3日前
株式会社東芝
半導体装置
3日前
株式会社東芝
半導体装置
3日前
株式会社東芝
半導体装置
3日前
株式会社東芝
半導体装置
3か月前
株式会社東芝
半導体装置
3か月前
株式会社東芝
半導体装置
13日前
株式会社東芝
半導体装置
3日前
株式会社東芝
主幹制御器
2か月前
株式会社東芝
電動送風機
1か月前
株式会社東芝
ラック装置
1か月前
株式会社東芝
半導体装置
15日前
株式会社東芝
半導体装置
2か月前
続きを見る
他の特許を見る