TOP
|
特許
|
意匠
|
商標
特許ウォッチ
Twitter
他の特許を見る
公開番号
2025102201
公報種別
公開特許公報(A)
公開日
2025-07-08
出願番号
2023219507
出願日
2023-12-26
発明の名称
リジェネバーナ装置
出願人
中外炉工業株式会社
代理人
個人
,
個人
主分類
F23L
15/02 20060101AFI20250701BHJP(燃焼装置;燃焼方法)
要約
【課題】蓄熱体が配置される給排気室の炉内側同士を配管で連通させる連通配管の過熱を抑制し、損傷を防ぐことができるリジェネバーナ装置を提供する。
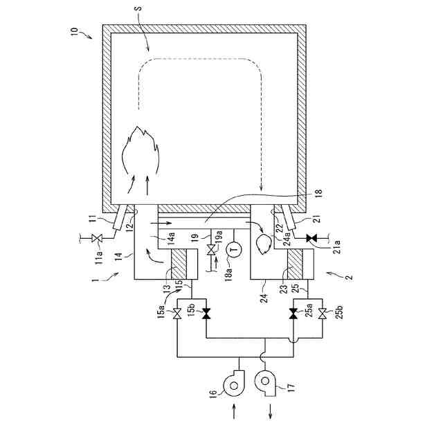
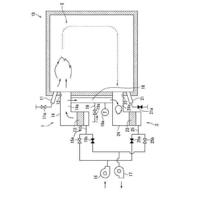
【解決手段】炉内Sで燃焼した燃焼ガスの熱を回収するとともに、燃焼用空気を加熱する蓄熱体13、23を設けたリジェネバーナ装置10であって、リジェネバーナ装置10は、一対となるバーナ1、2を備えており、各バーナ1、2は、燃料を供給する燃料管11、21と、燃料管11、21の近傍に配置され、燃焼用空気を供給し、燃焼ガスを排気する給排気管12、22と、を備えており、給排気管12、22は、一端が炉内に連通し、他端は蓄熱体13、23が配置されている給排気室14、24に連通しており、リジェネバーナ装置10はさらに、一対となるバーナ1、2の蓄熱体13、23よりも炉内S側に形成された給排気室14、24の空間部14a、24a同士を連通させる連通配管18を備えており、連通配管18には、冷却用の空気を導入する導入管19が設けられている。
【選択図】図1
特許請求の範囲
【請求項1】
炉内で燃焼した燃焼ガスの熱を回収するとともに、燃焼用空気を加熱する蓄熱体を設けたリジェネバーナ装置であって、
前記リジェネバーナ装置は、一対となるバーナを備えており、
各バーナは、燃料を供給する燃料管と、前記燃料管の近傍に配置され、燃焼用空気を供給し、燃焼ガスを排気する給排気管と、を備えており、
前記給排気管は、一端が炉内に連通し、他端は前記蓄熱体が配置されている給排気室に連通しており、
前記リジェネバーナ装置はさらに、一対となる前記バーナの前記蓄熱体よりも炉内側に形成された前記給排気室の空間部同士を連通させる連通配管を備えており、
前記連通配管には、冷却用の空気を導入する導入管が設けられている、リジェネバーナ装置。
続きを表示(約 850 文字)
【請求項2】
炉内で燃焼した燃焼ガスの熱を回収するとともに、燃焼用空気を加熱する蓄熱体を設けたリジェネバーナ装置であって、
前記リジェネバーナ装置は、一対となるバーナを備えており、
各バーナは、燃料を供給する燃料管と、前記燃料管の近傍に配置され、燃焼用空気を供給し、燃焼ガスを排気する給排気管と、を備えており、
前記給排気管は、一端が炉内に連通し、他端は前記蓄熱体が配置されている給排気室に連通しており、
前記リジェネバーナ装置はさらに、一対となる前記バーナの前記蓄熱体よりも炉内側に形成された前記給排気室の空間部同士を連通させる連通配管と、
前記連通配管内を流れる燃焼用空気を冷却する冷却配管と、を備えており、
前記連通配管及び前記冷却配管は、二重管構造となっている、リジェネバーナ装置。
【請求項3】
前記連通配管内を流れる燃焼用空気と、前記冷却配管内を流れる冷却空気とは互いに対向して流れるように構成されている、請求項2記載のリジェネバーナ装置。
【請求項4】
前記冷却配管内を流れる冷却媒体には、前記燃料として使用されるアンモニアガスが用いられる、請求項2記載のリジェネバーナ装置。
【請求項5】
前記連通配管には、前記連通配管内を流れる燃焼用空気の温度を測定する温度計が設けられており、前記温度計の温度が所定の温度以上になると、前記冷却配管内に冷却空気を流すようになっている、請求項2記載のリジェネバーナ装置。
【請求項6】
前記冷却配管の冷却空気導入部は、前記冷却空気導入部における冷却空気の導入の流れが前記冷却配管内の冷却空気の流れに沿うように構成され、
前記冷却配管の冷却空気排出部は、前記冷却空気排出部における冷却空気の排出の流れが前記冷却配管内の冷却空気の流れに一致するように構成されている、請求項2~5のいずれか1つに記載のリジェネバーナ装置。
発明の詳細な説明
【技術分野】
【0001】
本発明は、リジェネバーナ装置に関する。
続きを表示(約 1,700 文字)
【背景技術】
【0002】
従来、加熱炉や燃焼炉等の燃焼装置において、省エネルギーを図ることを目的として、炉内で燃焼した燃焼ガスの熱を回収するとともに、燃焼用空気を加熱するようバーナに蓄熱体を設けたリジェネバーナ装置が知られている。そして、特許文献1には、リジェネバーナ装置における未燃の燃料を燃焼させる技術として、吸引側のバーナに燃焼用空気を送り込むことが開示されている。また、特許文献2及び特許文献3には、蓄熱体が配置される給排気室の炉内側同士を配管で連通させることによって、燃焼側の予熱空気の一部を吸引側へ吸引させて同様の効果を得る構成が開示されている。
【先行技術文献】
【特許文献】
【0003】
特開2002-295806号公報
特開2002-286204号公報
特開平9-137938号公報
【発明の概要】
【発明が解決しようとする課題】
【0004】
ここで、特許文献2及び特許文献3に示されるように、蓄熱体が配置される給排気室の炉内側同士を配管で連通させると、高温の予熱空気がこの連通配管内を流れることとなるため、連通配管が熱変形したり、連通配管が損傷することによって中を流れる予熱空気が漏れる等の事象が生じるという課題が存在する。
【0005】
そこで、本発明では、蓄熱体が配置される給排気室の炉内側同士を配管で連通させる連通配管の過熱を抑制し、損傷を防ぐことができるリジェネバーナ装置を提供することを目的とする。
【課題を解決するための手段】
【0006】
本発明は、炉内で燃焼した燃焼ガスの熱を回収するとともに、燃焼用空気を加熱する蓄熱体を設けたリジェネバーナ装置であって、
前記リジェネバーナ装置は、一対となるバーナを備えており、
各バーナは、燃料を供給する燃料管と、前記燃料管の近傍に配置され、燃焼用空気を供給し、燃焼ガスを排気する給排気管と、を備えており、
前記給排気管は、一端が炉内に連通し、他端は前記蓄熱体が配置されている給排気室に連通しており、
前記リジェネバーナ装置はさらに、一対となる前記バーナの前記蓄熱体よりも炉内側に形成された前記給排気室の空間部同士を連通させる連通配管を備えており、
前記連通配管には、冷却用の空気を導入する導入管が設けられている。
【0007】
前記構成によれば、導入管を用いて、連通配管に冷却用の空気を導入することによって、連通配管を流れる燃焼用空気の温度を低下させ、連通配管の過熱を抑制し、損傷を防ぐことができる。
【発明の効果】
【0008】
本発明によると、蓄熱体が配置される給排気室の炉内側同士を配管で連通させる連通配管の過熱を抑制し、損傷を防ぐことができるリジェネバーナ装置を提供することができる。
【図面の簡単な説明】
【0009】
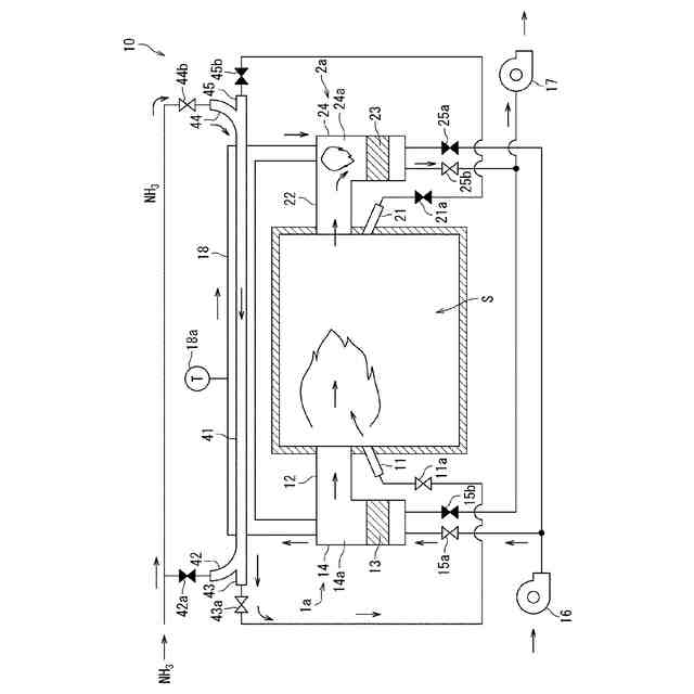
本発明の第1実施形態に係るリジェネバーナ装置の断面概略図である。
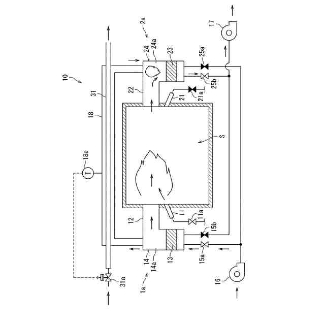
本発明の第2実施形態に係るリジェネバーナ装置の断面概略図である。
本発明の第3実施形態に係るリジェネバーナ装置の断面概略図である。
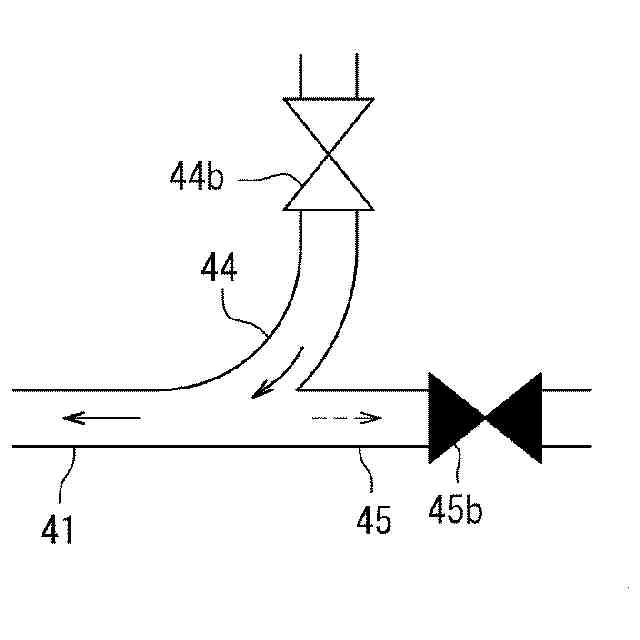
図3の冷却配管41と配管44、45との連結部の拡大図である。
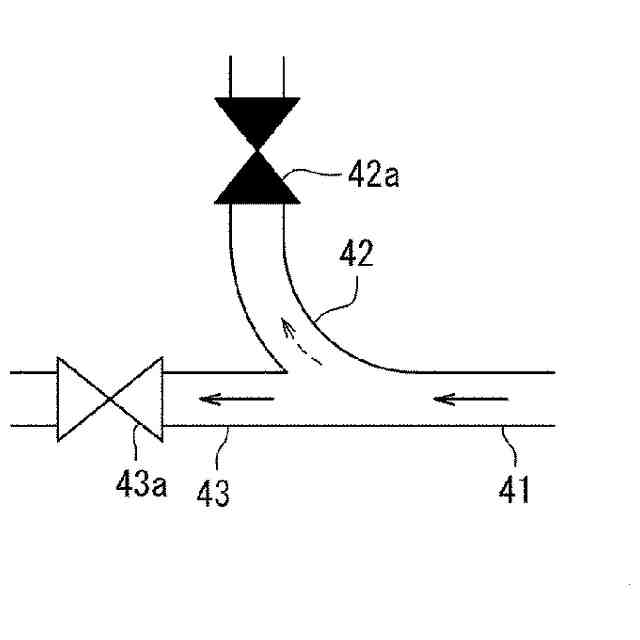
図3の冷却配管41と配管42、43との連結部の拡大図である。
本発明の第4実施形態に係るリジェネバーナ装置の断面概略図である。
【発明を実施するための形態】
【0010】
(第1実施形態)
図1は、本発明の第1実施形態に係るリジェネバーナ装置10の断面概略図である。図1に示されるように、リジェネバーナ装置10は、炉内Sにおいて1つの壁面に並んで位置する一対のバーナ1、2を備えている。なお、一対のバーナ1、2は、炉内Sにおいて互いに対向するように、対向する壁面に1つずつ配置されていてもよい。
(【0011】以降は省略されています)
この特許をJ-PlatPat(特許庁公式サイト)で参照する
関連特許
中外炉工業株式会社
熱処理炉
16日前
個人
燃焼炉の操業方法
1か月前
個人
煙突煤払い掃除機
2か月前
個人
ウッドガスストーブ
14日前
個人
形見の製造方法
20日前
コーキ株式会社
煙突
1か月前
株式会社トヨトミ
石油燃焼器
8日前
株式会社豊田自動織機
耐熱部材
1か月前
株式会社パロマ
燃焼装置
3か月前
株式会社サイトウ工研
焚き火台
5日前
個人
回転キルンを利用した燻炭製造方法
4か月前
株式会社フクハラ
充填物処理方法
3か月前
東京パイプ株式会社
着火器具
2か月前
株式会社タクマ
付着物除去システム
3か月前
リンナイ株式会社
燃焼装置
3か月前
三浦工業株式会社
燃焼システム
5日前
大阪瓦斯株式会社
燃焼装置
7日前
三浦工業株式会社
水素燃焼ボイラ
27日前
山形化成工業株式会社
手持ち式着火用具
1か月前
株式会社アドバンテック
燃焼装置
26日前
株式会社アドバンテック
燃焼装置
26日前
株式会社アドバンテック
燃焼装置
26日前
大陽日酸株式会社
燃焼バーナ
1か月前
三菱重工業株式会社
清掃装置
13日前
個人
可燃性ガス燃焼装置
3か月前
株式会社日本サーモエナー
ガスバーナ
3か月前
極東開発工業株式会社
バイオマス燃焼システム
5日前
極東開発工業株式会社
バイオマス燃焼システム
5日前
極東開発工業株式会社
バイオマス燃焼システム
5日前
極東開発工業株式会社
バイオマス燃焼システム
5日前
極東開発工業株式会社
バイオマス燃焼システム
5日前
株式会社パロマ
給湯器
3か月前
株式会社パロマ
給湯器
3か月前
中外炉工業株式会社
リジェネバーナ装置
3か月前
トヨタ自動車株式会社
燃焼ノズル
2か月前
株式会社ノーリツ
温水装置
3か月前
続きを見る
他の特許を見る