TOP
|
特許
|
意匠
|
商標
特許ウォッチ
Twitter
他の特許を見る
公開番号
2025112463
公報種別
公開特許公報(A)
公開日
2025-08-01
出願番号
2024006691
出願日
2024-01-19
発明の名称
燃焼ノズル
出願人
トヨタ自動車株式会社
代理人
個人
,
個人
,
個人
主分類
F23R
3/28 20060101AFI20250725BHJP(燃焼装置;燃焼方法)
要約
【課題】NOxの排出量の低減と、逆火の防止とを両立することができる燃焼ノズルを提供する。
【解決手段】燃焼ノズル1は、ガスタービンの燃焼器の燃焼室内へ、燃焼させるべき圧縮空気及び燃料を噴出する燃焼ノズルである。燃料ノズル1は、燃焼室に向かって開口した燃焼ノズル1から燃焼室に圧縮空気を流出する空気流路と、空気流路に対して燃料を流出する燃料流路と、を備える。当該燃焼ノズル1の形状は、燃焼室に向かい拡大する形状である。
【選択図】図2
特許請求の範囲
【請求項1】
ガスタービンの燃焼器の燃焼室内へ、燃焼させるべき圧縮空気及び燃料を噴出する燃焼ノズルであって、
前記燃焼室に向かって開口した当該燃焼ノズルから前記燃焼室に圧縮空気を流出する空気流路と、
前記空気流路に対して燃料を流出する燃料流路と、
を備え、
当該燃焼ノズルの形状は、前記燃焼室に向かい拡大する形状である
ことを特徴とする燃焼ノズル。
続きを表示(約 200 文字)
【請求項2】
当該燃焼ノズルは、前記燃焼室に向かって開口したノズル口を有し、
前記ノズル口は、前記燃焼室に向かい拡大する形状を有する
ことを特徴とする請求項1に記載の燃焼ノズル。
【請求項3】
前記ノズル口は、前記空気流路の一部を構成し、
前記空気流路は、上流側から下流側に向かって漸増する
ことを特徴とする請求項2に記載の燃焼ノズル。
発明の詳細な説明
【技術分野】
【0001】
本発明は、燃焼ノズルの技術分野に関する。
続きを表示(約 1,500 文字)
【背景技術】
【0002】
この種の燃焼ノズルが用いられる装置として、水素を燃料として用いるガスタービンが提案されている(特許文献1乃至3参照)。
【先行技術文献】
【特許文献】
【0003】
特開2016-109309号公報
特開2020-106258号公報
特開2003-148734号公報
【発明の概要】
【発明が解決しようとする課題】
【0004】
ガスタービンの燃料として水素を用いようとする場合、水素は、今まで一般的に使用されてきた炭化水素系の燃料に比して燃焼温度が高いので、NOxが発生しやすい。また、水素は、炭化水素系の燃料に比して燃焼速度が速く、水素の消炎距離(0.64mm)が炭化水素系の燃料の消炎距離(2mm程度)よりも短いので、燃焼が燃料流路を逆流する逆火が発生しやすい。
【0005】
本発明は、例えば上記問題点に鑑みてなされたものであり、NOxの排出量の低減と、逆火の防止とを両立することができる燃焼ノズルを提供することを課題とする。
【課題を解決するための手段】
【0006】
本発明の一態様に係る燃焼ノズルは、ガスタービンの燃焼器の燃焼室内へ、燃焼させるべき圧縮空気及び燃料を噴出する燃焼ノズルであって、前記燃焼室に向かって開口した当該燃焼ノズルから前記燃焼室に圧縮空気を流出する空気流路と、前記空気流路に対して燃料を流出する燃料流路と、を備え、当該燃焼ノズルの形状は、前記燃焼室に向かい拡大する形状であるというものである。
【図面の簡単な説明】
【0007】
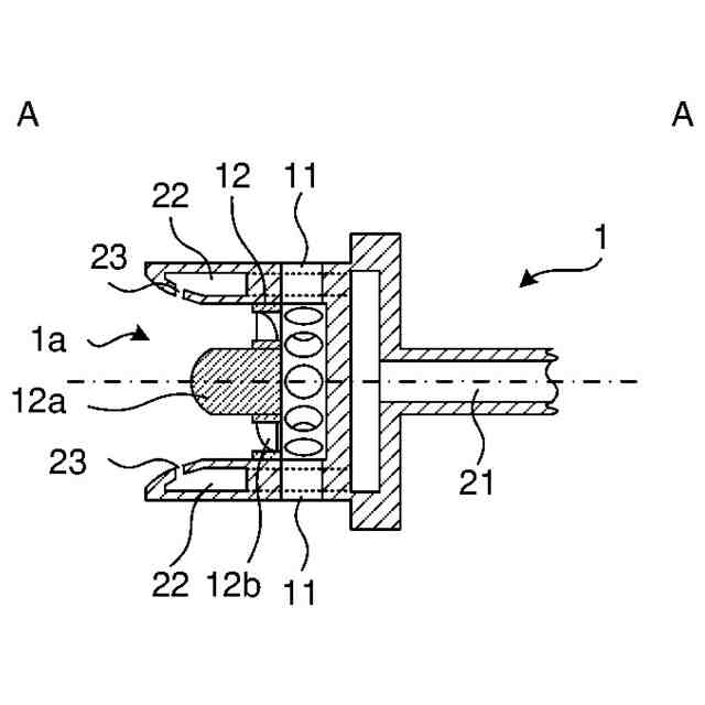
実施形態に係る燃焼ノズルを示す斜視図である。
図1のA-A線断面図である。
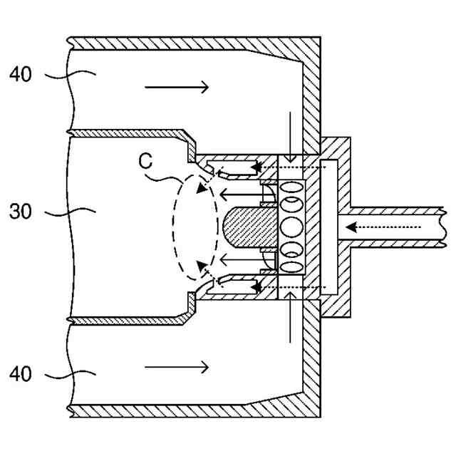
空気流及び燃料流を示す図である。
燃焼時の温度分布の一例を示す図である。
【発明を実施するための形態】
【0008】
燃焼ノズルに係る実施形態について図1乃至図4を参照して説明する。尚、実施形態では、燃料の一例として水素を挙げる。ただし、燃料は水素に限定されない。実施形態に係る燃焼ノズル1の構成について図1及び図2を参照して説明する。図1は、実施形態に係る燃焼ノズルを示す斜視図である。図2は、図1のA-A線断面図である。
【0009】
図1及び図2において、燃焼ノズル1は、ノズル口1aを有する。燃焼ノズル1は、例えば水素ガスを燃料とするガスタービンの燃焼器の燃焼室(例えば、図3に示す燃焼室30)にノズル口1aが接するように配置される。図2に示すように、ノズル口1aの直径は、燃焼ノズル1の端部(図2における燃焼ノズル1の左側の端部)に近づくほど大きくなる。
【0010】
燃焼ノズル1は、空気孔11を有する。燃焼ノズル1には、外部から空気孔11を介して圧縮空気が供給される。燃焼ノズル1は、空気孔11介して供給された圧縮空気が通過するスワラ12を有する。スワラ12は、複数の静翼が円周方向に配置された円環状の部材である。スワラ12は、燃焼ノズル1の中心軸に沿って延びるセンターコーン12aと、センターコーン12aから放射方向に延在する複数の翼状部材12b(上述した、複数の静翼に相当)とを有していてよい。尚、スワラ12は、空気スワラと称されてもよい。尚、図2において、ノズル口1aは、センターコーン12aの端部よりも左側の領域を意味してよい。
(【0011】以降は省略されています)
この特許をJ-PlatPat(特許庁公式サイト)で参照する
関連特許
トヨタ自動車株式会社
車両
今日
トヨタ自動車株式会社
車両
今日
トヨタ自動車株式会社
電動車
今日
トヨタ自動車株式会社
電解液
今日
トヨタ自動車株式会社
回転子
今日
トヨタ自動車株式会社
電動車
今日
トヨタ自動車株式会社
電動車
今日
トヨタ自動車株式会社
電動車両
今日
トヨタ自動車株式会社
切断装置
今日
トヨタ自動車株式会社
蓄電セル
今日
トヨタ自動車株式会社
蓄電装置
今日
トヨタ自動車株式会社
電源装置
今日
トヨタ自動車株式会社
蓄電装置
1日前
トヨタ自動車株式会社
育苗装置
1日前
トヨタ自動車株式会社
制御装置
今日
トヨタ自動車株式会社
蓄電装置
1日前
トヨタ自動車株式会社
駆動装置
今日
トヨタ自動車株式会社
積層構造体
今日
トヨタ自動車株式会社
シフト機構
今日
トヨタ自動車株式会社
電池パック
今日
トヨタ自動車株式会社
電極積層体
1日前
トヨタ自動車株式会社
電気自動車
今日
トヨタ自動車株式会社
空間評価装置
今日
トヨタ自動車株式会社
車両制御装置
今日
トヨタ自動車株式会社
駐車支援方法
今日
トヨタ自動車株式会社
車両制御装置
1日前
トヨタ自動車株式会社
情報処理装置
今日
トヨタ自動車株式会社
水素貯蔵装置
1日前
トヨタ自動車株式会社
車両診断装置
今日
トヨタ自動車株式会社
充電システム
今日
トヨタ自動車株式会社
コネクタ構造
今日
トヨタ自動車株式会社
車両の制御装置
1日前
トヨタ自動車株式会社
熱管理システム
今日
トヨタ自動車株式会社
重量物収容装置
今日
トヨタ自動車株式会社
車載用制御装置
1日前
トヨタ自動車株式会社
熱管理システム
今日
続きを見る
他の特許を見る