TOP
|
特許
|
意匠
|
商標
特許ウォッチ
Twitter
他の特許を見る
公開番号
2025108809
公報種別
公開特許公報(A)
公開日
2025-07-24
出願番号
2024002222
出願日
2024-01-11
発明の名称
流体殺菌装置
出願人
豊田合成株式会社
代理人
弁理士法人あいち国際特許事務所
主分類
A61L
2/10 20060101AFI20250716BHJP(医学または獣医学;衛生学)
要約
【課題】殺菌性能の安定性が向上された流体殺菌装置を提供する。
【解決手段】流体殺菌装置は、殺菌室60を有し、光源用開口14、室流入口12、および、室流出口13が殺菌室に開口するように形成された殺菌室本体10と、光源用開口14を閉塞し殺菌室に紫外光を出射する光源部20と、を備える。殺菌室本体10の外面を覆うように配置され、殺菌室本体10の外面および光源部20の外面に面する外側領域を形成する筐体30を備える。光源部20は、紫外光を発光する発光素子22を備える。発光素子22は、電流値10mA~50mAのいずれかにおける発光効率が、適用電流値における発光効率の中で最大値となるように構成され、電流値200mA~500mAの全範囲における発光効率が、電流値200mA~500mAにおける発光効率の最大値に対して、75%以上を有するように構成されている。
【選択図】図1
特許請求の範囲
【請求項1】
壁面が凹球面状に形成された流体の殺菌室を有し、光源用開口、前記流体を前記殺菌室に流入するための室流入口、および、前記流体を前記殺菌室から流出するための室流出口が前記殺菌室に開口するように形成された殺菌室本体と、
前記光源用開口を閉塞し、前記光源用開口から前記殺菌室に紫外光を出射するように構成された光源部と、
前記殺菌室本体の外面を覆うように配置され、前記流体が供給される筐体供給口が形成され、前記殺菌室本体の外面および前記光源部の外面に面する外側領域であって前記筐体供給口から供給された前記流体が前記室流入口へ流通するように構成された前記外側領域を形成する筐体と、を備え、
前記光源部は、紫外光を発光する発光素子を備え、
前記発光素子は、
電流値10mA~50mAのいずれかにおける発光効率が、適用電流値における発光効率の中で最大値となるように構成され、
電流値200mA~500mAの全範囲における発光効率が、電流値200mA~500mAにおける発光効率の最大値に対して、75%以上を有するように構成されている、流体殺菌装置。
続きを表示(約 560 文字)
【請求項2】
前記発光素子は、
適用電流値における発光効率の最大値に対する、電流値200mA~500mAの全範囲における発光効率が、65~85%に含まれるように構成されている、請求項1に記載の流体殺菌装置。
【請求項3】
前記発光素子は、電流値300mA~400mAにおける発光効率が2.4%以上を有するように構成されている、請求項1または2に記載の流体殺菌装置。
【請求項4】
前記発光素子は、電流値350mAにおける発光効率が2.5%以上を有するように構成されている、請求項3に記載の流体殺菌装置。
【請求項5】
前記発光素子は、電流値200mA~500mAにおいて半値幅の最大値と最小値との差が2nm以下となるように構成されている、請求項1または2に記載の流体殺菌装置。
【請求項6】
前記光源部は、
前記光源用開口に対応して位置し、紫外光を出射する出射面と、
前記光源部の外面の一部を構成し、前記出射面の裏面であって、前記外側領域を流通する前記流体が接触する外側裏面と、を備え、
前記筐体供給口は、前記筐体供給口の開口が前記光源部の前記外側裏面に対向するように配置されている、請求項1または2に記載の流体殺菌装置。
発明の詳細な説明
【技術分野】
【0001】
本発明は、流体殺菌装置に関する。
続きを表示(約 1,900 文字)
【背景技術】
【0002】
紫外光の照射によって流水中の細菌やウイルスを殺菌、不活化する殺菌装置が知られている。光源には水銀ランプが広く用いられている。水銀ランプは水銀を用いているため毒性が強く、環境負荷が大きいという問題がある。また、水銀ランプを用いると殺菌装置が大型になる問題もある。そこで、水銀ランプから紫外LEDへの置き換えが進められている。
【0003】
特許文献1には、流体に紫外光を照射して殺菌できる殺菌装置が記載されている。また、その殺菌装置は、流体を流し、紫外光を照射する殺菌室を有した殺菌室本体を有し、殺菌室本体の外面を覆うように配置された筐体を有している。殺菌室本体と筐体の間に隙間(外側領域)が設けられ、筐体に流入した流体が外側領域を通って殺菌室本体に流入するように構成されている。
【先行技術文献】
【特許文献】
【0004】
特表2020-530384号公報
【発明の概要】
【発明が解決しようとする課題】
【0005】
しかし、特許文献1の流体殺菌装置では、殺菌性能がばらつく可能性があり、安定化することが望まれた。
【0006】
本発明は、かかる背景に鑑みてなされたものであり、殺菌性能の安定性が向上された流体殺菌装置を提供しようとするものである。
【課題を解決するための手段】
【0007】
本発明の一態様は、
壁面が凹球面状に形成された流体の殺菌室を有し、光源用開口、前記流体を前記殺菌室に流入するための室流入口、および、前記流体を前記殺菌室から流出するための室流出口が前記殺菌室に開口するように形成された殺菌室本体と、
前記光源用開口を閉塞し、前記光源用開口から前記殺菌室に紫外光を出射するように構成された光源部と、
前記殺菌室本体の外面を覆うように配置され、前記流体が供給される筐体供給口が形成され、前記殺菌室本体の外面および前記光源部の外面に面する外側領域であって前記筐体供給口から供給された前記流体が前記室流入口へ流通するように構成された前記外側領域を形成する筐体と、を備え、
前記光源部は、紫外光を発光する発光素子を備え、
前記発光素子は、
電流値10mA~50mAのいずれかにおける発光効率が、適用電流値における発光効率の中で最大値となるように構成され、
電流値200mA~500mAの全範囲における発光効率が、電流値200mA~500mAにおける発光効率の最大値に対して、75%以上を有するように構成されている、流体殺菌装置にある。
【発明の効果】
【0008】
上記態様では、発光素子は、電流値10mA~50mAのいずれかにおける発光効率が、適用電流値における発光効率の中で最大値となるように構成され、電流値200mA~500mAの全範囲における発光効率が、電流値200mA~500mAにおける発光効率の最大値に対して、75%以上を有するように構成されている。このように構成することにより、電流値の増加による発光効率の低下が小さくなる。そのため、電流値の変動による流体殺菌装置の殺菌性能の差が小さくなり、安定した殺菌性能を得ることができる。その結果、流体殺菌装置の殺菌性能の安定性の向上を図ることができる。
【0009】
以上のように、上記態様によれば、殺菌性能の安定性が向上された流体殺菌装置を提供することができる。
【図面の簡単な説明】
【0010】
実施形態1における、流体殺菌装置の構成を示した断面図。
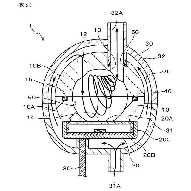
流体殺菌装置における流体の流れを模式的に示した図。
殺菌室本体の構成を示した図。(a)は、殺菌室本体10の分解図であり、(b)は、実際に組付けられた状態での殺菌室本体10を示した図である。
殺菌室本体の外側を光源用開口の中心軸方向から見た場合の光源用開口、室流入口、および室流出口の位置を示した図。
光源部の構成を示した断面図。
筐体の外側を筐体供給口の中心軸方向から見た場合の筐体供給口および光源部の位置を示した図。
室流出口と筐体排出口の接続部分を拡大して示した断面図。
水流シミュレーションの結果を示す図。
発光素子の配向特性の一例を示した図。
発光素子の発光スペクトルの一例を示した図。
発光素子の電極パターンの一例を示した図。
【発明を実施するための形態】
(【0011】以降は省略されています)
この特許をJ-PlatPat(特許庁公式サイト)で参照する
関連特許
豊田合成株式会社
殺菌装置
16日前
豊田合成株式会社
着座装置
18日前
豊田合成株式会社
操作装置
1か月前
豊田合成株式会社
表示装置
1か月前
豊田合成株式会社
発光素子
1か月前
豊田合成株式会社
ガラスラン
2日前
豊田合成株式会社
ガラスラン
9日前
豊田合成株式会社
半導体素子
24日前
豊田合成株式会社
ガラスラン
2日前
豊田合成株式会社
車載照明装置
1か月前
豊田合成株式会社
車両用外装品
1か月前
豊田合成株式会社
流体殺菌装置
1か月前
豊田合成株式会社
流体殺菌装置
1か月前
豊田合成株式会社
車両用内装品
4日前
豊田合成株式会社
乗員保護装置
1か月前
豊田合成株式会社
流体殺菌装置
26日前
豊田合成株式会社
車両用外装品
1か月前
豊田合成株式会社
乗員保護装置
2日前
豊田合成株式会社
樹脂成形装置
10日前
豊田合成株式会社
情報処理装置
1か月前
豊田合成株式会社
流体殺菌装置
16日前
豊田合成株式会社
流体殺菌装置
16日前
豊田合成株式会社
乗員保護装置
1か月前
豊田合成株式会社
機器制御装置
2日前
豊田合成株式会社
車両用外装品
2日前
豊田合成株式会社
下肢保護装置
2か月前
豊田合成株式会社
車両用外装品
1か月前
豊田合成株式会社
車両用内装品
4日前
豊田合成株式会社
立体エアバッグ
2日前
豊田合成株式会社
立体エアバッグ
17日前
豊田合成株式会社
ミスト噴射装置
1か月前
豊田合成株式会社
車両の前部構造
1か月前
豊田合成株式会社
空調用レジスタ
3日前
豊田合成株式会社
空調用レジスタ
3日前
豊田合成株式会社
電動液体ポンプ
2日前
豊田合成株式会社
電動液体ポンプ
2日前
続きを見る
他の特許を見る