TOP
|
特許
|
意匠
|
商標
特許ウォッチ
Twitter
他の特許を見る
10個以上の画像は省略されています。
公開番号
2025111049
公報種別
公開特許公報(A)
公開日
2025-07-30
出願番号
2024005198
出願日
2024-01-17
発明の名称
ディスペンサー
出願人
健栄製薬株式会社
代理人
弁理士法人朝日奈特許事務所
主分類
F04B
23/00 20060101AFI20250723BHJP(液体用容積形機械;液体または圧縮性流体用ポンプ)
要約
【課題】本発明は、簡単に異なる大きさの容器を取り付け可能なディスペンサーの提供を目的とする。
【解決手段】本発明のディスペンサー1は、基体2と、容器が載置される載置部3と、容器の吐出部を吐出操作可能な吐出操作部とを備え、載置部3は、基体2に対して昇降動作可能に取り付けられ、基体2は、載置部3の昇降方向に沿って複数設けられた被係合部24を備え、載置部3は、複数の被係合部24に対して係合可能に設けられた係合部32と、係合部32を、被係合部24に係合可能な係合位置と被係合部24に対して係合解除された係合解除位置との間で移動可能に操作する係合部操作部33とを備えている。
【選択図】図9
特許請求の範囲
【請求項1】
内容物が収容された容器本体と吐出部とを備えた容器を載置可能であり、前記容器の前記吐出部から内容物を吐出できるように構成されたディスペンサーであって、前記ディスペンサーは、
基体と、
前記容器が載置される載置部と、
前記容器の吐出部を吐出操作可能な吐出操作部と
を備え、
前記載置部は、前記基体に対して昇降動作可能に取り付けられ、
前記基体は、前記載置部の昇降方向に沿って複数設けられた被係合部を備え、
前記載置部は、前記複数の被係合部に対して係合可能に設けられた係合部と、前記係合部を、前記被係合部に係合可能な係合位置と前記被係合部に対して係合解除された係合解除位置との間で移動可能に操作する係合部操作部とを備えている、
ディスペンサー。
続きを表示(約 940 文字)
【請求項2】
前記係合部は、付勢部材によって前記係合位置に付勢されており、前記係合部操作部が操作されたときに、前記係合部は前記係合解除位置に移動するように構成され、前記係合部操作部の操作が解除されたときに、前記係合部は前記係合位置に移動して前記被係合部に係合するように構成されている、請求項1に記載のディスペンサー。
【請求項3】
前記基体は、前記容器が前記載置部に配置されたときに、前記容器の背面側と対向する正面壁部を有し、前記複数の被係合部は、前記正面壁部のうち、前記昇降方向で下側に設けられた複数の連続した凹凸部によって構成されている、請求項1に記載のディスペンサー。
【請求項4】
前記基体が、前記容器が前記載置部に配置されたときに、前記正面壁部から前記容器の前方側へ向かって延びる一対の側壁を有し、
前記載置部は、
前記正面壁部側となる第1の端部領域において、前記正面壁部または前記側壁に対して、前記昇降方向に案内される第1被案内部と、
前記正面壁部とは反対側となる第2の端部領域において、前記側壁に対して、前記昇降方向に案内される第2被案内部と
を備えている、
請求項3に記載のディスペンサー。
【請求項5】
前記正面壁部または前記側壁が、前記第1被案内部を案内するように前記昇降方向に沿って延びる第1案内部を備え、
前記側壁が、前記第2被案内部を案内するように前記昇降方向に沿って延びる第2案内部を備え、
前記第2案内部は、前記側壁の前方側において前記側壁を貫通して、前記昇降方向に沿って延びるスロット状に形成され、
前記第2被案内部は、スロット状の前記第2案内部を貫通して前記載置部に締結されるネジ部材によって構成され、
前記ネジ部材の軸部は、前記ネジ部材が緩んだ状態であっても、前記ネジ部材の軸部が、スロット状の前記第2案内部の内縁に当接することで、前記載置部が、前記係合部と前記被係合部との間の係合部分を支点として、前記載置部の前方側が下方へ下がるように回転することを抑制するように構成されている、
請求項4に記載のディスペンサー。
発明の詳細な説明
【技術分野】
【0001】
本発明はディスペンサーに関する。
続きを表示(約 2,000 文字)
【背景技術】
【0002】
特許文献1には手動ポンプ付容器から液体を吐出する液体吐出補助装置が開示されている。この液体吐出補助装置は、手動ポンプ付容器に設けられた手動ポンプの操作部を上方から押し下げることで容器内部の液体を吐出させる手動ポンプ操作部押下機構と、手動ポンプ操作部押下機構を動作させるための電源部を備えている。電源部は手動ポンプ操作部押下機構の下方に設けられている。電源部によって手動ポンプ操作部押下機構が駆動されると、手動ポンプ操作部押下機構に設けられたクランクによって、手動ポンプの操作部が押し下げられる。また、特許文献1の液体吐出補助装置において、手動ポンプ操作部押下機構は、異なる容器の大きさに対応できるように、電源部に対する位置を変更可能に構成されている。具体的には、特許文献1では、手動ポンプ操作部押下機構の上下方向の位置を調整した後、ボルトを締め付けることにより手動ポンプ操作部押下機構を固定するように構成されている。
【先行技術文献】
【特許文献】
【0003】
特開平9-14129号公報
【発明の概要】
【発明が解決しようとする課題】
【0004】
しかし、特許文献1の液体吐出補助装置では、手動ポンプ操作部押下機構の電源部に対する位置を変更するために、まずボルトを緩めて取り外した後、手動ポンプ操作部押下機構の位置を調整し、その後、ボルトを挿入して締め付ける必要がある。そのため、異なる容器の大きさに対応させるときの調整が非常に煩雑である。
【0005】
そこで、本発明は、簡単に異なる大きさの容器を取り付け可能なディスペンサーの提供を目的とする。
【課題を解決するための手段】
【0006】
本発明のディスペンサーは、内容物が収容された容器本体と吐出部とを備えた容器を載置可能であり、前記容器の前記吐出部から内容物を吐出できるように構成されたディスペンサーであって、前記ディスペンサーは、基体と、前記容器が載置される載置部と、前記容器の吐出部を吐出操作可能な吐出操作部とを備え、前記載置部は、前記基体に対して昇降動作可能に取り付けられ、前記基体は、前記載置部の昇降方向に沿って複数設けられた被係合部を備え、前記載置部は、前記複数の被係合部に対して係合可能に設けられた係合部と、前記係合部を、前記被係合部に係合可能な係合位置と前記被係合部に対して係合解除された係合解除位置との間で移動可能に操作する係合部操作部とを備えている。
【発明の効果】
【0007】
本発明のディスペンサーによれば、簡単に異なる大きさの容器を取り付け可能となる。
【図面の簡単な説明】
【0008】
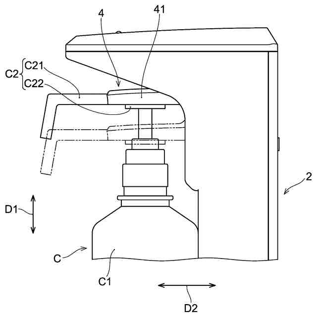
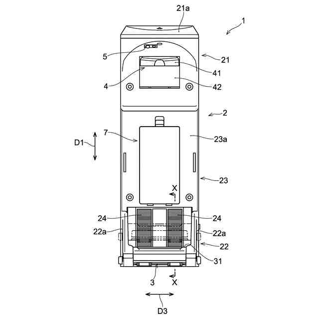
容器が載置された、本発明の一実施形態のディスペンサーを示す斜視図である。
容器が載置されていない状態の、本発明の一実施形態のディスペンサーを示す斜視図である。
本発明の一実施形態のディスペンサーを示す正面図である。
吐出操作部が押し下げられる前の状態を示す正面図である。
吐出操作部が押し下げられた状態を示す正面図である。
吐出操作部が押し下げられる前の状態(実線)および押し下げられた状態(二点鎖線)を示す側面図である。
囲い部およびトレーが設けられたディスペンサーの変形例を示す斜視図である。
本発明の一実施形態のディスペンサーを示す側面図である。
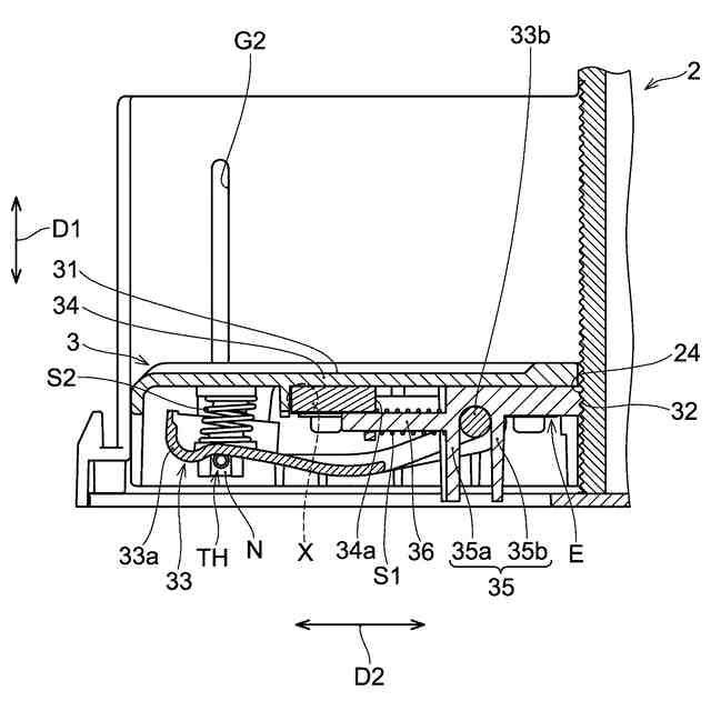
図3のX-X線断面図である。
図9に示される状態から、係合部操作部が操作されて、係合部が係合解除位置に移動した状態を示す断面図である。
基体に設けられた位置決め表示の一例を示す図である。
基体の下面側から係合部操作部を見た図である。
第2案内部の内縁にネジ部材の軸部が当接して、載置部の回転が抑制された状態を示す模式図である。
【発明を実施するための形態】
【0009】
以下、図面を参照し、本発明の一実施形態のディスペンサーを説明する。なお、以下に示す実施形態はあくまで一例であり、本発明のディスペンサーは、以下の実施形態に限定されるものではない。
【0010】
なお、本明細書において、「Aに垂直」およびこれに類する表現は、Aに対して完全に垂直な方向のみを指すのではなく、Aに対して略垂直であることを含んで指すものとする。また、本明細書において、「Bに平行」およびこれに類する表現は、Bに対して完全に平行な方向のみを指すのではなく、Bに対して略平行であることを含んで指すものとする。また、本明細書において、「C形状」およびこれに類する表現は、完全なC形状のみを指すのではなく、見た目にC形状を連想させる形状(略C形状)を含んで指すものとする。
(【0011】以降は省略されています)
この特許をJ-PlatPat(特許庁公式サイト)で参照する
関連特許
健栄製薬株式会社
ディスペンサー
2か月前
個人
圧縮機
5か月前
個人
海流製造装置。
27日前
株式会社スギノマシン
圧縮機
5日前
ダイニチ工業株式会社
空調装置
4か月前
株式会社ツインバード
送風装置
25日前
株式会社ツインバード
送風装置
25日前
カヤバ株式会社
電動ポンプ
2か月前
株式会社不二越
蓄圧装置
2か月前
ビッグボーン株式会社
送風装置
1か月前
個人
携帯型扇風機用の送風ノズル
4か月前
株式会社ニクニ
液封式ポンプ装置
4か月前
シャープ株式会社
送風装置
5か月前
シャープ株式会社
送風装置
5か月前
株式会社酉島製作所
ポンプ
3か月前
株式会社ノーリツ
ロータリ圧縮機
1か月前
株式会社酉島製作所
ポンプ
4か月前
樫山工業株式会社
真空ポンプ
6日前
株式会社ノーリツ
ロータリー圧縮機
3か月前
株式会社不二越
油圧ユニット
4か月前
小倉クラッチ株式会社
ルーツブロア
2か月前
株式会社不二越
ベーンポンプ
2か月前
サンデン株式会社
スクロール圧縮機
11日前
サンデン株式会社
スクロール圧縮機
11日前
サンデン株式会社
スクロール圧縮機
11日前
株式会社坂製作所
スクロール圧縮機
3か月前
株式会社コスメック
ピストン型ポンプ
4か月前
株式会社村田製作所
圧電ポンプ
5か月前
株式会社アイシン
ポンプケース
18日前
株式会社島津製作所
真空ポンプ
25日前
株式会社豊田自動織機
流体機械
1か月前
株式会社チロル
送風機、送風機付衣服
1か月前
株式会社島津製作所
真空ポンプ
1か月前
個人
連結式螺旋翼体及び流体移送装置
4か月前
エドワーズ株式会社
真空ポンプ
19日前
株式会社豊田自動織機
電動圧縮機
2か月前
続きを見る
他の特許を見る