TOP
|
特許
|
意匠
|
商標
特許ウォッチ
Twitter
他の特許を見る
10個以上の画像は省略されています。
公開番号
2025115276
公報種別
公開特許公報(A)
公開日
2025-08-06
出願番号
2024009745
出願日
2024-01-25
発明の名称
給電装置
出願人
株式会社ダイヘン
代理人
個人
,
個人
主分類
H02J
50/60 20160101AFI20250730BHJP(電力の発電,変換,配電)
要約
【課題】簡易な構成で異物除去を実現する給電装置を提供する。
【解決手段】給電装置は、駐車エリアの地面又は床面に設置される給電コイルと、前記給電コイルの上に設置される異物除去部と、前記異物除去部と連設されており、前記駐車エリアの輪留めよりも内側に、前記駐車エリアの奥行き方向に移動可能に設置され、前記駐車エリアに進入する自動車によって移動する移動部と、前記移動部を元の位置に戻す復帰機構とを備える。
【選択図】図2
特許請求の範囲
【請求項1】
駐車エリアの地面又は床面に設置される給電コイルと、
前記給電コイルの上に設置される異物除去部と、
前記異物除去部と連設されており、前記駐車エリアの輪留めよりも内側に、前記駐車エリアの奥行き方向に移動可能に設置され、前記駐車エリアに進入する自動車によって移動する移動部と、
前記移動部を元の位置に戻す復帰機構と
を備える給電装置。
続きを表示(約 400 文字)
【請求項2】
前記移動部は、前記駐車エリアに進入する前記自動車によって押される幅を有し、
前記異物除去部は、前記自動車の下方に潜りこむことが可能な形状を有し、
一体に移動する前記異物除去部及び前記移動部の前記駐車エリアの奥行き方向における長さの総計は、前記駐車エリアの輪留めの内側面から前記給電コイルの奥側までの長さよりも長い
請求項1に記載の給電装置。
【請求項3】
前記異物除去部は、略平板であって、前記給電コイルの筐体の上面を覆う
請求項1に記載の給電装置。
【請求項4】
前記異物除去部の上面には、移動方向の直交方向に沿って返しが立設されている
請求項3に記載の給電装置。
【請求項5】
前記異物除去部は下部に、前記給電コイルの筐体上面を掃くブラシを備える
請求項1に記載の給電装置。
発明の詳細な説明
【技術分野】
【0001】
本発明は、異物を除去して電気自動車へのワイヤレス給電を安全に実施できる給電装置に関する。
続きを表示(約 1,300 文字)
【背景技術】
【0002】
大容量のリチウムイオン電池を駆動用バッテリとし、駆動用バッテリに蓄積された電力で走行用のモータを駆動する電気自動車が普及し始めている。電気自動車に搭載された駆動用バッテリへの給電方法として、電力ケーブル経由ではなく、無線によって給電するワイヤレス給電が実用化されている。
【0003】
ワイヤレス給電では、電気自動車が進入できる空間に設置された給電コイルに、電気自動車に搭載されている送電コイルを対向させるように、電気自動車を動かす必要がある。電気自動車が進入できる給電エリアには、風や遺棄などによって異物も進入できる。給電コイルと、対向する送電コイルとの間に磁性体の異物が存在していると、給電コイルで発生した交流磁界がその異物の熱に変換されて給電効率が低下すると共に、その異物が高温になり安全性に問題が生じる。
【0004】
このため、ワイヤレス給電では、給電コイルと送電コイルとの間の異物を検出すると、給電を停止する対策が取られている。しかしながら、異物が検出されると取り除かれるまでは給電を実施できない場合、長い期間、給電の機会が損失する。特許文献1では、異物を検出すると、給電コイルのカバーを傾斜させたり、ブロワーで風を発生させたりして異物を除去することが提案されている。
【先行技術文献】
【特許文献】
【0005】
特開2013-059239号公報
【発明の概要】
【発明が解決しようとする課題】
【0006】
異物を検出するための機構と、異物を除去するための電動の異物除去用装置とを特別に設ける構成では、それらの機構の制御の複雑化や、大型化でコスト増となる。
【0007】
本発明は、簡易な構成で異物除去を実現する給電装置を提供することを目的とする。
【課題を解決するための手段】
【0008】
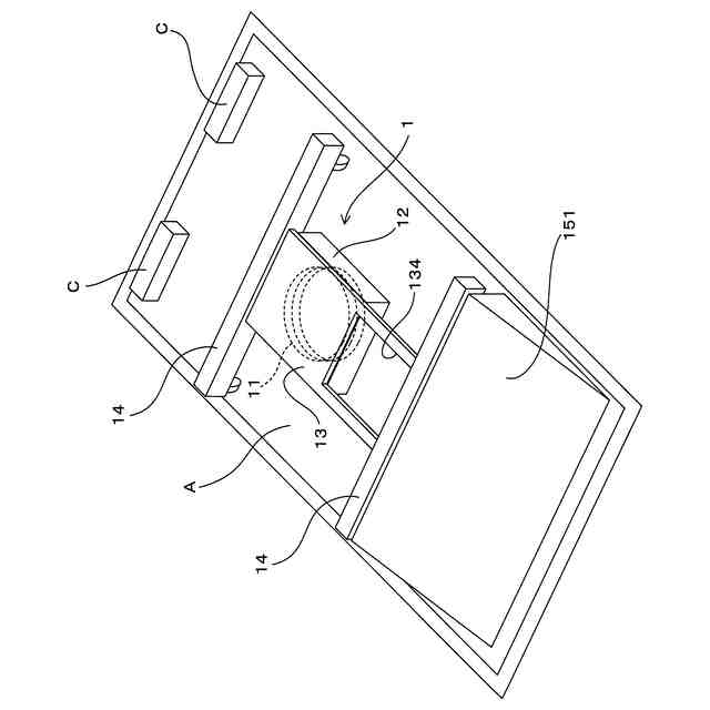
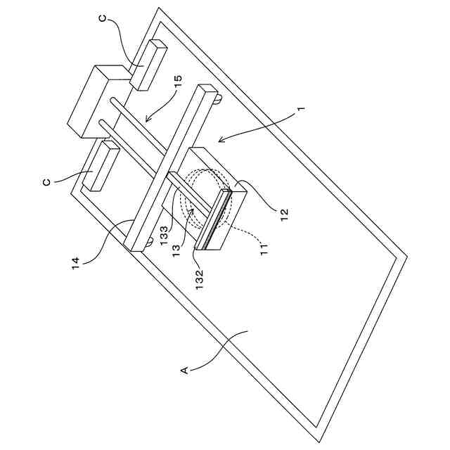
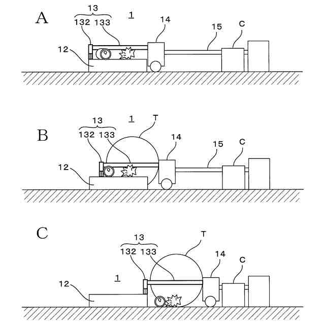
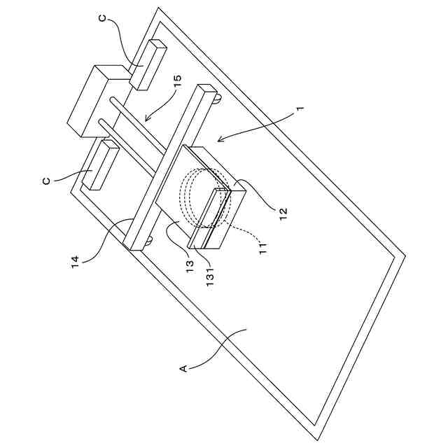
本開示の一実施形態の給電装置は、駐車エリアの地面又は床面に設置される給電コイルと、前記給電コイルの上に設置される異物除去部と、前記異物除去部と連設されており、前記駐車エリアの輪留めよりも内側に、前記駐車エリアの奥行き方向に移動可能に設置され、前記駐車エリアに進入する自動車によって移動する移動部と、前記移動部を元の位置に戻す復帰機構とを備える。
【0009】
本開示の給電装置では、駐車エリアに進入してきた電気自動車によって移動部が輪留めに対して押し込められると、移動部と一体に移動する異物除去部が給電コイルの上面の異物を除去する。異物除去部として特定の機構も、制御も不要である。
【発明の効果】
【0010】
本開示によれば、電気自動車を駐車エリアに停めることによって、給電コイル上の異物が自動的に除去される。異物の検出機構も、電動の異物除去用装置も不要であって、簡易な構成で異物除去を達成できる。
【図面の簡単な説明】
(【0011】以降は省略されています)
この特許をJ-PlatPat(特許庁公式サイト)で参照する
関連特許
株式会社ダイヘン
移動装置
1か月前
株式会社ダイヘン
固相接合装置
26日前
株式会社ダイヘン
固相接合装置
26日前
株式会社ダイヘン
固相接合装置
26日前
株式会社ダイヘン
固相接合装置
26日前
株式会社ダイヘン
電力管理装置
26日前
株式会社ダイヘン
電力変換装置
1か月前
株式会社ダイヘン
絶縁紙巻回装置
4日前
株式会社ダイヘン
プラズマ発生器
7日前
株式会社ダイヘン
変換装置集積体
1か月前
株式会社ダイヘン
ロボットシステム
4日前
株式会社ダイヘン
ロボットシステム
7日前
株式会社ダイヘン
サブマージアーク溶接制御方法
1か月前
株式会社ダイヘン
交流パルスアーク溶接制御方法
27日前
株式会社ダイヘン
交流パルスアーク溶接制御方法
1か月前
株式会社ダイヘン
サブマージアーク溶接システム
27日前
株式会社ダイヘン
絶縁紙巻回装置及び絶縁紙巻回方法
4日前
株式会社ダイヘン
固相接合装置および固相接合システム
1か月前
株式会社ダイヘン
固相接合装置および固相接合装置の制御方法
1か月前
株式会社ダイヘン
プログラム、情報処理方法、及び情報処理装置
1か月前
株式会社ダイヘン
ベルト伝動機構およびこれを備えた搬送ロボット
1か月前
株式会社ダイヘン
ハンド装置、支持用ユニット及びハンド装置の制御方法
1か月前
株式会社ダイヘン
無線給電システム
1か月前
株式会社ダイヘン
サブマージアーク溶接の溶接方法、および、サブマージアーク溶接システム
27日前
個人
電源装置
18日前
個人
バッテリ内蔵直流電源
17日前
株式会社FUJI
制御盤
7日前
オムロン株式会社
電源回路
11日前
オムロン株式会社
電源回路
11日前
オムロン株式会社
電源回路
11日前
トヨタ自動車株式会社
回転子
18日前
トヨタ自動車株式会社
回転子
3日前
ニデック株式会社
モータの制御方法
25日前
ミサワホーム株式会社
居住設備
7日前
大豊工業株式会社
モータ
17日前
東京応化工業株式会社
発電装置
11日前
続きを見る
他の特許を見る