TOP
|
特許
|
意匠
|
商標
特許ウォッチ
Twitter
他の特許を見る
10個以上の画像は省略されています。
公開番号
2025115497
公報種別
公開特許公報(A)
公開日
2025-08-07
出願番号
2024009976
出願日
2024-01-26
発明の名称
不揮発性記憶装置及び集積回路装置
出願人
セイコーエプソン株式会社
代理人
個人
,
個人
,
個人
主分類
G11C
7/06 20060101AFI20250731BHJP(情報記憶)
要約
【課題】メモリーセルの劣化が早まるおそれを低減させることが可能な不揮発性記憶装置を提供すること。
【解決手段】複数のメモリーセルを有するメモリーセルアレイと、前記メモリーセルアレイからデータを読み出す読み出し回路と、を備え、前記読み出し回路は、第1モードでは、前記第1ノードに電気的に接続される第1メモリーセルに流れる第1検出電流と、前記第2ノードに電気的に接続される第2メモリーセルに流れる第2検出電流とを比較することで、相補データを読み出し、第2モードでは、前記第1検出電流に対して第1リファレンス電流を加算又は減算した電流と、前記第2検出電流とを比較することで、前記相補データを読み出し、又は、前記第1検出電流と、前記第2検出電流に対して第2リファレンス電流を加算又は減算した電流とを比較することで、前記相補データを読み出す、不揮発性記憶装置。
【選択図】図2
特許請求の範囲
【請求項1】
第1メモリーセル及び第2メモリーセルを含む複数の不揮発性のメモリーセルを有するメモリーセルアレイと、
第1ノード及び第2ノードを介して前記メモリーセルアレイからデータを読み出す読み出し回路と、を備え、
前記読み出し回路は、
第1モードでは、前記第1ノードに電気的に接続される前記第1メモリーセルに流れる第1検出電流と、前記第2ノードに電気的に接続される前記第2メモリーセルに流れる第2検出電流とを比較することで、前記第1メモリーセル及び前記第2メモリーセルに記憶される相補データを読み出し、
第2モードでは、前記第1検出電流に対して第1リファレンス電流を加算又は減算した電流と、前記第2検出電流とを比較することで、前記相補データを読み出し、又は、前記第1検出電流と、前記第2検出電流に対して第2リファレンス電流を加算又は減算した電流とを比較することで、前記相補データを読み出す、不揮発性記憶装置。
続きを表示(約 820 文字)
【請求項2】
請求項1において、
前記読み出し回路を、前記第1モード及び前記第2モードのいずれで動作させるかを外部から設定可能なレジスターを備える、不揮発性記憶装置。
【請求項3】
請求項1において、
前記読み出し回路は、
第3モードでは、前記第1検出電流と前記第2リファレンス電流とを比較することで、前記第1メモリーセルに記憶されるデータを読み出し、又は、前記第2検出電流と前記第1リファレンス電流とを比較することで、前記第2メモリーセルに記憶されるデータを読み出す、不揮発性記憶装置。
【請求項4】
請求項3において、
前記読み出し回路を、前記第1モード、前記第2モード及び前記第3モードのいずれで動作させるかを外部から設定可能なレジスターを備える、不揮発性記憶装置。
【請求項5】
請求項1において、
前記読み出し回路は、
前記第1モードで前記相補データを読み出し、
前記第1モードで読み出した前記相補データに基づいて、前記第1検出電流に対して前記第1リファレンス電流を加算又は減算するか、前記第2検出電流に対して前記第2リファレンス電流を加算又は減算するかを決定し、前記第2モードで前記相補データを読み出す、不揮発性記憶装置。
【請求項6】
請求項1において、
前記読み出し回路は、
前記第1メモリーセル及び前記第2メモリーセルに書き込まれた前記相補データに基づいて、前記第1検出電流に対して前記第1リファレンス電流を加算又は減算するか、前記第2検出電流に対して前記第2リファレンス電流を加算又は減算するかを決定し、前記第2モードで前記相補データを読み出す、不揮発性記憶装置。
【請求項7】
請求項1乃至6のいずれか一項に記載の不揮発性記憶装置を備えた、集積回路装置。
発明の詳細な説明
【技術分野】
【0001】
本発明は、不揮発性記憶装置及び集積回路装置に関する。
続きを表示(約 3,100 文字)
【背景技術】
【0002】
特許文献1には、メモリーセルアレイに設けられる第1のメモリーセルと第2のメモリーセルが、別個のデータを記憶するシングルモードと、互いに相補的なデータである相補データを記憶するデュアルモードとを有する、不揮発性記憶装置が記載されている。特許文献1に記載の不揮発性記憶装置によれば、メモリーセルアレイに設けられる各メモリーセルに対してシングルモードとデュアルモードとを任意に切り替えることができるので、用途に応じて汎用的に使用可能である。
【先行技術文献】
【特許文献】
【0003】
特開2011-192329号公報
【発明の概要】
【発明が解決しようとする課題】
【0004】
特許文献1に記載の不揮発性記憶装置では、第1のメモリーセル及び第2のメモリーセルにデュアルモードで相補データを記憶させる場合、相補データを書き込んだ後のベリファイにおいて、第1のメモリーセル及び第2のメモリーセルにそれぞれ書き込まれたデータがシングルモードで読み出される。そして、第1のメモリーセル及び第2のメモリーセルのうち、データ”1”が書き込まれたメモリーセルに流れる検出電流がリファレンス電流よりも大きく、かつ、データ”0”が書き込まれたメモリーセルに流れる検出電流がリファレンス電流よりも小さいという条件が満たされるか否かが判定され、この条件が満たされるまで、各メモリーセルに繰り返し書き込みが行われることになる。その結果、各メモリーセルに過剰なストレスが掛かり、劣化が早まるおそれがある。
【課題を解決するための手段】
【0005】
本発明に係る不揮発性記憶装置の一態様は、
第1メモリーセル及び第2メモリーセルを含む複数の不揮発性のメモリーセルを有するメモリーセルアレイと、
第1ノード及び第2ノードを介して前記メモリーセルアレイからデータを読み出す読み出し回路と、を備え、
前記読み出し回路は、
第1モードでは、前記第1ノードに電気的に接続される前記第1メモリーセルに流れる第1検出電流と、前記第2ノードに電気的に接続される前記第2メモリーセルに流れる第2検出電流とを比較することで、前記第1メモリーセル及び前記第2メモリーセルに記憶される相補データを読み出し、
第2モードでは、前記第1検出電流に対して第1リファレンス電流を加算又は減算した電流と、前記第2検出電流とを比較することで、前記相補データを読み出し、又は、前記第1検出電流と、前記第2検出電流に対して第2リファレンス電流を加算又は減算した電流とを比較することで、前記相補データを読み出す。
【0006】
本発明に係る集積回路装置の一態様は、
前記不揮発性記憶装置の一態様を備える。
【図面の簡単な説明】
【0007】
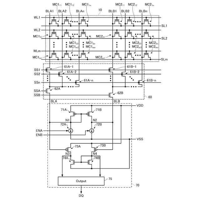
本実施形態の不揮発性記憶装置の概略構成を示すブロック図。
第1実施形態におけるメモリーセルアレイ、スイッチ回路及び読み出し回路の詳細な構成例を示す図。
第1実施形態において第1モードに設定されたときの読み出し回路の状態を示す図。
第1実施形態において第2モードに設定されたときの読み出し回路の状態を示す図。
第1実施形態において第2モードに設定されたときの読み出し回路の他の状態を示す図。
第1実施形態において第1検出電流と第2検出電流との差が小さい場合に第2モードで読み出されるデータの一例を示す図。
第1実施形態において第1検出電流と第2検出電流との差が大きい場合に第2モードで読み出されるデータの一例を示す図。
第1検出電流と第2検出電流との差に対するマージンについての説明図。
第1実施形態における第1モードでのデータ読み出しの手順の一例を示すフローチャート図。
第1実施形態における第2モードでのデータ読み出しの手順の一例を示すフローチャート図。
第2実施形態において第1検出電流と第2検出電流との差が小さい場合に第1モード及び第2モードで読み出されるデータの一例を示す図。
第2実施形態において第1検出電流と第2検出電流との差が大きい場合に第1モード及び第2モードで読み出されるデータの一例を示す図。
第2実施形態におけるデータ書き込み及び第2モードでのデータ読み出しによるベリファイの手順の一例を示すフローチャート図。
第2実施形態における第1モード及び第2モードでのデータ読み出しの手順の一例を示すフローチャート図。
第3実施形態において第3モードに設定されたときの読み出し回路の状態を示す図。
第3実施形態において第3モードに設定されたときの読み出し回路の他の状態を示す図。
第3実施形態において第1メモリーセルに記憶されるデータを第3モードで読み出す手順の一例を示すフローチャート図。
第3実施形態において第2メモリーセルに記憶されるデータを第3モードで読み出す手順の一例を示すフローチャート図。
第4実施形態におけるメモリーセルアレイ、スイッチ回路及び読み出し回路の詳細な構成例を示す図。
第4実施形態において第1モードに設定されたときの読み出し回路の状態を示す図。
第4実施形態において第2モードに設定されたときの読み出し回路の状態を示す図。
第4実施形態において第2モードに設定されたときの読み出し回路の他の状態を示す図。
第4実施形態において第1検出電流と第2検出電流との差が小さい場合に第2モードで読み出されるデータの一例を示す図。
第4実施形態において第1検出電流と第2検出電流との差が大きい場合に第2モードで読み出されるデータの一例を示す図。
第4実施形態における第2モードでのデータ読み出しの手順の一例を示すフローチャート図。
電子機器の構成例を示す機能ブロック図。
【発明を実施するための形態】
【0008】
以下、本発明の好適な実施形態について図面を用いて詳細に説明する。なお、以下に説明する実施の形態は、特許請求の範囲に記載された本発明の内容を不当に限定するものではない。また以下で説明される構成の全てが本発明の必須構成要件であるとは限らない。
【0009】
1.不揮発性記憶装置
1-1.第1実施形態
図1は、本実施形態の不揮発性記憶装置1の概略構成を示すブロック図である。図1に示すように、不揮発性記憶装置1は、メモリーセルアレイ10、電源回路20、ワード線昇圧回路30、ワード線駆動回路40、ソース線駆動回路50、スイッチ回路60、読み出し回路70、メモリー制御回路80及びレジスター90を備える。図2は、メモリーセルアレイ10、スイッチ回路60及び読み出し回路70の詳細な構成例を示す図である。以下、図1及び図2を参照しながら、不揮発性記憶装置1の構成について説明する。
【0010】
メモリー制御回路80は、メモリーセルアレイ10に含まれている複数のメモリーセルMCに消去動作、書き込み動作又は読み出し動作を行わせるように、電源回路20、ワード線昇圧回路30、ワード線駆動回路40、ソース線駆動回路50、スイッチ回路60及び読み出し回路70を制御する。
(【0011】以降は省略されています)
この特許をJ-PlatPat(特許庁公式サイト)で参照する
関連特許
株式会社JVCケンウッド
ファイル管理方法
2か月前
キオクシア株式会社
半導体記憶装置
2日前
キオクシア株式会社
半導体装置
2か月前
ローム株式会社
メモリ回路
1か月前
ローム株式会社
メモリ装置
2日前
ローム株式会社
半導体装置
2か月前
キヤノン株式会社
撮像装置
1か月前
キオクシア株式会社
記憶装置
今日
キオクシア株式会社
記憶装置
2日前
ローム株式会社
半導体記憶装置
1か月前
株式会社東芝
磁気ヘッド、及び、磁気記録装置
13日前
キオクシア株式会社
記憶装置
今日
ローム株式会社
半導体記憶装置
5日前
ローム株式会社
半導体記憶装置
5日前
株式会社東芝
磁気ヘッド、及び、磁気記録装置
1か月前
株式会社東芝
磁気ヘッド、及び、磁気記録装置
1か月前
株式会社東芝
磁気ヘッド、及び、磁気記録装置
1か月前
キオクシア株式会社
磁気メモリ
1か月前
株式会社東芝
磁気ヘッド、及び、磁気記録装置
1か月前
株式会社パトライト
データ処理プログラム及び報知システム
2か月前
キオクシア株式会社
磁気記憶装置
2日前
キオクシア株式会社
半導体記憶装置
2か月前
キオクシア株式会社
半導体記憶装置
22日前
キオクシア株式会社
半導体記憶装置
2か月前
ニデックインスツルメンツ株式会社
磁気ヘッドおよびカードリーダ
1か月前
artience株式会社
磁気記録媒体用プライマーおよび磁気記録媒体
2か月前
キヤノン株式会社
半導体装置および機器
2か月前
株式会社東芝
磁気ディスク装置
13日前
株式会社東芝
磁気ディスク装置
22日前
キオクシア株式会社
半導体記憶装置
2日前
ルネサスエレクトロニクス株式会社
電子装置
2か月前
ルネサスエレクトロニクス株式会社
半導体装置
1か月前
国立大学法人 東京大学
読出回路及び磁気メモリ装置
12日前
TDK株式会社
電源装置およびメモリシステム
1か月前
TDK株式会社
電源装置およびメモリシステム
1か月前
セイコーエプソン株式会社
不揮発性記憶装置及び集積回路装置
1か月前
続きを見る
他の特許を見る