TOP
|
特許
|
意匠
|
商標
特許ウォッチ
Twitter
他の特許を見る
公開番号
2025115618
公報種別
公開特許公報(A)
公開日
2025-08-07
出願番号
2024010174
出願日
2024-01-26
発明の名称
組合せ計量装置
出願人
株式会社イシダ
代理人
フェリシテ弁理士法人
主分類
G01G
19/387 20060101AFI20250731BHJP(測定;試験)
要約
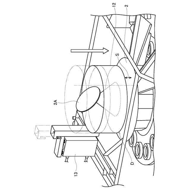
【課題】流れやすい物品であっても、適正な搬送制御の下で、プールホッパに供給すること。
【解決手段】一実施形態に係る組合せ計量装置1は、外部装置100から供給された分散テーブル2上の物品の重量に基づいて、外部装置100に対して、物品の供給の始動或いは停止を指示する制御信号を送信するインターフェイス11と、上下が開口し、分散テーブル2に供給された物品を一時的に堰き止めるシュート12と、分散テーブル2に対して、シュート12を上下動させる昇降機構13と、インターフェイス11による制御信号の送信タイミングに基づいて、昇降機構13によるシュート12を上下動させるタイミングを制御する制御部14とを備える。
【選択図】図1
特許請求の範囲
【請求項1】
外部装置から供給された分散テーブル上の物品の重量に基づいて、前記外部装置に対して、前記物品の供給の始動或いは停止を指示する制御信号を送信するインターフェイスと、
上下が開口し、前記分散テーブルに供給された前記物品を一時的に堰き止めるシュートと、
前記分散テーブルに対して、前記シュートを上下動させる昇降機構と、
前記インターフェイスによる前記制御信号の送信タイミングに基づいて、前記昇降機構による前記シュートを上下動させるタイミングを制御する制御部と、を備える組合せ計量装置。
続きを表示(約 280 文字)
【請求項2】
前記制御部は、前記外部装置から供給される前記物品が前記分散テーブルに到達するタイミング及び前記シュートが最下点に到達するタイミングが同時になるように、前記シュートを下動させるタイミングを制御する、請求項1に記載の組合せ計量装置。
【請求項3】
前記制御部は、前記物品の供給の始動を指示する制御信号を送信してから所定時間が経過した後に、前記シュートの下動を開始させる、請求項1又は2に記載の組合せ計量装置。
【請求項4】
前記シュートの最下点と前記分散テーブルとの間に隙間が存在する、請求項2に記載の組合せ計量装置。
発明の詳細な説明
【技術分野】
【0001】
本発明は、組合せ計量装置に関する。
続きを表示(約 1,300 文字)
【背景技術】
【0002】
従来、組合せ計量装置において、流れやすい物品(例えば、ブロイラー)を供給部から円錐形状の分散テーブル上に供給すると、かかる物品が、分散テーブルからプールホッパに一気に流れていくため、それを抑制するために、分散テーブルの周囲を囲むようなリング状のシュートを上下動可能に設けて、供給部から物品が排出されると同時に、リング状のシュートを分散テーブル上に下降させる技術が知られている。
【0003】
これにより、リング状のシュートが分散テーブルに到達してから、上述の物品が、分散テーブルに到達するから、かかる物品は、リング状のシュートで堰き止められてから適宜に排出される。
【先行技術文献】
【特許文献】
【0004】
特開平10-212016号公報
【発明の概要】
【発明が解決しようとする課題】
【0005】
しかしながら、従来技術では、分散テーブル上に物品の一部が残っている場合は、リング状のシュートが、その上に乗って、物品の流れを阻害してしまうという問題点があった。
【0006】
また、リング状のシュートの降りるタイミングが遅れると、供給部から供給された最初の物品は、リング状のシュートと分散テーブルとの隙間をすり抜けてプールホッパまで一気に流れてしまうという問題点があった。
【0007】
そこで、本発明は、上記課題に鑑みてなされたものであり、流れやすい物品であっても、適正な搬送制御の下で、プールホッパに供給することができる組合せ計量装置を提供することを目的とする。
【課題を解決するための手段】
【0008】
一実施形態に係る組合せ計量装置は、外部装置から供給された分散テーブル上の物品の重量に基づいて、前記外部装置に対して、前記物品の供給の始動或いは停止を指示する制御信号を送信するインターフェイスと、上下が開口し、前記分散テーブルに供給された前記物品を一時的に堰き止めるシュートと、前記分散テーブルに対して、前記シュートを上下動させる昇降機構と、前記インターフェイスによる前記制御信号の送信タイミングに基づいて、前記昇降機構による前記シュートの上下動させるタイミングを制御する制御部と、を備えることを要旨とする。
【発明の効果】
【0009】
本発明によれば、分散テーブルに対し上下動するリング状のシュートを適正なタイミングで上下動させて、流れやすい物品であっても、適正な搬送制御の下でプールホッパに供給することができる組合せ計量装置を提供できる。
【図面の簡単な説明】
【0010】
図1は、一実施形態に係る組合せ計量装置1の全体構成の一例を説明する図である。
図2は、一実施形態に係る組合せ計量装置1のシュート12の動きの一例を説明するための図である。
図3は、一実施形態に係る組合せ計量装置1における制御信号の送信タイミングとシュートを上下動させるタイミングとの関係の一例を示す図である。
【発明を実施するための形態】
(【0011】以降は省略されています)
この特許をJ-PlatPat(特許庁公式サイト)で参照する
関連特許
株式会社イシダ
計量装置
今日
株式会社イシダ
検査装置
28日前
株式会社イシダ
箱詰装置
1か月前
株式会社イシダ
製袋包装機
2か月前
株式会社イシダ
製袋包装機
2日前
株式会社イシダ
商品処理装置
1か月前
株式会社イシダ
X線検査装置
2か月前
株式会社イシダ
製袋包装装置
1か月前
株式会社イシダ
商品処理装置
今日
株式会社イシダ
商品処理装置
1か月前
株式会社イシダ
X線検査装置
今日
株式会社イシダ
X線検査装置
1か月前
株式会社イシダ
X線検査装置
20日前
株式会社イシダ
ラベル発行装置
1か月前
株式会社イシダ
組合せ計量装置
2日前
株式会社イシダ
組合せ計量装置
1か月前
株式会社イシダ
組合せ計量装置
2か月前
株式会社イシダ
組合せ計量装置
2か月前
株式会社イシダ
商品処理システム
1か月前
株式会社イシダ
商品処理システム
1か月前
株式会社イシダ
押込機構及び箱詰装置
1か月前
株式会社イシダ
遮蔽ユニット及びX線検査装置
1か月前
株式会社イシダ
フラップ折込装置、製函装置、封函装置及び箱詰装置
1か月前
株式会社イシダ
検査システム及び検査装置
1日前
個人
計量スプーン
22日前
日本精機株式会社
位置検出装置
今日
日本精機株式会社
位置検出装置
今日
日本精機株式会社
位置検出装置
今日
大和製衡株式会社
組合せ秤
5日前
大和製衡株式会社
組合せ秤
5日前
トヨタ自動車株式会社
検査装置
2日前
株式会社東芝
センサ
5日前
株式会社東芝
センサ
5日前
ダイハツ工業株式会社
測定用具
26日前
アンリツ株式会社
分光器
28日前
株式会社ユーシン
操作検出装置
2日前
続きを見る
他の特許を見る