TOP
|
特許
|
意匠
|
商標
特許ウォッチ
Twitter
他の特許を見る
10個以上の画像は省略されています。
公開番号
2025117464
公報種別
公開特許公報(A)
公開日
2025-08-12
出願番号
2024012325
出願日
2024-01-30
発明の名称
乗員姿勢規制装置
出願人
豊田合成株式会社
代理人
弁理士法人 共立特許事務所
主分類
B60N
2/427 20060101AFI20250804BHJP(車両一般)
要約
【課題】衝撃発生時に乗員にかかる負担を軽減する技術を提供すること。
【解決手段】
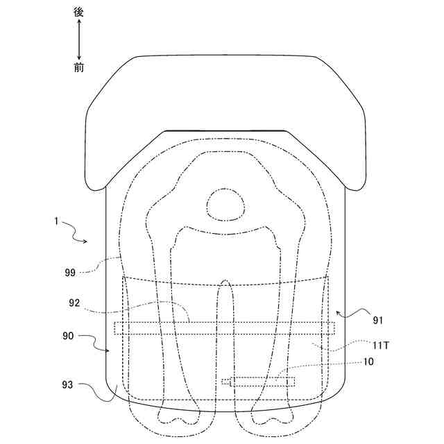
車両の衝撃発生時において座席90に着座した乗員の姿勢を規制するための乗員姿勢規制装置であって、
前記衝撃発生時に作動する持ち上げ要素1を具備し、
前記持ち上げ要素1は、前記衝撃発生時に、前記座席90に着座させたTHOR50Mダミー99における腰部ポイントSWと胸部ポイントSCとの鉛直方向における距離Hが、通常時よりも小さくなるように、前記座席90における座面93を上方に持ち上げる、乗員姿勢規制装置。
【選択図】図3
特許請求の範囲
【請求項1】
車両の衝撃発生時において座席に着座した乗員の姿勢を規制するための乗員姿勢規制装置であって、
前記衝撃発生時に作動する持ち上げ要素を具備し、
前記持ち上げ要素は、前記衝撃発生時に、前記座席に着座させたTHOR50Mダミーにおける腰部ポイントと胸部ポイントとの鉛直方向における距離が、通常時よりも小さくなるように、前記座席における座面を上方に持ち上げる、乗員姿勢規制装置。
続きを表示(約 850 文字)
【請求項2】
前記持ち上げ要素は、前記衝撃発生時に、前記THOR50Mダミーにおける前記腰部ポイントを25ミリ秒で20mm以上持ち上げる速度で前記座席における前記座面を上方に持ち上げる、請求項1に記載の乗員姿勢規制装置。
【請求項3】
前記持ち上げ要素は、前記座席における前記座面の下方に配置され前記衝撃発生時に展開膨張するエアバッグを有するシートクッションエアバッグ装置である、請求項1または請求項2に記載の乗員姿勢規制装置。
【請求項4】
前記持ち上げ要素は、前記座席における前記座面を含むシート部を有し、
前記シート部の少なくとも一部は前記衝撃発生時に上方に位置変化する、請求項1または請求項2に記載の乗員姿勢規制装置。
【請求項5】
前記持ち上げ要素は、前記座席における前記座面よりも下方にあり、前記座席の幅方向に架け渡されているシートバーを有し、
前記シートバーは前記衝撃発生時に上方に位置変化する、請求項1または請求項2に記載の乗員姿勢規制装置。
【請求項6】
前記持ち上げ要素は、前記座席における前記座面よりも下方にあり、前記座席の幅方向および前後方向に延びているシートパンを有し、
前記シートパンの少なくとも一部は前記衝撃発生時に上方に位置変化する、請求項1または請求項2に記載の乗員姿勢規制装置。
【請求項7】
前記持ち上げ要素は、前記衝撃発生時に、前記THOR50Mダミーにおける前記腰部ポイントと前記胸部ポイントとの鉛直方向における距離が前記通常時よりも小さい状態が、前記車両に対する前記腰部ポイントの初回の前方移動が停止するまで維持するように、前記座面を上方に持ち上げる、請求項1または請求項2に記載の乗員姿勢規制装置。
【請求項8】
前記持ち上げ要素に加えて、前記座席とシートベルトとを具備する、請求項1または請求項2に記載の乗員姿勢規制装置。
発明の詳細な説明
【技術分野】
【0001】
本発明は、車両に搭載され、衝撃発生時において乗員の姿勢を規制する乗員姿勢規制装置に関する。
続きを表示(約 1,500 文字)
【背景技術】
【0002】
衝突時等の車両における衝撃発生時に、車両の座席に着座している乗員が、シートベルトを装着しているにも拘わらず前方や下方に移動してしまう現象が生じることが知られている。
なお本明細書でいう前側、前方等とは、座席の座部に着座した乗員の身体を基準とした前後方向における前側、前方等を意味する。同様に、後側、後方等についても座席の座部に着座した乗員の身体を基準とした前後方向における後側、後方等を意味する。また本明細書において、後述する幅方向とは、水平かつ当該前後方向に直交する方向を意味する。さらに、上、下、とは鉛直方向の上、鉛直方向の下を意味する。
【0003】
上記の現象の一種として、例えば、乗員が座席の座面から前側下方に滑り落ちる現象(所謂サブマリン現象)が知られている。
当該サブマリン現象は、車両に対して前方からの衝撃が加わったときに、乗員の腰部が前方に移動して、シートベルトのうち乗員の腰部を拘束するための腰部ストラップ(腰ベルト、ラップストラップとも称される)を下側から潜り抜けることに因ると考えられている。
【0004】
これら乗員が移動してしまう現象を抑制するために、座席における座面よりも下側、より具体的には座部の内部に、シートクッションエアバッグと称されるエアバッグを設ける技術が提案されている(例えば、特許文献1参照)。
【0005】
特許文献1に紹介されている技術によると、衝撃発生時にシートクッションエアバッグを展開膨張させることで座席の座面を上昇させる。特許文献1の〔0007〕段落等には、シートクッションエアバッグが乗員の大腿部を持ち上げることで、乗員の前方への移動を抑制すると説明されている。
【先行技術文献】
【特許文献】
【0006】
特開2013-133079号公報
【発明の概要】
【発明が解決しようとする課題】
【0007】
ところで、例えば特許文献1に紹介されているような従来型のシートクッションエアバッグが作動しても、衝撃発生時には乗員は前方に移動する。発生した衝撃が大きい場合には、乗員が前方に大きく移動する。この場合には、乗員の胸部がシートベルトによって後方に向けて相対的に強く押され、乗員に大きな負担がかかる虞がある。
【0008】
本発明の発明者は、上記した、衝撃発生時に乗員の胸部が強く押される問題を抑制すべく鋭意研究を重ねた。そしてその結果、衝撃発生時に乗員の胸部が強く押される問題が、衝撃発生時における乗員の姿勢と関係していることを見いだした。
【0009】
衝撃発生時において、乗員の身体のうち腰部はシートベルトの腰部ストラップによって拘束され、肩部はシートベルトの肩部ストラップによって拘束される。このとき、従来型のシートクッションエアバッグが作動すると、乗員の大腿部が持ち上げられて、上記したサブマリン現象等が抑制されると考えられる。
【0010】
しかし上記のようにシートベルトで乗員が拘束されかつシートクッションエアバッグが作動した状態であっても、乗員には前方に向けた大きな力が作用する。乗員の腰部は腰部ストラップによって前進しないように固定されるために、衝撃が大きい場合には乗員の上半身が前側に大きく倒れ込む。そしてこのとき、乗員における胸部、すなわち肩部と腰部との間の部分に肩部ストラップが沿うために、当該肩部ストラップの張力によって乗員の胸部が強く押される。
(【0011】以降は省略されています)
この特許をJ-PlatPat(特許庁公式サイト)で参照する
関連特許
豊田合成株式会社
表示装置
29日前
豊田合成株式会社
殺菌装置
13日前
豊田合成株式会社
操作装置
29日前
豊田合成株式会社
発光素子
1か月前
豊田合成株式会社
着座装置
15日前
豊田合成株式会社
半導体素子
21日前
豊田合成株式会社
ガラスラン
6日前
豊田合成株式会社
流体殺菌装置
13日前
豊田合成株式会社
流体殺菌装置
13日前
豊田合成株式会社
樹脂成形装置
7日前
豊田合成株式会社
車両用外装品
27日前
豊田合成株式会社
車両用外装品
27日前
豊田合成株式会社
車載照明装置
29日前
豊田合成株式会社
車両用内装品
1日前
豊田合成株式会社
流体殺菌装置
1か月前
豊田合成株式会社
流体殺菌装置
1か月前
豊田合成株式会社
情報処理装置
1か月前
豊田合成株式会社
車両用内装品
1日前
豊田合成株式会社
乗員保護装置
1か月前
豊田合成株式会社
乗員保護装置
1か月前
豊田合成株式会社
流体殺菌装置
23日前
豊田合成株式会社
車両の前部構造
29日前
豊田合成株式会社
ミスト噴射装置
1か月前
豊田合成株式会社
空調用レジスタ
今日
豊田合成株式会社
空調用レジスタ
今日
豊田合成株式会社
立体エアバッグ
14日前
豊田合成株式会社
空調用レジスタ
今日
豊田合成株式会社
発光エンブレム
1か月前
豊田合成株式会社
車両用エンブレム
1か月前
豊田合成株式会社
車両の音出力装置
3日前
豊田合成株式会社
車両の前部構造体
1か月前
豊田合成株式会社
コンソールボックス
1日前
豊田合成株式会社
コンソールボックス
1日前
豊田合成株式会社
化粧品収納ボックス
1か月前
豊田合成株式会社
コンソールボックス
1日前
豊田合成株式会社
車両の液体貯留構造
1か月前
続きを見る
他の特許を見る