TOP
|
特許
|
意匠
|
商標
特許ウォッチ
Twitter
他の特許を見る
10個以上の画像は省略されています。
公開番号
2025118551
公報種別
公開特許公報(A)
公開日
2025-08-13
出願番号
2025011731
出願日
2025-01-27
発明の名称
時計制御装置
出願人
ロレックス・ソシエテ・アノニム
,
ROLEX SA
代理人
弁理士法人第一国際特許事務所
主分類
G04B
27/02 20060101AFI20250805BHJP(時計)
要約
【課題】簡単で信頼性があり、時計ムーブメント内の厚み内における全体寸法が制限される、時計制御装置を提供する。
【解決手段】時計ムーブメントの時計制御装置であって、フレームと、軸を有する制御真1と、制御真1により回転作動可能であり、少なくとも1つの第一機構、特に少なくとも1つのインジケータ部材の修正の第一機構に接続されるよう適合された、第一ピニオン4と、制御真1により回転作動可能であり、制御真1に対して及びフレームに対しての両方について軸方向に移動され、第二機構、特に巻き上げ機構と接続されるよう適合された、第二ピニオン6と、を含む。
【選択図】図4
特許請求の範囲
【請求項1】
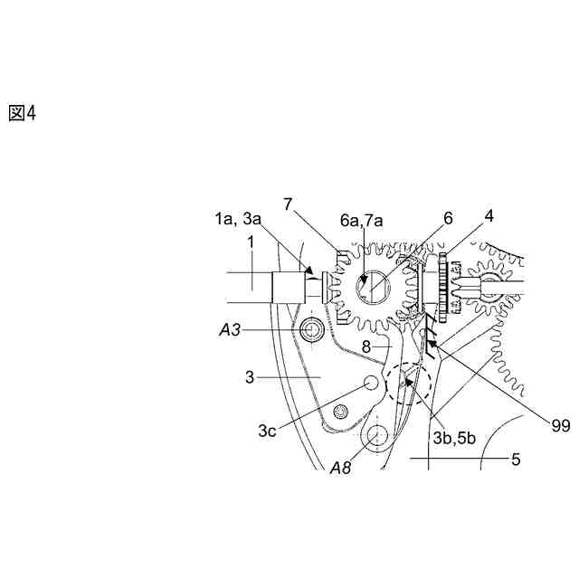
時計ムーブメント(200)の時計制御装置(100)であって、
フレーム(99)と、
軸(A1)を有する、制御真(1)と、
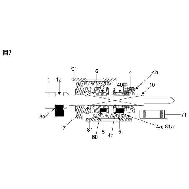
前記制御真(1)により回転作動可能であり、少なくとも1つの第一機構(80、70)、特に少なくとも1つのインジケータ部材の修正の第一機構(80、70)に接続されるよう適合された、第一ピニオン(4)と、
前記制御真(1)により回転作動可能であり、前記制御真(1)に対して及び前記フレーム(99)に対しての両方について軸方向に移動され、第二機構(90)、特に巻き上げ機構(90)と接続されるよう適合された、第二ピニオン(6)と、
を含む、
時計制御装置(100)。
続きを表示(約 1,200 文字)
【請求項2】
前記第一ピニオン(4)は、前記制御真(1)に対して及び前記フレーム(99)に対しての両方について軸方向に移動されるよう適合されるピニオンである、
請求項1に記載の時計制御装置(100)。
【請求項3】
前記時計制御装置(100)は、第一レバー(5)と引き抜き片(3)とを含み、前記第一ピニオン(4)は、前記第一レバー(5)により並進作動され、前記第一レバーは、前記制御真(1)の前記並進の影響により操縦される前記引き抜き片(3)により作動される、
請求項2に記載の時計制御装置(100)。
【請求項4】
前記引き抜き片(3)は、前記第一レバー(5)に、特に前記第一レバー(5)の側面(5b)に、接触により作用するよう適合された第一形状(3b)を含む、
請求項3に記載の時計制御装置(100)。
【請求項5】
前記装置は、前記第一レバー(5)を前記引き抜き片(3)に対して付勢する第一要素(5a)を含む、
請求項3または4に記載の時計制御装置(100)。
【請求項6】
前記時計制御装置(100)は、第二レバー(8)と引き抜き片(3)とを含み、前記第二ピニオン(6)は、前記第二レバー(8)により並進作動されるよう適合され、前記第二レバーは、前記制御真(1)の前記並進の影響により操縦される前記引き抜き片(3)により作動される、
請求項1から5のいずれか一項に記載の時計制御装置(100)。
【請求項7】
前記引き抜き片(3)は、前記第二レバー(8)に、特に前記第二レバー(8)の側面に、接触により作用するよう適合された第二形状(3c)を含む、
請求項6に記載の時計制御装置(100)。
【請求項8】
前記装置は、前記第二レバー(8)を前記引き抜き片(3)に対して付勢する第二要素(8a)を含む、
請求項6または7に記載の時計制御装置(100)。
【請求項9】
前記引き抜き片(3)の前記第一形状(3b)と前記第一レバー(5)は、同一の第一平面(PA)内に配置され、前記引き抜き片(3)の前記第二形状(3c)と前記第二レバー(8)は、前記第一平面に平行な第二平面(PB)内に配置される、
請求項1から8のいずれか一項に、及び請求項3及び6に記載の時計制御装置(100)。
【請求項10】
前記第一または第二ピニオン、特に前記第一ピニオン(4)は、第一歯(4a)及び第二歯(4b)を含み、前記第一歯(4a)は、第一修正機構(80)を作動するよう適合され、前記第二歯(4b)は、第二修正機構(70)を作動するよう適合される、
請求項1から9のいずれか一項に記載の時計制御装置(100)。
(【請求項11】以降は省略されています)
発明の詳細な説明
【技術分野】
【0001】
本発明は、時計ムーブメントの時計制御装置に関する。本発明はまた、当該時計制御装置を含む、時計ムーブメントに関する。本発明は更に、当該時計ムーブメントまたは当該時計制御装置を含む、時計に関する。本発明は最後に、当該時計ムーブメントまたは当該時計または当該時計制御装置を稼働する方法に関する。
続きを表示(約 1,600 文字)
【背景技術】
【0002】
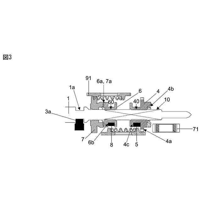
特許文献1は、制御真と回転するよう拘束された単一摺動ピニオンと、制御真上で回転自由に搭載された巻き上げピニオンと、が搭載された制御真により作動可能な機構を開示する。第一軸方向位置において、制御真は、巻き上げピニオンの前歯に作用する摺動ピニオンの後歯を用いて、巻き上げ機構を作動する。第二軸方向位置において、制御真は、同じく巻き上げピニオンの前歯に作用する摺動ピニオンの後歯を用いて、日付及び曜日修正機構を駆動する。第三軸方向位置において、制御真は、摺動ピニオンの前歯を用いて、時修正機構を作動する。当該機構は、真の第一軸方向位置から第二への移動中に、日付または曜日の意図しない修正のリスクを除去することを可能にする。しかしながら、巻き上げ連鎖に張力がかかっている場合に、真の第一軸方向位置から第二への通過中のジャミングのリスクを除去するものではないという欠点を有する。
【0003】
特許文献2は、制御真と回転するよう拘束された単一摺動ピニオンと、同じく当該制御真と回転するよう拘束された巻き上げピニオンと、が搭載された制御真により作動可能な機構を開示する。巻き上げ機能から、インジケータ部材の修正機能への通過を可能にする切り替え装置は、ここでは、2つの別個の水平クラッチ装置の使用により可能になる。特に、第一クラッチは、巻き上げ機構に専念し、第二は、時設定運動学的連鎖を起動または停止するよう、摺動ピニオンの並進を制御するよう適合される。各クラッチは、時計のフレームの平面に平行な平面内に配置され、引き抜き片により直接操縦される、双安定レバーを含む。2つのレバーの一方または他方の第一位置は、関連機能の起動の位置に対応し、第二位置は、停止位置に対応する。このため、追加のクラッチ装置を取り付けることなく、時間派生表示を提供するものといった第二インジケータ部材の修正の第三機能を追加することはできない。
【0004】
特許文献3もまた、制御真と回転するよう拘束された単一摺動ピニオンと、同じく当該制御真と回転するよう拘束された巻き上げピニオンと、が搭載された制御真により作動可能な機構を開示する。当該機構は、少なくとも1つのインジケータ部材の修正機構は摺動ピニオンにより作動される一方、垂直クラッチにより、特に制御真の縦対称軸に垂直な垂直クラッチにより作動される巻き上げ機構を含むという特定の特徴を有する。
【0005】
自身では、特許文献4は、特に、少なくとも2つの別個のインジケータ部材の修正を可能にするため、制御真の作動の同じ向きについて2つの反対の向きにフレームに対して並進で移動可能な摺動ピニオンの特定の運動学を保護することに向けられる。
【先行技術文献】
【特許文献】
【0006】
欧州特許出願公開第1152303号明細書
スイス特許出願公開第432389号明細書
欧州特許出願公開第2724199号明細書
欧州特許出願公開第3339967号明細書
【発明の概要】
【発明が解決しようとする課題】
【0007】
本発明の目的は、従来技術から既知の装置の改善を可能にする、時計制御装置を提供することである。特に、本発明は、簡単で信頼性があり、時計ムーブメント内の厚み内における全体寸法が制限される、時計制御装置を提案する。
【課題を解決するための手段】
【0008】
本発明にかかる時計制御装置は、請求項1で定義される。
【0009】
時計制御装置の実施形態は、請求項2から14で定義される。
【0010】
本発明にかかる時計ムーブメントは、請求項15で定義される。
(【0011】以降は省略されています)
この特許をJ-PlatPat(特許庁公式サイト)で参照する
関連特許
個人
砂時計
15日前
個人
休憩報知タイマー
3か月前
個人
目覚し時計
2か月前
個人
時刻同期システム
17日前
セイコーエプソン株式会社
時計
3か月前
個人
自照式の針により認視性を高めたアナログ式時計
2か月前
セイコーエプソン株式会社
電子時計
1か月前
セイコーエプソン株式会社
機械式時計
3か月前
株式会社oneA
目覚まし装置
3か月前
株式会社村田製作所
光学的パターン表示物品
1日前
セイコーエプソン株式会社
電子制御式機械時計
3か月前
セイコーエプソン株式会社
電子制御式機械時計
3日前
シチズン時計株式会社
電子時計
1か月前
シチズン時計株式会社
機械式時計
2か月前
セイコーエプソン株式会社
ムーブメント及び時計
3か月前
シチズン時計株式会社
機械式時計
1か月前
シチズン時計株式会社
機械式時計
2か月前
個人
アナログ時計、時間表示方法、および、時間表示プログラム
3か月前
セイコーエプソン株式会社
電子時計
3か月前
カシオ計算機株式会社
装飾板及び時計
2日前
セイコーエプソン株式会社
機械式時計
16日前
セイコータイムクリエーション株式会社
からくり時計
1日前
カシオ計算機株式会社
制御装置、制御方法、及びプログラム
2日前
株式会社5コーポレーション
勉強時間測定装置及び勉強時間測定方法
3か月前
カシオ計算機株式会社
機器ケース及び時計
2か月前
カシオ計算機株式会社
機器ケース及び時計
25日前
セイコーエプソン株式会社
インデックス、文字板、及び時計
29日前
カシオ計算機株式会社
電子時計及び電子時計本体
16日前
住友ベークライト株式会社
計時装置、計時方法および検査装置
3か月前
カシオ計算機株式会社
外装部品ユニット及び時計
1日前
モントレー ブレゲ・エス アー
プレート上のディスプレイモジュールの配置
3か月前
セイコーウオッチ株式会社
時計、音声再生方法およびプログラム
1か月前
モントレー ブレゲ・エス アー
表示機構のための調整システム
3か月前
カシオ計算機株式会社
電子時計、外装部材及びバンド
16日前
セイコーエプソン株式会社
機械式時計及び機械式時計の組み立て方法
2か月前
カシオ計算機株式会社
カバー構造体、時計、およびカバー構造体の製造方法
3か月前
続きを見る
他の特許を見る