TOP
|
特許
|
意匠
|
商標
特許ウォッチ
Twitter
他の特許を見る
10個以上の画像は省略されています。
公開番号
2025119343
公報種別
公開特許公報(A)
公開日
2025-08-14
出願番号
2024014196
出願日
2024-02-01
発明の名称
円筒ころ軸受
出願人
NTN株式会社
代理人
個人
,
個人
,
個人
,
個人
主分類
F16C
33/54 20060101AFI20250806BHJP(機械要素または単位;機械または装置の効果的機能を生じ維持するための一般的手段)
要約
【課題】円筒ころ軸受に備える旋削保持器における柱のころ案内面や保持器外径の精度を向上させる。
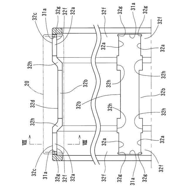
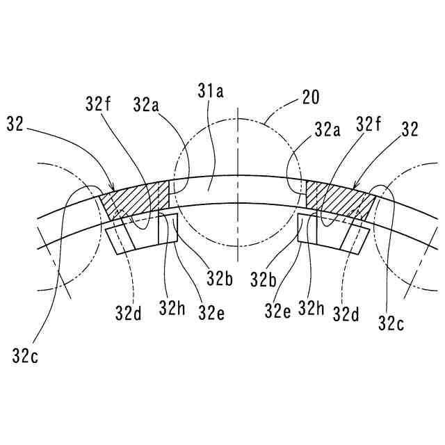
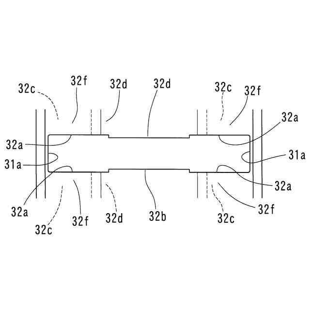
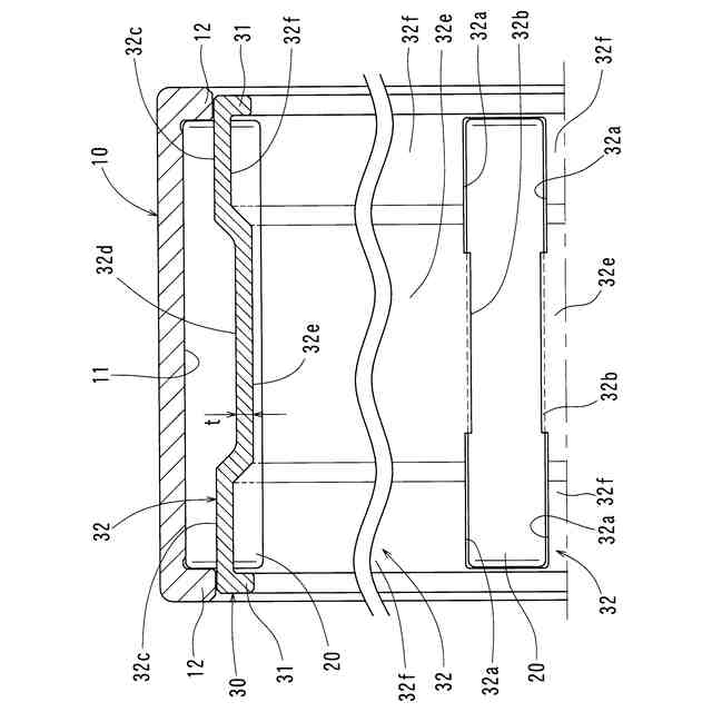
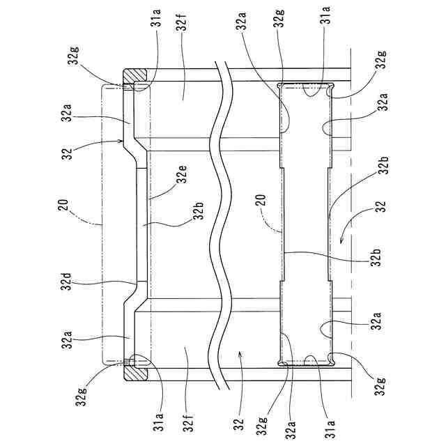
【解決手段】保持器30の両側のリング31間を区切る柱32は、軌道面11を転がる円筒ころ20と円周方向に接するころ案内面32aと、ころ案内面32aとは軸方向に異なる位置で円筒ころ20の脱落を規制する落ち止め32bと、リング31の外径よりも小径に旋削された外側溝32dと、リング31の内径よりも大径に旋削された内側凹面32fとを有する。落ち止め32bが外側溝32dと円周方向に連続し、内側凹面32fがころ案内面32aと円周方向に交差する位置にある。
【選択図】図1
特許請求の範囲
【請求項1】
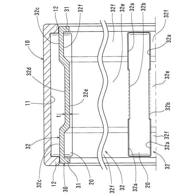
軌道面及び両側の鍔を有する外輪と、複数の円筒ころと、前記円筒ころ同士の円周方向間隔を保つ保持器とを備え、
前記保持器が、両側のリングと、これら両側のリング同士の間を円周方向に均等間隔に区切る複数の柱とを一体に有し、
前記円筒ころが、円周方向に隣り合う前記柱同士の間に配置されており、
前記リングが、前記隣り合う柱同士の間に亘る側端面を有し、
前記柱が、前記軌道面を転がる前記円筒ころと円周方向に接するころ案内面と、前記ころ案内面とは軸方向に異なる位置で前記円筒ころの脱落を規制する落ち止めと、前記リングの外径よりも小径に旋削された外側溝とを有し、
前記落ち止めが、前記外側溝と円周方向に連続している円筒ころ軸受において、
前記柱が、前記リングの内径よりも大径に旋削された内側凹面を有し、
前記内側凹面が、前記ころ案内面と円周方向に交差する位置に形成されていることを特徴とする円筒ころ軸受。
続きを表示(約 600 文字)
【請求項2】
前記柱の前記外側溝が、当該柱の軸方向中間部位に形成されており、
前記柱の前記内側凹面が、片側の前記リングと前記外側溝との間及び当該片側のリングとは反対側の前記リングと当該外側溝との間にそれぞれ形成されている請求項1に記載の円筒ころ軸受。
【請求項3】
前記柱の全体が一定の厚さに設けられている請求項2に記載の円筒ころ軸受。
【請求項4】
前記柱の前記ころ案内面が、平面状に切削されている請求項1又は2に記載の円筒ころ軸受。
【請求項5】
前記柱の前記落ち止めが、打ち抜かれた断面からなる円周方向端面を有する請求項4に記載の円筒ころ軸受。
【請求項6】
前記柱が、前記ころ案内面と前記リングとの間に亘って当該ころ案内面よりも円周方向に凹んだ逃げ面を有し、
前記逃げ面が、打ち抜かれた断面からなり、
前記ころ案内面が、前記逃げ面まで平面状に切削されている請求項4に記載の円筒ころ軸受。
【請求項7】
前記リングの前記側端面が、打ち抜かれた断面からなる請求項5に記載の円筒ころ軸受。
【請求項8】
前記柱が、前記落ち止めと前記ころ案内面との間で当該ころ案内面よりも円周方向に凹んだ油溝を有し、
前記油溝が、打ち抜かれた断面からなる請求項4に記載の円筒ころ軸受。
発明の詳細な説明
【技術分野】
【0001】
この発明は、転動体として円筒ころを備える円筒ころ軸受(ここで、円筒ころの概念には、いわゆる針状ころも含まれる。)に関する。
続きを表示(約 1,400 文字)
【背景技術】
【0002】
従来、軌道面及び両側の鍔を有する外輪と、複数の円筒ころと、これら円筒ころ同士の円周方向間隔を保つ保持器とをアセンブリにした円筒ころ軸受がある。その保持器の製造方法に幾つか種類があり、主に製品の需要数によって保持器の製造方法が決められている。
【0003】
例えば、年間に数十万個という大量の需要には、帯状鋼材を環状に丸め、その両端を突合せて溶接により接合した溶接保持器が採用されている。
【0004】
また、年間数千個の需要には、プレス保持器が採用されている。
【0005】
また、年間数百個の需要には、円筒状ワークの外周を保持器の外径寸法に旋削し、そのワークの円周方向複数箇所を径方向に打ち抜いてポケット穴を空けた旋削保持器が採用されている。また、旋削保持器は、主に、円筒ころのころ径が5mm以上である場合、外輪の軌道面に接する複数の円筒ころに対して内接する仮想円径が100mm以上である場合等、大径サイズである場合に適用される。
【0006】
この種の旋削保持器は、両側のリングと、これら両側のリング同士の間を円周方向に均等間隔に区切る複数の柱とを一体に有する。円筒ころは、円周方向に隣り合う柱同士の間に配置される。リングは、隣り合う柱同士の間に亘る側端面を有する。柱は、外輪の軌道面を転がる円筒ころと円周方向に接するころ案内面と、ころ案内面とは軸方向に異なる位置で円筒ころの脱落を規制する落ち止めと、円周方向に沿ってリングの外径よりも小径に旋削された外側溝とを有する。落ち止めは、柱の外側溝と円周方向に連続している(例えば、特許文献1)。
【0007】
柱のころ案内面は、円筒ころ軸受の運転中、潤滑下で円筒ころの転動面に摺接する。柱の落ち止めは、外輪の両側の鍔同士の間から円筒ころが脱落しないようにして外輪、複数の円筒ころ、保持器をアセンブリ状態に保つ。柱の外側溝は、円筒ころに対して径方向内側(保持器中心軸側)に寄った位置に落ち止めを形成するため、保持器の製造段階でワークに旋削される。その旋削後のワークにポケット穴が打ち抜かれる。このワークの打ち抜き断面のうち、少なくともころ案内面を形成する部位については、円筒ころの転動面を傷めないようにするため、せん断面や破断面を除去しておくことが好ましい。その除去は、ブローチ加工で行うことができる。そのブローチ加工では、ポケット穴に対して径方向の一直線に沿った方向に挿し込まれるブローチの切刃により、せん断面や破断面が除去され、柱のころ案内面と、隣り合う柱同士の間に亘るリングの側端面が平面状に形成される。
【先行技術文献】
【特許文献】
【0008】
実開平5-22848号公報
【発明の概要】
【発明が解決しようとする課題】
【0009】
しかしながら、前述のような大径サイズに適用される旋削保持器の場合、保持器の径方向の断面高さが大きく、保持器の外径寸法が大きいものは、ポケット穴を打ち抜く際やブローチ加工する際の抵抗が大きく、柱のころ案内面や保持器外径の精度を確保することが難しい問題がある。
【0010】
上述の背景に鑑み、この発明が解決しようとする課題は、円筒ころ軸受に備える旋削保持器の柱のころ案内面や保持器外径の精度を向上させることにある。
【課題を解決するための手段】
(【0011】以降は省略されています)
この特許をJ-PlatPat(特許庁公式サイト)で参照する
関連特許
個人
ジョイント
18日前
個人
ナット
19日前
株式会社奥村組
制振機構
8日前
株式会社ノーリツ
分配弁
4日前
アズビル株式会社
回転弁
12日前
株式会社ニフコ
クリップ
4日前
株式会社奥村組
制振機構
8日前
アイホン株式会社
電気機器
8日前
個人
誘導電流活用式差動制限装置
4日前
個人
無段変速可能なフリーホイール
6日前
カシオ計算機株式会社
支持台
4日前
リンナイ株式会社
三方弁
27日前
株式会社荒井製作所
ガスケット
18日前
カヤバ株式会社
チェックバルブ
8日前
株式会社荒井製作所
ガスケット
18日前
株式会社パイオラックス
保持具
18日前
個人
難燃性熱橋ボルトキャップ
11日前
アズビル株式会社
無線式開度計
12日前
株式会社中北製作所
バタフライ弁
4日前
富士電機株式会社
搬送機構
8日前
NTN株式会社
玉軸受
20日前
本田技研工業株式会社
動力伝達装置
1か月前
NTN株式会社
等速自在継手
18日前
カヤバ株式会社
バルブおよび緩衝器
8日前
カヤバ株式会社
バルブおよび緩衝器
8日前
株式会社クボタ
作業車
29日前
住友理工株式会社
断熱材
18日前
株式会社豊田自動織機
流体機械
20日前
株式会社アイシン
ショックアブソーバ
11日前
株式会社豊田自動織機
流体機械
20日前
日立建機株式会社
作業車両
4日前
住友理工株式会社
断熱材
29日前
未来工業株式会社
取付体
1か月前
本田技研工業株式会社
車両用冷却装置
4日前
本田技研工業株式会社
車両用冷却装置
4日前
桑名金属工業株式会社
フレキシブル管用継手
13日前
続きを見る
他の特許を見る