TOP
|
特許
|
意匠
|
商標
特許ウォッチ
Twitter
他の特許を見る
10個以上の画像は省略されています。
公開番号
2025144573
公報種別
公開特許公報(A)
公開日
2025-10-03
出願番号
2024044283
出願日
2024-03-20
発明の名称
車両用冷却装置
出願人
本田技研工業株式会社
代理人
個人
主分類
F16H
57/04 20100101AFI20250926BHJP(機械要素または単位;機械または装置の効果的機能を生じ維持するための一般的手段)
要約
【課題】車両の走行状態に関わらず、動力伝達装置に使用される冷却液の温度に基づいて冷却液冷却手段の動作を適正に制御して無駄なエネルギ消費を低く抑えて燃費(電費)の向上、振動や騒音の抑制などを図ることができる車両用冷却装置を提供すること。
【解決手段】車両に搭載されたベルト式無段変速機(動力伝達装置)3の内部を冷却液によって冷却する車両用冷却装置10は、冷却液の温度である冷却液温を取得する液温センサ(冷却液温取得手段)23と、冷却液を冷却する冷却液冷却手段(シャッターグリル13、ラジエータファン14、電動液ポンプ22、機械式水ポンプ16、電動水ポンプ18、ベルト式無段変速機3、エンジン1)と、冷却液冷却手段を制御するTCU(冷却液冷却手段制御装置)30と、を有し、TCU30は、冷却液温を取得したときの該冷却液温Tと、温度上昇係数Kに基づいて冷却液冷却手段を作動させる。
【選択図】図1
特許請求の範囲
【請求項1】
車両に搭載された動力伝達装置の内部を冷却液によって冷却する車両用冷却装置であって、
前記冷却液の温度である冷却液温を取得する冷却液温取得手段と、
前記冷却液を冷却する冷却液冷却手段と、
前記冷却液冷却手段を制御する冷却液冷却手段制御装置と、
を有し、
前記冷却液冷却手段制御装置は、
前記冷却液温を取得したときの該冷却液温と、
温度上昇係数と、
に基づいて前記冷却液冷却手段を作動させることを特徴とする車両用冷却装置。
続きを表示(約 1,700 文字)
【請求項2】
前記温度上昇係数は、
前記冷却液温を取得したときの該冷却液温と、該冷却液温を取得したときから所定時間前に取得した冷却液温と、上限温度とから次式:
K=(T-T0)/(Tc-T0)
によって求められることを特徴とする請求項1に記載の車両用冷却装置。
【請求項3】
前記温度上昇係数は、
前記冷却液温を取得したときの該冷却液温と、該冷却液温を取得したときの冷却液温の時間微分と、上限温度とから次式:
K=ΔT/(Tc-T)
によって求められることを特徴とする請求項1に記載の車両用冷却装置。
【請求項4】
i=1,2,…,n(nは自然数)とするとき、
前記冷却液冷却手段として、n個の第i冷却液冷却手段を有し、
前記冷却液冷却手段制御装置は、
n個の冷却液温閾値と、n個の温度上昇係数閾値を設定し、
前記冷却液温を取得したときの冷却液温が、
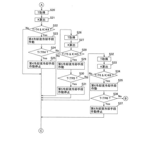
前記第i冷却液温閾値を超え、且つ、前記温度上昇係数が前記第i温度上昇係数閾値を超えたときに、前記第i冷却液冷却手段を作動させることを特徴とする請求項1に記載の車両用冷却装置。
【請求項5】
前記冷却液温閾値は、
前記第1冷却液温閾値~前記第n冷却液温閾値の順に高くなるように設定されていることを特徴とする請求項4に記載の車両用冷却装置。
【請求項6】
前記温度上昇係数閾値は、
第1温度上昇係数閾値~第n温度上昇係数閾値の順に高くなるように設定されていることを特徴とする請求項4に記載の車両用冷却装置。
【請求項7】
前記車両は、
前記動力伝達装置の周辺に導入される走行時の車両外部からの走行風の流量を制御する開閉部を有し、
前記冷却液冷却手段制御装置は、
前記冷却液温を取得したときの該冷却液温が前記第1冷却液温閾値を超え、且つ、前記温度上昇係数が前記第1温度上昇係数閾値を超えたときに第1冷却液冷却手段である前記開閉部の開放量を増加させることを特徴とする請求項4に記載の車両用冷却装置。
【請求項8】
前記車両は、
ラジエータと、
該ラジエータを通過する冷却水を冷却するラジエータファンと、
前記冷却水と前記冷却液とを熱交換させる熱交換器と、
を有し、
前記冷却液冷却手段制御装置は、
前記冷却液温を取得したときの該冷却液温が前記第2冷却液温閾値を超え、且つ、前記温度上昇係数が前記第2温度上昇係数閾値を超えたときに第2冷却液冷却手段である前記ラジエータファンの回転数を増加させることを特徴とする請求項4に記載の車両用冷却装置。
【請求項9】
前記動力伝達装置は、
前記冷却水と前記冷却液とを熱交換させる熱交換器と、
該熱交換器の内部を流通する前記冷却液の流量を制御する電動液ポンプと、
を有し、
前記冷却液冷却手段制御装置は、
前記冷却液温を取得したときの該冷却液温が前記第3冷却液温閾値を超え、且つ、前記温度上昇係数が前記第3温度上昇係数閾値を超えたときに第3冷却液冷却手段である前記電動液ポンプの動作量を増加させることを特徴とする請求項4に記載の車両用冷却装置。
【請求項10】
前記車両は、
原動機と、
該原動機を冷却する水冷回路と、
前記原動機によって駆動されて前記水冷回路を流通する冷却水の流量を制御する機械式水ポンプと、
前記冷却液と前記冷却水とを熱交換させる熱交換器と、
を有し、
前記冷却液冷却手段制御装置は、
前記冷却液温を取得したときの該冷却液温が前記第4冷却液温閾値を超え、且つ、前記温度上昇係数が前記第4温度上昇係数閾値を超えたときに第4冷却液冷却手段である前記機械式水ポンプの動作量を増加させることを特徴とする請求項4に記載の車両用冷却装置。
(【請求項11】以降は省略されています)
発明の詳細な説明
【技術分野】
【0001】
本発明は、車両の動力伝達装置の潤滑や冷却に供される冷却液の温度が上限温度に達する以前に該冷却液を適切に冷却してその温度を上限温度以下に抑えるようにした車両用冷却装置に関する。
続きを表示(約 1,700 文字)
【背景技術】
【0002】
従来、車両に搭載される変速機などの動力伝達装置は、その内部の冷却と潤滑を目的として冷却液(ATF:Automatic Transmission Fluid)を用いているが、この冷却液は、車両の走行に伴って熱の吸収や発熱などによって温度が上昇する。特に、車両の高速走行時や急勾配の登坂走行時などにおいては、冷却液の温度が上昇し易いため、上限温度を超えるおそれが高くなる。ここで、車両の動力伝達装置には、プラネタリ式有段自動変速機、ベルト式無段変速機(CVT:Continuously Variable Transmission)、デュアルクラッチトランスミッション、手動変速機、ハイブリッド駆動装置、電気自動車用ギヤボックスなどが含まれる。
【0003】
ところで、車両の走行に伴って冷却液の温度が所定の温度(上限温度)以上に上昇すると、該冷却液の冷却や潤滑などの性能が低下するため、該冷却液の温度が所定の温度(上限温度)以上に上がらないようにすることが必要である。
【0004】
そこで、従来は冷却液を冷却するために以下の1)~3)に掲げる方法が用いられている。
1)オイルクーラを用いて冷却液を自然空冷・放熱する方法
2)オイルクーラにファンを配置して強制空冷する方法
3)ラジエータとラジエータファンを有する別系統の水冷回路を設け、この水冷回路を循環する冷却水と冷却液との熱交換によって冷却液を冷却する方法
【0005】
上記2),3)の方法に関して、特許文献1,2には、冷却液の温度を検出し、検出された温度が設定温度に達すると、冷却ファンを駆動して冷却液の温度を設定温度以下に抑えるようにした冷却装置が提案されている。
【先行技術文献】
【特許文献】
【0006】
特開昭58-156772号公報
特開2004-340322号公報
【発明の概要】
【発明が解決しようとする課題】
【0007】
しかしながら、前記1)の方法では、冷却液温によってオイルクーラに流す冷却液の流量を制御する以外に採用可能な手法はなく、冷却液温の自在な制御が困難であるという問題がある。
【0008】
また、前記2),3)の方法に関して特許文献1,2において提案された冷却装置においては、所定の設定温度を高く設定すると、発熱量が大きい場合には、冷却ファンを駆動するなどの冷却動作を開始しても、冷却液温が設定温度を簡単に超えてしまうことがあり、逆に設定温度を低くすると、冷却動作が不要である状況においても冷却ファンを駆動してしまい、余分なエネルギ消費による燃費(電費)の低下、ノイズや振動の増大などを招くという問題が発生する可能性がある。
【0009】
本発明は、上記問題に鑑みてなされたもので、その目的は、車両の走行状態に関わらず、動力伝達装置に使用される冷却液の温度に基づいて冷却液冷却手段の動作を適正に制御して無駄なエネルギ消費を低く抑えて燃費(電費)の向上、振動や騒音の抑制などを図ることができる車両用冷却装置を提供することにある。
【課題を解決するための手段】
【0010】
上記目的を達成するための本発明は、車両に搭載された動力伝達装置(3)の内部を冷却液によって冷却する車両用冷却装置(10)であって、前記冷却液の温度である冷却液温を取得する冷却液温取得手段(23)と、前記冷却液を冷却する冷却液冷却手段(1,3,13,14,16,18,22)と、前記冷却液冷却手段(1,3,13,14,16,18,22)を制御する冷却液冷却手段制御装置(30)と、を有し、前記冷却液冷却手段制御装置(30)は、前記冷却液温を取得したときの該冷却液温(T)と、温度上昇係数(K)と、に基づいて前記冷却液冷却手段(1,3,13,14,16,18,22)を作動させることを特徴とする。
(【0011】以降は省略されています)
この特許をJ-PlatPat(特許庁公式サイト)で参照する
関連特許
本田技研工業株式会社
装置
7日前
本田技研工業株式会社
車両
8日前
本田技研工業株式会社
モータ
4日前
本田技研工業株式会社
断続装置
2日前
本田技研工業株式会社
保管装置
2日前
本田技研工業株式会社
保管装置
2日前
本田技研工業株式会社
保持装置
1日前
本田技研工業株式会社
固体電池
2日前
本田技研工業株式会社
送電装置
2日前
本田技研工業株式会社
受電装置
2日前
本田技研工業株式会社
車両構造
4日前
本田技研工業株式会社
車両構造
4日前
本田技研工業株式会社
バッテリ
1日前
本田技研工業株式会社
会話装置
今日
本田技研工業株式会社
ステータ
今日
本田技研工業株式会社
バッテリ
1日前
本田技研工業株式会社
内燃機関
7日前
本田技研工業株式会社
切断装置
今日
本田技研工業株式会社
電解装置
15日前
本田技研工業株式会社
通知装置
7日前
本田技研工業株式会社
内燃機関
7日前
本田技研工業株式会社
鞍乗型車両
14日前
本田技研工業株式会社
リンク機構
今日
本田技研工業株式会社
リアクトル
7日前
本田技研工業株式会社
固体二次電池
14日前
本田技研工業株式会社
車両制御装置
8日前
本田技研工業株式会社
放電処理方法
2日前
本田技研工業株式会社
鞍乗り型車両
1日前
本田技研工業株式会社
潤滑システム
14日前
本田技研工業株式会社
鞍乗り型車両
今日
本田技研工業株式会社
電源システム
2日前
本田技研工業株式会社
鞍乗り型車両
今日
本田技研工業株式会社
潤滑システム
2日前
本田技研工業株式会社
運転制御装置
4日前
本田技研工業株式会社
分離システム
4日前
本田技研工業株式会社
車両制御装置
14日前
続きを見る
他の特許を見る