TOP
|
特許
|
意匠
|
商標
特許ウォッチ
Twitter
他の特許を見る
公開番号
2025123542
公報種別
公開特許公報(A)
公開日
2025-08-22
出願番号
2025106898,2022005103
出願日
2025-06-25,2022-01-17
発明の名称
パレット
出願人
三甲株式会社
代理人
個人
主分類
B65D
19/24 20060101AFI20250815BHJP(運搬;包装;貯蔵;薄板状または線条材料の取扱い)
要約
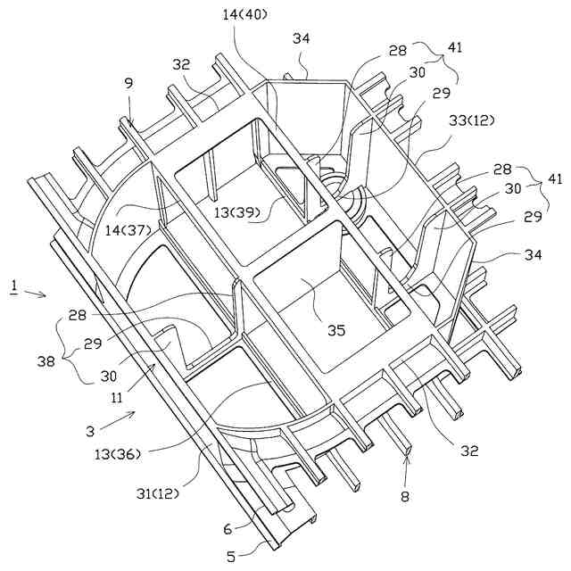
【課題】強度の低下を抑制しつつ軽量化を図ることのできるパレットを提供する。
【解決手段】パレット1の隅柱部2は、パレット1の外周面を構成する隅外壁構成部21と、中間柱部3と対向する隅内壁構成部22とを具備する外周壁部11と、外周壁部11の内側において隅外壁構成部21の上辺部及び下辺部に対してそれぞれ水平方向に所定距離離間して略平行に延在する上部桟13及び下部桟14とを備える。隅柱部2は、隅外壁構成部21の直近となる上部桟13(対象上部桟25)の中間部位から対象下部桟26にかけて略鉛直方向に延在する内側垂直接続リブ28と、内側垂直接続リブ28の上端部から略水平方向に延出して隅外壁構成部21の上端部と連結される水平接続リブ29と、隅外壁構成部21の内面に沿って略鉛直方向に延在し、上端部が水平接続リブ29と連結される外側垂直接続リブ30とを具備し、全体として略U字状をなす連結リブ27を備える。
【選択図】 図3
特許請求の範囲
【請求項1】
複数の柱部と、前記複数の柱部の上端部間を連結する上デッキ部とを備え、前記複数の柱部の間にフォークを備える運搬手段のフォークを挿入可能とするフォーク挿入部が形成され、平面視矩形状をなすパレットにおいて、
前記柱部は、当該柱部の外周面を構成する外周壁部と、前記外周壁部の内側において前記外周壁部を構成する壁部のうち対象壁部の上辺部に対して水平方向に所定距離離間して平行に延在する上部桟と、前記外周壁部の内側において前記対象壁部の下辺部に対して水平方向に所定距離離間して平行に延在する下部桟とを備え、
前記上部桟、及び、前記下部桟は、一端部が前記外周壁部を構成する壁部のうち前記対象壁部に対して交差する方向に延在する交差壁部の所定部位と連結され、他端部が前記外周壁部を構成する壁部のうち前記交差壁部と対向配置される対向壁部の所定部位、又は、前記外周壁部の内側において前記対象壁部に対して交差する方向に延在する内側リブの所定部位と連結され、
前記上部桟の他端部側の連結部位は、前記上部桟の延在方向における中間の所定部位よりも上下方向に長く、
前記下部桟の他端部側の連結部位は、前記下部桟の延在方向における中間の所定部位よりも上下方向に長いことを特徴とするパレット。
続きを表示(約 590 文字)
【請求項2】
前記上部桟の他端部側の連結部位は、下方に向かって傾斜し、
前記下部桟の他端部側の連結部位は、上方に向かって傾斜していることを特徴とする請求項1に記載のパレット。
【請求項3】
前記上部桟の一端部側の連結部位は、前記上部桟の延在方向における中間の所定部位よりも上下方向に長く、
前記下部桟の一端部側の連結部位は、前記下部桟の延在方向における中間の所定部位よりも上下方向に長いことを特徴とする請求項1又は2に記載のパレット。
【請求項4】
前記上部桟の他端部、及び、前記下部桟の他端部は、前記外周壁部の内側において前記対象壁部に対して交差する方向に延在する内側リブの所定部位と連結され、
前記上部桟、及び、前記下部桟は、断面L字状をなしており、
前記内側リブは、断面T字状をなしていることを特徴とする請求項1乃至3のいずれかに記載のパレット。
【請求項5】
前記対象壁部の延在方向における中間の所定部位と、前記上部桟の延在方向における中間部位とを連結する水平接続リブを備えることを特徴とする請求項1乃至4のいずれかに記載のパレット。
【請求項6】
前記水平接続リブは、前記上部桟に対して直交する角度と交差する方向に延在することを特徴とする請求項5に記載のパレット。
発明の詳細な説明
【技術分野】
【0001】
本発明は、物品の運搬等に使用されるパレットに関するものである。
続きを表示(約 1,700 文字)
【背景技術】
【0002】
一般に、物品の運搬等に使用されるパレットは、複数の柱部と、当該複数の柱部の上端部間、及び、下端部間を連結する上デッキ部、及び、下デッキ部とを備え、柱部間においてフォークリフト等のフォークを挿入可能なフォーク挿入部を有している(例えば、特許文献1等参照。)。
【先行技術文献】
【特許文献】
【0003】
特開2016-108036号公報
【発明の概要】
【発明が解決しようとする課題】
【0004】
ところで、パレットに関して、環境負荷や物流コストの低減等の観点から、パレットとしての強度を確保しつつ軽量化が求められている。例えば、上記特許文献1では、上デッキ部及び下デッキ部に複数の開口部を形成したり、柱部の外周壁部に開口部を形成したりしているが、更なる対策が求められている。
【0005】
本発明は、上記例示した問題点等を解決するためになされたものであって、その目的は、強度の低下を抑制しつつ軽量化を図ることのできるパレットを提供することにある。
【課題を解決するための手段】
【0006】
以下、上記目的等を解決するのに適した各手段につき項分けして説明する。なお、必要に応じて対応する手段に特有の作用効果等を付記する。
【0007】
手段1.複数の柱部と、前記複数の柱部の上端部間を連結する上デッキ部とを備え、前記複数の柱部の間にフォークを備える運搬手段のフォークを挿入可能とするフォーク挿入部が形成され、平面視矩形状をなすパレットにおいて、
前記柱部は、当該柱部の外周面を構成する外周壁部と、前記外周壁部の内側において前記外周壁部を構成する壁部のうち対象壁部の上辺部に対して水平方向に所定距離離間して平行に延在する上部桟と、前記外周壁部の内側において前記対象壁部の下辺部に対して水平方向に所定距離離間して平行に延在する下部桟とを備え、
前記上部桟、及び、前記下部桟は、一端部が前記外周壁部を構成する壁部のうち前記対象壁部に対して交差する方向に延在する交差壁部の所定部位と連結され、他端部が前記外周壁部を構成する壁部のうち前記交差壁部と対向配置される対向壁部の所定部位、又は、前記外周壁部の内側において前記対象壁部に対して交差する方向に延在する内側リブの所定部位と連結され、
前記上部桟の他端部側の連結部位は、前記上部桟の延在方向における中間の所定部位よりも上下方向に長く、
前記下部桟の他端部側の連結部位は、前記下部桟の延在方向における中間の所定部位よりも上下方向に長いことを特徴とするパレット。
【0008】
手段1によれば、上部桟、及び、下部桟を好適に協働させて柱部に作用する応力に対応することが可能となる。従って、パレットの上下方向における圧縮強度、及び、フォークが柱部(対象壁部)に衝突した場合等の衝撃強度の低下を抑止しつつ、パレットの軽量化を図ることができる。特に、外周壁部において開口部を設ける必要がなく、パレットが圧縮荷重を受けたり、柱部にフォークが衝突したりした場合に、柱部の外周壁部が変形及び損傷するといった事態をより確実に抑止することができる。さらに、パレットの外周面において、情報を表示する面を確保したり、フック等を引っ掛ける孔部を形成しつつ当該孔部周辺部の強度・剛性を確保したりすることができる。
【0009】
手段2.前記上部桟の他端部側の連結部位は、下方に向かって傾斜し、
前記下部桟の他端部側の連結部位は、上方に向かって傾斜していることを特徴とする手段1に記載のパレット。
【0010】
手段3.前記上部桟の一端部側の連結部位は、前記上部桟の延在方向における中間の所定部位よりも上下方向に長く、
前記下部桟の一端部側の連結部位は、前記下部桟の延在方向における中間の所定部位よりも上下方向に長いことを特徴とする手段1又は2に記載のパレット。
(【0011】以降は省略されています)
この特許をJ-PlatPat(特許庁公式サイト)で参照する
関連特許
三甲株式会社
容器
20日前
三甲株式会社
容器
1か月前
三甲株式会社
容器
1か月前
三甲株式会社
容器
1か月前
三甲株式会社
蓋付き容器
18日前
三甲株式会社
物品支持部材
9日前
三甲株式会社
仕切り付き容器
2か月前
三甲株式会社
パレット
1か月前
三甲株式会社
買い物カゴ
24日前
個人
ゴミ箱
12か月前
個人
収容箱
3か月前
個人
コンベア
4か月前
個人
段ボール箱
6か月前
個人
容器
9か月前
個人
ゴミ収集器
6か月前
個人
段ボール箱
6か月前
個人
パウチ補助具
12か月前
個人
宅配システム
6か月前
個人
楽ちんハンド
4か月前
個人
角筒状構造体
5か月前
個人
バンド
1か月前
個人
土嚢運搬器具
8か月前
個人
閉塞装置
9か月前
個人
包装容器
1か月前
個人
廃棄物収容容器
2か月前
個人
コード類収納具
8か月前
個人
お薬の締結装置
5か月前
個人
積み重ね用補助具
2か月前
個人
ゴミ処理機
8か月前
株式会社和気
包装用箱
8か月前
個人
蓋閉止構造
3か月前
株式会社バンダイ
物品
11日前
個人
把手付米袋
4か月前
株式会社コロナ
梱包材
5か月前
個人
蓋閉止構造
3か月前
個人
貯蔵サイロ
6か月前
続きを見る
他の特許を見る