TOP
|
特許
|
意匠
|
商標
特許ウォッチ
Twitter
他の特許を見る
公開番号
2025127394
公報種別
公開特許公報(A)
公開日
2025-09-01
出願番号
2024024134
出願日
2024-02-20
発明の名称
ガス成分検知装置及びガス成分計測システム
出願人
国立大学法人 東京大学
代理人
弁理士法人フィールズ国際特許事務所
主分類
G01N
27/12 20060101AFI20250825BHJP(測定;試験)
要約
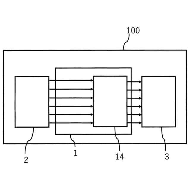
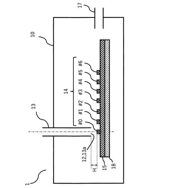
【課題】気流中に含まれるガス成分の濃度をより高精度に計測可能なガス成分検査装置を提供する。
【解決手段】気体に含まれる所定のガス成分を検知するガス成分検知装置は、容器内に気体を導入する気体導入口と、容器内に配置され、気体導入口から放出される気体に曝露される複数のガス検知素子とを備え、複数のガス検知素子は、互いに気体導入口からの距離を異ならせた位置に間隔をあけて配置される。複数のガス検知素子からの出力信号に基づいて、気体中のガス成分の濃度を演算処理により求める。
【選択図】図1
特許請求の範囲
【請求項1】
気体に含まれる所定のガス成分を検知するガス成分検知装置であって、
容器内に前記気体を導入する気体導入口と、
前記容器内に配置され、前記気体導入口から放出される前記気体に曝露される複数のガス検知素子とを備え、
前記複数のガス検知素子は、互いに前記気体導入口からの距離を異ならせた位置に間隔をあけて配置されることを特徴とするガス成分検知装置。
続きを表示(約 1,100 文字)
【請求項2】
前記複数のガス検知素子は、第1のガス検知素子と第2のガス検知素子を含み、前記第1のガス検知素子は、前記第2のガス検知素子よりも前記気体導入口に近い位置に配置され、前記第1のガス検知素子は、前記第2のガス検知素子よりも早く、前記気体導入口から放出される前記気体に曝露されることを特徴とする請求項1に記載のガス成分検知装置。
【請求項3】
前記第1のガス検知素子は、前記気体導入口の中心軸上の位置で前記気体導入口に対向して配置され、前記第2のガス検知素子は、前記気体導入口の中心軸から外れた位置で前記気体導入口に対向して配置されることを特徴とする請求項2に記載のガス成分検知装置。
【請求項4】
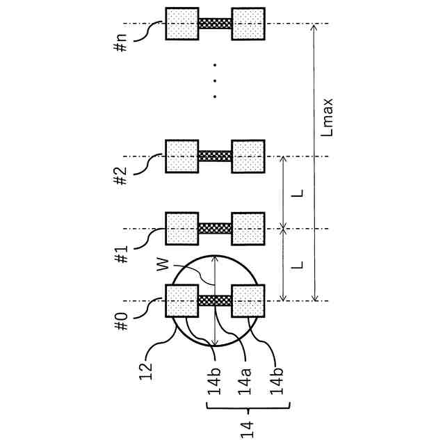
前記第1のガス検知素子は、前記複数のガス検知素子のうち前記気体導入口に最も近い位置に配置されるガス検知素子であって、前記第1のガス検知素子から前記気体導入口までの距離は、前記気体導入口の口径の5倍以下であることを特徴とする請求項2に記載のガス成分検知装置。
【請求項5】
前記第1のガス検知素子は、前記複数のガス検知素子のうち前記気体導入口に最も近い位置に配置されるガス検知素子であり、前記第2のガス検知素子は、前記複数のガス検知素子のうち前記気体導入口に最も遠い位置に配置されるガス検知素子であり、前記第1のガス検知素子と前記第2のガス検知素子との距離が以下の式の値、
2.22×(Uin×Δt×W)
0.5
ここで、Wは前記気体導入口の口径、Uinは気体導入口に導入されるガスの流速、Δtは測定装置の計測時間の間隔、
以下であることを特徴とする請求項2に記載のガス成分検知装置。
【請求項6】
前記複数のガス検知素子は、一列に並んで配置されることを特徴とする請求項1に記載のガス成分検知装置。
【請求項7】
前記複数のガス検知素子それぞれは、所定のガス成分と反応する素子本体と当該素子本体の両端に形成される電極とを有して構成されることを特徴とする請求項1に記載のガス成分検知装置。
【請求項8】
前記素子本体の大きさは、前記気体導入口の口径より小さいことを特徴とする請求項7に記載のガス成分検知装置。
【請求項9】
前記素子本体は、薄膜状に生成された薄膜体であることを特徴とする請求項7に記載のガス成分検知装置。
【請求項10】
前記複数のガス検知素子は、それぞれの当該電極間を結ぶ方向と直交する方向に列を形成して配置されることを特徴とする請求項7に記載のガス成分検知装置。
(【請求項11】以降は省略されています)
発明の詳細な説明
【技術分野】
【0001】
本発明は、気体に含まれる所定ガス成分の濃度を計測するためのガス成分検知装置及びガス成分計測システムに関する。
続きを表示(約 1,500 文字)
【背景技術】
【0002】
本技術分野であるガス成分検査装置及びガス成分計測システムにおいて、最も普及しているものの一つは、呼気中のアルコール濃度を計測するためのアルコール計測器である。従来のアルコール計測器の構造では、アルコールを検出するセンサ部が呼気を導入する配管の先に取り付けられており、配管のもう一方の先である呼気導入口に被験者が呼気を吹きかける構造となっている。
【0003】
特許文献1に示される呼気アルコール計測器は、呼気を吹き込むマウスピース、及びそのマウスピースに吹き込まれる気体の量を計測する流量センサや、アルコール濃度を計測するアルコールセンサに気体を取り込むための吸引ポンプを有する装置であり、マウスピースに吹き込まれた呼気の一部が吸引ポンプによって吸引されガスセンサに導かれる。
【0004】
特許文献2は、呼気成分検査装置において、被験者が一定流量の呼気を吹きかけられるように、圧力センサの検知結果に応じてスピーカー音を調整して被験者に知らせる方法が示されている。
【0005】
また、特許文献3は、正確なガス濃度を計測するために、呼気の量を計測する流量センサを排気管内部に取り付けた呼気計測システムの構成について開示する。
【先行技術文献】
【特許文献】
【0006】
特開2012-159482号公報
特開2021-110642号公報
特開2022-26622号公報
【発明の概要】
【発明が解決しようとする課題】
【0007】
上記各特許文献に開示される構成のように、従来技術においては、呼気の流量の変動によるガスセンサ応答への影響を避けるために、正確なガス成分の計測には、ガスを検知するガスセンサに一定流量のガスを供給することが求められる。すなわち、一定流量以上のもとでセンサ応答はガス濃度に応じた値に飽和する傾向にあるため、ある程度高い流量の呼気を吹きかける必要があり、自然呼吸中に排出される呼気のような微弱な気流、流量が変動する気流中に含まれるガス成分を正確に計測することは困難である。
【0008】
また、一定流量のガス供給を確認するために、呼気計測器などのガス成分検査装置は、圧力センサや流量センサなどのガス検知用のガスセンサ以外のセンサや吸引ポンプなどの付加的なデバイスを搭載することとなり、このため、ガス成分検査装置の小型化には限界があり、ガス成分検査装置のサイズを手のひらサイズ程度以下にすることが難しく、ガス成分検査装置を、例えばスマートフォンやスマートウォッチなどの携帯可能な小型の情報端末に搭載することはできなかった。
【0009】
このように、呼気中のガス成分の計測では、被験者の呼気の強さ(流量)が計測に大きな影響を与える。また、圧力センサや流量センサと組み合わせることで、呼気の強さの影響を排除する方法では、ガス成分検査装置のサイズが大きくなるという課題がある。
【0010】
そこで、本発明は、上記事情を考慮してなされたものであり、その目的とするところは、微弱で流量が変動する呼気やそよ風のような微弱な気流であっても、その気流中に含まれるガス成分の濃度をより高精度に計測可能なガス成分検査装置及びそれを備えたガス成分計測システムを提供することにある。また、本発明の別の目的は、スマートウォッチなどの小型情報端末に組み込める程度により小型化が可能なガス成分検査装置及びそれを備えたガス成分計測システムを提供することにある。
【課題を解決するための手段】
(【0011】以降は省略されています)
特許ウォッチbot のツイートを見る
この特許をJ-PlatPat(特許庁公式サイト)で参照する
関連特許
国立大学法人 東京大学
担持金属触媒
19日前
国立大学法人 東京大学
ガス処理方法
5日前
国立大学法人 東京大学
せん妄判定方法
1か月前
国立大学法人 東京大学
コンパレータ回路
9日前
国立大学法人 東京大学
ビーム追従システム
今日
国立大学法人 東京大学
超音波モータシステム
1か月前
国立大学法人 東京大学
超音波モータシステム
1か月前
国立大学法人 東京大学
超音波モータシステム
1か月前
国立大学法人 東京大学
光学装置及びレーザー
3か月前
国立大学法人 東京大学
結晶、及びその製造方法
2か月前
国立大学法人 東京大学
推定装置、及びプログラム
20日前
国立大学法人 東京大学
テラヘルツ帯同期検波回路
1か月前
国立大学法人 東京大学
テラヘルツ波帯位相変調回路
1か月前
国立大学法人 東京大学
接着性細胞の浮遊培養用基材
5日前
国立大学法人 東京大学
読出回路及び磁気メモリ装置
19日前
国立大学法人 東京大学
嗅覚受容体の応答感度増強剤
2か月前
NTT株式会社
圧力センサ
20日前
国立大学法人 東京大学
情報処理装置、及びプログラム
1か月前
国立大学法人 東京大学
ドローンを用いた配送システム
5日前
国立大学法人 東京大学
光デバイス及びコヒーレント受信器
1か月前
積水化学工業株式会社
酸素発生剤
1か月前
古河電気工業株式会社
超電導モータ
1か月前
国立大学法人 東京大学
ホウ素含有化合物及びそれを含む医薬
1か月前
国立大学法人 東京大学
皮膚微生物叢を制御するための溶菌剤
3か月前
国立大学法人 東京大学
静電容量式センサ及びロボットシステム
1か月前
国立大学法人 東京大学
手指アシスト装置および関節動作支援方法
1か月前
太平洋セメント株式会社
セメント組成物
19日前
国立大学法人 東京大学
ガス成分検知装置及びガス成分計測システム
1か月前
三菱ケミカル株式会社
化合物及びその製造方法
1か月前
サイントル株式会社
電気接続部品及び電子装置
2か月前
国立大学法人 東京大学
プログラム、情報処理方法及び情報処理システム
27日前
国立大学法人 東京大学
情報処理システム、情報処理方法及びプログラム
19日前
国立大学法人 東京大学
情報処理システム、情報処理方法及びプログラム
2か月前
国立大学法人 東京大学
情報処理デバイス、情報処理方法及びプログラム
28日前
国立大学法人 東京大学
イオントラップ装置及びイオントラップシステム
1日前
NTT株式会社
通信システム、方法及びプログラム
5日前
続きを見る
他の特許を見る