TOP
|
特許
|
意匠
|
商標
特許ウォッチ
Twitter
他の特許を見る
公開番号
2025125691
公報種別
公開特許公報(A)
公開日
2025-08-28
出願番号
2024021788
出願日
2024-02-16
発明の名称
螺子締付機
出願人
ジヤトコ株式会社
代理人
弁理士法人後藤特許事務所
主分類
B23P
19/06 20060101AFI20250821BHJP(工作機械;他に分類されない金属加工)
要約
【課題】直行率の向上を可能とすることを目的とする。
【解決手段】螺子締付機10は、供給された螺子12を案内するガイド孔20を有する本体22と、本体22に支持され、ガイド孔20から螺子12が供給されるとともに、本体22との支持点(66、106)を中心として先端部が開閉するチャック24と、を備える。螺子締付機10は、チャック24の先端部が閉じる閉方向に付勢力を付与する付勢部材(72、112)を備える。螺子締付機10は、ガイド孔20内の螺子12をチャック24内へ押送し、当該螺子12の頭部14がチャック24の先端部で保持された状態を形成可能な締付ロッド26を備える。チャック24の先端部は、当該チャック24が頭部14を保持する開き角になった状態で螺子12の頭部14の外面14Bと平行になる保持面(90、130)を有する。
【選択図】図1
特許請求の範囲
【請求項1】
螺子締付機であって、
供給された螺子を案内するガイド孔を有する本体と、
前記本体に支持され、前記ガイド孔から前記螺子が供給されるとともに、前記本体との支持点を中心として先端部が開閉するチャックと、
前記チャックの前記先端部が閉じる閉方向に付勢力を付与する付勢部材と、
前記ガイド孔内の前記螺子を前記チャック内へ押送し、当該螺子の頭部が前記チャックの前記先端部で保持された状態を形成可能な締付ロッドと、
を備え、
前記チャックの前記先端部は、当該チャックが前記頭部を保持する開き角になった状態で前記螺子の前記頭部の外面と平行になる保持面を有する、
螺子締付機。
続きを表示(約 200 文字)
【請求項2】
請求項1に記載の螺子締付機であって、
前記チャックの前記先端部は、前記螺子の前記頭部を保持した状態で、前記頭部の外面と当該螺子の軸方向に沿って線接触する、
螺子締付機。
【請求項3】
請求項1又は請求項2に記載の螺子締付機であって、
前記螺子は、前記頭部と係合する前記締付ロッドによって締め付けられるボルトである、
螺子締付機。
発明の詳細な説明
【技術分野】
【0001】
本発明は、螺子締付機に関する。
続きを表示(約 1,100 文字)
【背景技術】
【0002】
特許文献1には、ねじ締め機が開示されている。ねじ締め機は、締め付けるねじ(螺子)の頭部を挟持するチャックを備える。
【先行技術文献】
【特許文献】
【0003】
実開平2-97531号公報
【発明の概要】
【発明が解決しようとする課題】
【0004】
特許文献1のねじ締め機は、チャックを開いてねじの頭部を挟持する際にチャックの挟持面がねじの頭部の外面に対して傾斜している。このため、ねじの頭部は、チャックに点接触した状態で挟持されるので、チャックに挟持されたねじは、倒れが生じやすい。
【0005】
ねじに倒れが生ずると、締付ミスが発生し、直行率の低下を招いてしまう。
【0006】
本発明は、上記の問題点に鑑みてなされたものであり、直行率の向上を可能とすることを目的とする。
【課題を解決するための手段】
【0007】
本発明のある態様によれば、供給された螺子を案内するガイド孔を有する本体と、前記本体に支持され、前記ガイド孔から前記螺子が供給されるとともに、前記本体との支持点を中心として先端部が開閉するチャックと、前記チャックの前記先端部が閉じる閉方向に付勢力を付与する付勢部材と、前記ガイド孔内の前記螺子を前記チャック内へ押送し、当該螺子の頭部が前記チャックの前記先端部で保持された状態を形成可能な締付ロッドと、を備え、前記チャックの前記先端部は、当該チャックが前記頭部を保持する開き角になった状態で前記螺子の前記頭部の外面と平行になる保持面を有する、螺子締付機が提供される。
【発明の効果】
【0008】
本発明のある態様によれば、チャックの保持面は、螺子の頭部を保持する開き角になった状態で螺子の頭部の外面と平行になるので、螺子を保持するチャックの保持面は、螺子の頭部の外面に面接触又は線接触する。
【0009】
このため、螺子の頭部の外面に対して傾斜した保持面が頭部に点接触する場合と比較して、保持される螺子の倒れが抑制される。これにより、螺子締付機は、螺子の倒れに起因した締付ミスが抑制されるので、直行率の向上が可能となる。
【図面の簡単な説明】
【0010】
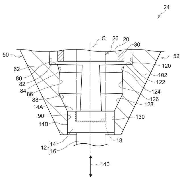
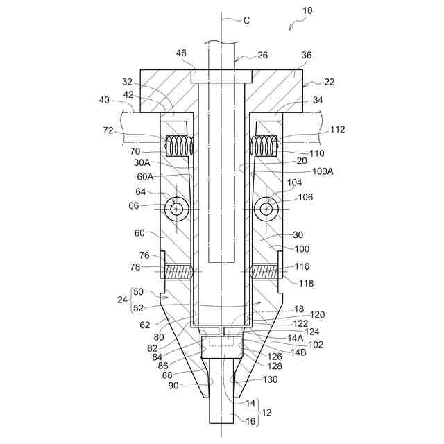
図1は、本実施形態に係る螺子締付機を示す断面図である。
図2は、チャックに螺子が供給された状態を示すチャックの先端部の断面図である。
図3は、チャックの保持面で螺子の頭部を保持した状態を示すチャックの先端部の断面図である。
【発明を実施するための形態】
(【0011】以降は省略されています)
この特許をJ-PlatPat(特許庁公式サイト)で参照する
関連特許
ジヤトコ株式会社
治具
5日前
ジヤトコ株式会社
敷設装置
1か月前
ジヤトコ株式会社
螺子締付機
19日前
ジヤトコ株式会社
螺子締付機
1か月前
ジヤトコ株式会社
クランプ治具
12日前
個人
タップ
5か月前
個人
フライス盤
28日前
個人
加工機
4か月前
麗豊実業股フン有限公司
ラクトバチルス・パラカセイNB23菌株及びそれを筋肉量の増加や抗メタボリック症候群に用いる用途
4か月前
日東精工株式会社
ねじ締め機
6か月前
株式会社不二越
ドリル
4か月前
株式会社不二越
ドリル
5か月前
日東精工株式会社
ねじ締め機
4か月前
日東精工株式会社
ねじ締め機
1か月前
株式会社北川鉄工所
回転装置
3か月前
日東精工株式会社
ねじ締め機
28日前
日東精工株式会社
ねじ締め装置
3か月前
日東精工株式会社
ねじ締め装置
19日前
株式会社ダイヘン
溶接電源装置
2か月前
株式会社ダイヘン
溶接電源装置
2か月前
日東精工株式会社
ねじ締め装置
6か月前
株式会社ダイヘン
溶接電源装置
2か月前
株式会社FUJI
工作機械
3か月前
個人
切削油供給装置
1か月前
有限会社 ナプラ
金属粒子
6か月前
日東精工株式会社
多軸ねじ締め機
6か月前
株式会社FUJI
工作機械
5日前
株式会社FUJI
工作機械
6か月前
株式会社FUJI
工作機械
3か月前
キヤノン電子株式会社
加工システム
1か月前
株式会社アンド
半田付け方法
4か月前
株式会社ダイヘン
多層盛り溶接方法
5か月前
株式会社アンド
半田付け方法
4か月前
個人
型枠製造装置のフレーム
9日前
エフ・ピー・ツール株式会社
リーマ
5か月前
株式会社アンド
半田付け方法
1か月前
続きを見る
他の特許を見る