TOP
|
特許
|
意匠
|
商標
特許ウォッチ
Twitter
他の特許を見る
公開番号
2025130190
公報種別
公開特許公報(A)
公開日
2025-09-08
出願番号
2024027196
出願日
2024-02-27
発明の名称
エレベータの制御システム
出願人
フジテック株式会社
代理人
弁理士法人 楓国際特許事務所
主分類
B66B
1/18 20060101AFI20250901BHJP(巻上装置;揚重装置;牽引装置)
要約
【課題】運行を中断なく継続できるという意味でのロバスト性が高いバンクの構築を実現する。
【解決手段】バンク内の複数のグループに1つずつ対応付けて設置された複数の群管理制御装置が、相互の通信が可能となるように接続される。各群管理制御装置おいて、配信処理部は、自身の群管理制御装置が正常に動作している場合に、そのことを示す第1アライブ状態信号を他の群管理制御装置へ配信する。判定処理部は、他の群管理制御装置ごとに、その群管理制御装置が正常に動作しているか否かを、当該群管理制御装置からの第1アライブ状態信号の配信状態に基づいて判定する。第1抽出処理部は、乗場呼びの割当依頼を利用者から受けた場合に、自身のグループと、他のグループのうちの判定処理部によって群管理制御装置が正常に動作していると判定されたグループとを対象として、それらのグループに属する乗りかごの中から割当候補を抽出する。
【選択図】図1
特許請求の範囲
【請求項1】
バンクを備えたエレベータに適用可能な制御システムであり、
前記バンクに属する複数の乗りかごが複数のグループに分けられ、それらのグループに1つずつ対応付けて設置され、且つ、相互の通信が可能となるように接続された複数の群管理制御装置、
を備え、
各群管理制御装置は、
その群管理制御装置が正常に動作している場合に、そのことを示す第1アライブ状態信号を他の群管理制御装置へ配信する配信処理部と、
他の群管理制御装置ごとに、その群管理制御装置が正常に動作しているか否かを、当該群管理制御装置からの前記第1アライブ状態信号の配信状態に基づいて判定する判定処理部と、
乗場呼びの割当依頼を利用者から受けた場合に、自身のグループと、他のグループのうちの前記判定処理部によって群管理制御装置が正常に動作していると判定されたグループとを対象として、それらのグループに属する乗りかごの中から割当候補を抽出する第1抽出処理部と、
を備える、エレベータの制御システム。
続きを表示(約 2,100 文字)
【請求項2】
各群管理制御装置において、
前記配信処理部は、更に、自身のグループに属する乗りかごごとに、その乗りかごが正常に動作している場合には、そのことを示す第2アライブ状態信号を他の群管理制御装置へ配信し、
前記判定処理部は、更に、他のグループに属する乗りかごごとに、その乗りかごが正常に動作しているか否かを、当該他のグループからの前記第2アライブ状態信号の配信状態に基づいて判定し、
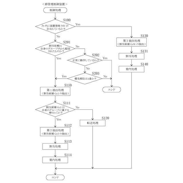
前記第1抽出処理部は、乗場呼びの割当依頼を利用者から受けた場合に、自身のグループにて正常に動作している乗りかごと、他のグループに属する乗りかごのうちの前記判定処理部によって正常に動作していると判定された乗りかごとを対象として、それらの乗りかごの中から割当候補を抽出する、請求項1に記載のエレベータの制御システム。
【請求項3】
各群管理制御装置において、
前記配信処理部は、更に、自身のグループ内の運行データを他の群管理制御装置へ配信し、
前記第1抽出処理部は、前記割当候補の抽出を、自身のグループ内の運行データと、他の群管理制御装置のうちの前記判定処理部によって正常に動作していると判定された群管理制御装置が配信する他のグループ内の運行データとを用いて行う、請求項2に記載のエレベータの制御システムであり、
各群管理制御装置は、
前記第1抽出処理部が抽出した前記割当候補が他のグループに属する乗りかごであった場合に、その割当候補が属するグループの群管理制御装置へ前記割当依頼を転送する転送処理部と、
前記第1抽出処理部が抽出した前記割当候補が自身のグループに属する乗りかごであった場合、又は、他の群管理制御装置から割当依頼が転送されてきた場合に、自身のグループにて正常に動作している乗りかごの中から割当候補を抽出する第2抽出処理部と、
前記第2抽出処理部が抽出した前記割当候補に対して前記乗場呼びの割当てを実行する割当処理部と、
を更に備える、エレベータの制御システム。
【請求項4】
各群管理制御装置において、
前記第2抽出処理部は、自身のグループ内の運行データを学習データとして蓄積し、その学習データを用いて、当該グループ内で割当候補を最適化するための学習を行い、学習済みの状態で前記割当候補を抽出し、
前記第1抽出処理部は、前記バンク内全体で割当候補を最適化するための学習を行うことはせず、予め決められた設定値を用いて前記割当候補を抽出する、請求項3に記載のエレベータの制御システム。
【請求項5】
前記バンクに属する複数の行先階登録装置、
を更に備え、
前記複数の行先階登録装置は、それぞれが前記複数のグループの何れかへ振り分けられると共に、自身が振り分けられたグループの群管理制御装置に接続され、
各群管理制御装置は、
自身に接続されている行先階登録装置にて利用者が行先階を登録することにより、その行先階登録装置から前記割当依頼を受けた場合に、前記第1抽出処理部での前記割当候補の抽出を実行し、
他の群管理制御装置から前記割当依頼が転送されてきて前記第2抽出処理部での前記割当候補の抽出を実行した場合には、前記割当処理部での前記割当ての実行後、その割当ての情報を、当該割当依頼を転送してきた群管理制御装置へ返信し、
他の群管理制御装置への転送を前記転送処理部で実行した後、その群管理制御装置から前記割当ての情報が返信されてきた場合には、その割当ての情報を、前記割当依頼をしてきた前記行先階登録装置を通じて利用者に案内する、請求項3又は4に記載のエレベータの制御システム。
【請求項6】
前記バンクに属する複数の行先階登録装置、
を更に備え、
前記複数の行先階登録装置は、それぞれが前記複数のグループの何れかへ振り分けられる一方で、各行先階登録装置は、自身のグループの群管理制御装置だけでなく、それを介さずに他の群管理制御装置とも通信を行うことが可能であり、利用者による行先階の登録が行われた場合には、前記複数の群管理制御装置全てへ前記割当依頼を配信し、
各群管理制御装置は、
前記割当依頼を受けた場合において、その割当依頼が、自身に対応付けられている行先階登録装置から配信されたものであった場合に、前記第1抽出処理部での前記割当候補の抽出を実行し、
前記割当依頼を受けた場合において、その割当依頼が、自身に対応付けられている行先階登録装置以外の行先階登録装置から配信されたものであったとしても、それが、前記判定処理部によって群管理制御装置が正常に動作していないと判定されたグループに属する行先階登録装置から配信されたものであった場合には、そのグループの群管理制御装置に代わって、前記第1抽出処理部での前記割当候補の抽出を実行する、請求項1~4の何れかに記載のエレベータの制御システム。
発明の詳細な説明
【技術分野】
【0001】
本発明は、バンクを備えたエレベータの制御技術に関する。
続きを表示(約 2,400 文字)
【背景技術】
【0002】
バンクを備えたエレベータにおいては、バンクごとに群管理制御装置が1つ設置され、各群管理制御装置が、自身のバンクに属する全ての乗りかごに対して群管理を行うことが一般的である(例えば、特許文献1参照)。また、そのようなエレベータの制御技術として、バンクごとに、そのバンクの群管理制御装置が故障したときでも当該バンクの運行を継続できるように、バックアップ用の群管理制御装置への切替えを可能にしたものが知られている。
【先行技術文献】
【特許文献】
【0003】
特許第6585207号公報
【発明の概要】
【発明が解決しようとする課題】
【0004】
しかし、バンクごとに、その運行を中断なく継続させるという意味でのロバスト性を向上させるという観点からは、従来の技術では、バックアップ用の群管理制御装置への切替え時に生じ得る問題(切替スイッチの故障など)や、切替え後に生じ得る問題(バックアップ用の群管理制御装置の動作の異常など)への対応が不十分である。
【0005】
そこで本発明の目的は、運行を中断なく継続できるという意味でのロバスト性が高いバンクの構築を実現することである。
【課題を解決するための手段】
【0006】
本発明に係る制御システムは、バンクを備えたエレベータに適用可能な制御システムであり、バンクに属する複数の乗りかごが複数のグループに分けられ、それらのグループに1つずつ対応付けて設置された複数の群管理制御装置を備え、更に次のような構成を備える(態様1)。当該複数の群管理制御装置は、相互の通信が可能となるように接続される。そして、各群管理制御装置は、配信処理部と、判定処理部と、第1抽出処理部と、を備える。配信処理部は、自身の群管理制御装置が正常に動作している場合に、そのことを示す第1アライブ状態信号を他の群管理制御装置へ配信する。判定処理部は、他の群管理制御装置ごとに、その群管理制御装置が正常に動作しているか否かを、当該群管理制御装置からの第1アライブ状態信号の配信状態に基づいて判定する。第1抽出処理部は、乗場呼びの割当依頼を利用者から受けた場合に、自身のグループと、他のグループのうちの判定処理部によって群管理制御装置が正常に動作していると判定されたグループとを対象として、それらのグループに属する乗りかごの中から割当候補を抽出する。
【0007】
上記態様1によれば、各群管理制御装置は、他の群管理制御装置が正常に動作しているか否かを把握しつつ、群管理制御装置が正常に動作しているグループだけを対象として第1抽出処理での割当候補の抽出を行うことが可能になる。従って、1つのバンクにおいて一部のグループで群管理制御装置が正常に動作できなくなった場合であっても、他のグループの群管理制御装置により、利用できないグループを除いてバンクの運行を中断なく継続させることが可能になる。よって、ロバスト性の高い1つのバンクを構築することが可能になる。
【0008】
上記態様1に係る制御システムにおいて、各群管理制御装置は、次のような構成を備えていてもよい(態様2)。配信処理部は、更に、自身のグループに属する乗りかごごとに、その乗りかごが正常に動作している場合には、そのことを示す第2アライブ状態信号を他の群管理制御装置へ配信してもよい。判定処理部は、更に、他のグループに属する乗りかごごとに、その乗りかごが正常に動作しているか否かを、当該他のグループからの第2アライブ状態信号の配信状態に基づいて判定してもよい。そして、第1抽出処理部は、乗場呼びの割当依頼を利用者から受けた場合に、自身のグループにて正常に動作している乗りかごと、他のグループに属する乗りかごのうちの判定処理部によって正常に動作していると判定された乗りかごとを対象として、それらの乗りかごの中から割当候補を抽出してもよい。
【0009】
上記態様2によれば、各群管理制御装置は、第1アライブ状態信号の配信状態に基づいて、他の群管理制御装置が正常に動作しているか否かを把握しつつ、更には、第2アライブ状態信号の配信状態に基づいて、群管理制御装置が正常に動作しているグループにおいて各乗りかごが正常に動作しているかどうかも把握することができる。従って、各群管理制御装置は、1つのバンク内において正常に動作している乗りかごだけを対象として第1抽出処理部での割当候補の抽出を行うことが可能になる。
【0010】
上記態様1又は2に係る制御システムにおいて、各群管理制御装置は、次のような構成を備えていてもよい(態様3)。配信処理部は、更に、自身のグループ内の運行データを他の群管理制御装置へ配信してもよい。そして、第1抽出処理部は、割当候補の抽出を、自身のグループ内の運行データと、他の群管理制御装置のうちの判定処理部によって正常に動作していると判定された群管理制御装置が配信する他のグループ内の運行データとを用いて行ってもよい。このような構成において、各群管理制御装置は、転送処理部と、第2抽出処理部と、割当処理部と、を更に備えていてもよい。ここで、転送処理部は、第1抽出処理部が抽出した割当候補が他のグループに属する乗りかごであった場合に、その割当候補が属するグループの群管理制御装置へ割当依頼を転送する。第2抽出処理部は、第1抽出処理部が抽出した割当候補が自身のグループに属する乗りかごであった場合、又は、他の群管理制御装置から割当依頼が転送されてきた場合に、自身のグループにて正常に動作している乗りかごの中から割当候補を抽出する。割当処理部は、第2抽出処理部が抽出した割当候補に対して乗場呼びの割当てを実行する。
(【0011】以降は省略されています)
この特許をJ-PlatPat(特許庁公式サイト)で参照する
関連特許
フジテック株式会社
エレベータ
2日前
フジテック株式会社
エレベータ
12日前
フジテック株式会社
エレベータ
12日前
フジテック株式会社
マンコンベヤ
6日前
フジテック株式会社
マンコンベヤ
2日前
フジテック株式会社
マンコンベヤ
2日前
フジテック株式会社
エレベータシステム
2日前
フジテック株式会社
エレベータの乗場構造
14日前
フジテック株式会社
情報処理システム、制御方法
2日前
フジテック株式会社
エレベータのかご及びエレベータ
6日前
フジテック株式会社
エレベータ制御システムおよび制御方法
14日前
フジテック株式会社
マンコンベヤ及びマンコンベヤの製造方法
6日前
フジテック株式会社
エレベータのかごドア開閉装置及びエレベータ
5日前
フジテック株式会社
ロボット管理装置、ロボット、及びプログラム
5日前
フジテック株式会社
ロボット管理装置、ロボット、及びプログラム
5日前
フジテック株式会社
ロボット管理装置、ロボット、及びプログラム
5日前
フジテック株式会社
マンコンベヤ手摺ベルト用回転体及びマンコンベヤ
12日前
フジテック株式会社
マンコンベヤ
2日前
個人
自走手摺
2か月前
ユニパルス株式会社
吊具
3か月前
個人
海上コンテナ昇降装置
9か月前
ユニパルス株式会社
吊具装置
10か月前
ユニパルス株式会社
荷役装置
8か月前
ユニパルス株式会社
リフト装置
4か月前
株式会社豊田自動織機
荷役車両
8か月前
株式会社豊田自動織機
産業車両
20日前
株式会社豊田自動織機
産業車両
10か月前
水戸工業株式会社
吊り具
5か月前
株式会社いうら
車椅子用昇降機
2か月前
株式会社豊田自動織機
荷役車両
9か月前
ユニパルス株式会社
荷役助力装置
3か月前
愛知製鋼株式会社
受け架台
1か月前
大栄産業株式会社
クランプ
4か月前
個人
垂直自動搬送機
21日前
ユニパルス株式会社
荷役助力装置
5か月前
ユニパルス株式会社
荷役助力装置
2か月前
続きを見る
他の特許を見る