TOP
|
特許
|
意匠
|
商標
特許ウォッチ
Twitter
他の特許を見る
10個以上の画像は省略されています。
公開番号
2025131946
公報種別
公開特許公報(A)
公開日
2025-09-10
出願番号
2022120372
出願日
2022-07-28
発明の名称
圧力センサ
出願人
個人
,
個人
,
日本ゼオン株式会社
代理人
個人
主分類
G01L
1/14 20060101AFI20250903BHJP(測定;試験)
要約
【課題】 より多彩な圧力を検出することが可能な圧力センサを提供すること。
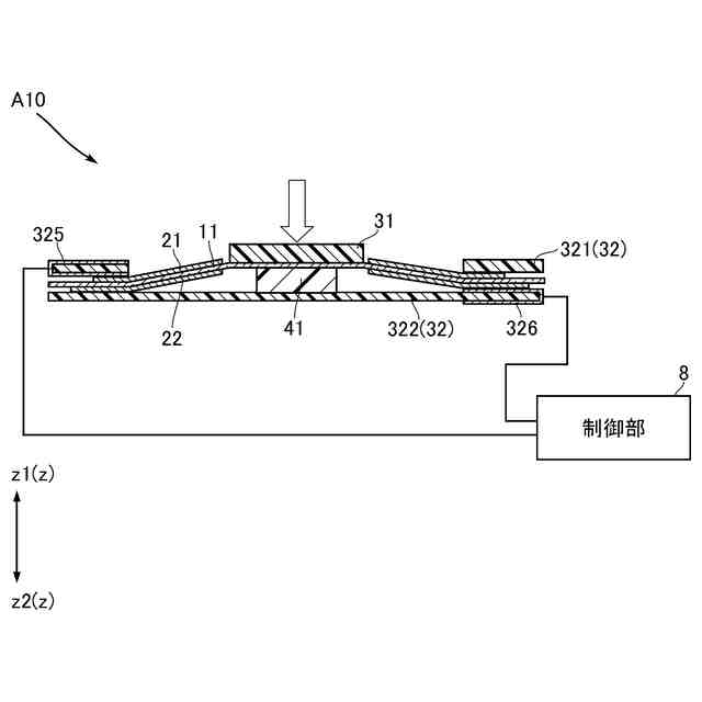
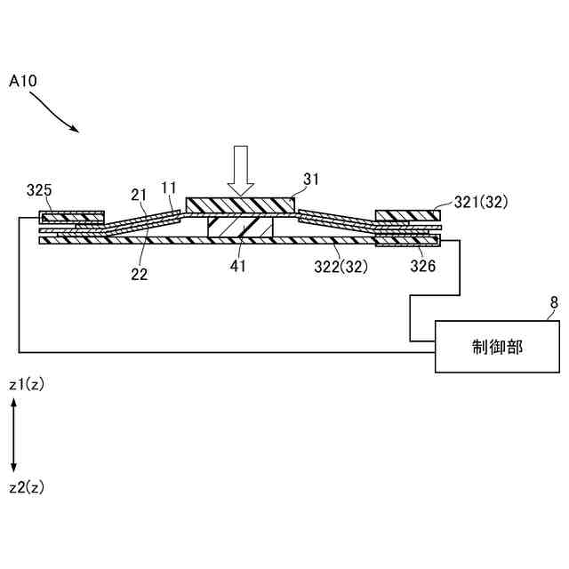
【解決手段】 圧力センサA10は、誘電エラストマ層11と、第1電極層21および第2電極層22と、第1支持体31および第2支持体32と、弾性部材41と、を備える。誘電エラストマ層11は、第1方向zに視て、第1支持体31の外縁から周囲に延出するように第1支持体31に固定されている。第2支持体32には、第1方向zに視て、誘電エラストマ層11の外端が固定されている。第1方向zにおいて、第1支持体31と第2支持体32との間に弾性部材41が介在している。
【選択図】 図2
特許請求の範囲
【請求項1】
誘電エラストマ層と、
前記誘電エラストマ層の一方の面に配置された第1電極層および他方の面に配置された第2電極層と、
第1支持体および第2支持体と、
弾性部材と、を備え、
前記誘電エラストマ層は、第1方向に視て、前記第1支持体の外縁から周囲に延出するように前記第1支持体に固定されており、
前記第2支持体には、前記第1方向に視て、前記誘電エラストマ層の外端が固定されており、
前記第1方向において、前記第1支持体と前記第2支持体との間に前記弾性部材が介在している、圧力センサ。
続きを表示(約 690 文字)
【請求項2】
前記弾性部材は、脱着可能である、請求項1に記載の圧力センサ。
【請求項3】
前記弾性部材は、中実の形状であり且つ樹脂からなる、請求項2に記載の圧力センサ。
【請求項4】
前記誘電エラストマ層は、前記第1支持体と前記弾性部材との間に介在する部分を有する、請求項2に記載の圧力センサ。
【請求項5】
前記第2電極層は、前記第1方向において前記第1電極層に対して前記第2支持体の側に配置されており、
前記第1方向に視て、前記第2電極層は、前記第1電極層の外縁から延出している、請求項2に記載の圧力センサ。
【請求項6】
誘電エラストマ体と、
第1方向において前記誘電エラストマ体を挟んで互いに反対側に配置された第1電極層および第2電極層と、を備え、
前記誘電エラストマ体の前記第1方向における寸法変化に起因する前記第1電極層および前記第2電極層間の静電容量変化により、前記第1方向における圧力変化を検出する、圧力センサ。
【請求項7】
前記誘電エラストマ体は、膜状である、請求項6に記載の圧力センサ。
【請求項8】
前記誘電エラストマ体は、平坦である、請求項7に記載の圧力センサ。
【請求項9】
前記誘電エラストマ体は、湾曲している、請求項7に記載の圧力センサ。
【請求項10】
前記誘電エラストマ体は、厚さが10μm~5mmである、請求項6に記載の圧力センサ。
(【請求項11】以降は省略されています)
発明の詳細な説明
【技術分野】
【0001】
本発明は、圧力センサに関する。
続きを表示(約 1,000 文字)
【背景技術】
【0002】
特許文献1には、従来のセンサの一例が開示されている。同文献に開示されたセンサは、誘電エラストマ層と一対の電極層とを備える。誘電エラストマ層の伸縮に伴い、一対の電極層の間の静電容量が変化する。この静電容量変化を処理することにより、誘電エラストマ層に加えられた力を検出することができる。
【先行技術文献】
【特許文献】
【0003】
特開2021-032586号公報
【発明の概要】
【発明が解決しようとする課題】
【0004】
センサが検出すべき力(圧力)は、様々な態様が存在する。センサの構造等によって、検出可能な力(圧力)が制限される。
【0005】
本発明は、上記した事情のもとで考え出されたものであって、より多彩な圧力を検出することが可能な圧力センサを提供することをその課題とする。
【課題を解決するための手段】
【0006】
本発明の第1の側面によって提供される圧力センサは、誘電エラストマ層と、前記誘電エラストマ層の一方の面に配置された第1電極層および他方の面に配置された第2電極層と、第1支持体および第2支持体と、弾性部材と、を備え、前記誘電エラストマ層は、第1方向に視て、前記第1支持体の外縁から周囲に延出するように前記第1支持体に固定されており、前記第2支持体には、前記第1方向に視て、前記誘電エラストマ層の外端が固定されており、前記第1方向において、前記第1支持体と前記第2支持体との間に前記弾性部材が介在している。
【0007】
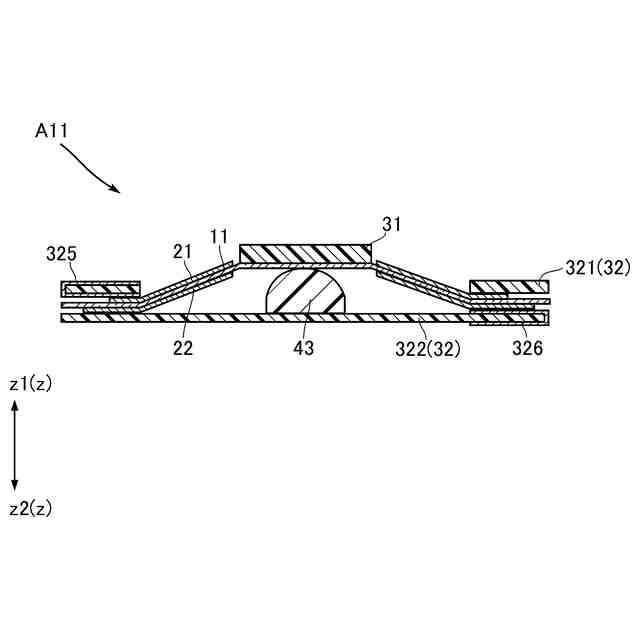
本発明の好ましい実施の形態においては、前記弾性部材は、脱着可能である。
【0008】
本発明の好ましい実施の形態においては、前記弾性部材は、中実の形状であり且つ樹脂からなる。
【0009】
本発明の好ましい実施の形態においては、前記誘電エラストマ層は、前記第1支持体と前記弾性部材との間に介在する部分を有する。
【0010】
本発明の好ましい実施の形態においては、前記第2電極層は、前記第1方向において前記第1電極層に対して前記第2支持体の側に配置されており、前記第1方向に視て、前記第2電極層は、前記第1電極層の外縁から延出している。
(【0011】以降は省略されています)
この特許をJ-PlatPat(特許庁公式サイト)で参照する
関連特許
個人
計量スプーン
24日前
個人
微小振動検出装置
1か月前
株式会社イシダ
X線検査装置
1か月前
日本精機株式会社
位置検出装置
2日前
日本精機株式会社
位置検出装置
2日前
日本精機株式会社
位置検出装置
2日前
大和製衡株式会社
組合せ秤
7日前
大和製衡株式会社
組合せ秤
7日前
アズビル株式会社
圧力センサ
1日前
株式会社ユーシン
操作検出装置
4日前
株式会社東芝
センサ
1か月前
株式会社東芝
センサ
7日前
株式会社東芝
センサ
7日前
ダイハツ工業株式会社
測定用具
28日前
エイブリック株式会社
磁気センサ回路
1日前
アンリツ株式会社
分光器
1か月前
トヨタ自動車株式会社
検査装置
4日前
アンリツ株式会社
分光器
1か月前
トヨタ自動車株式会社
表示装置
16日前
東レエンジニアリング株式会社
計量装置
4日前
TDK株式会社
ガスセンサ
1日前
TDK株式会社
磁気センサ
1か月前
株式会社精工技研
光電圧プローブ
1か月前
株式会社ナリス化粧品
角層細胞採取用具
14日前
TDK株式会社
磁気センサ
24日前
株式会社ヨコオ
コンタクタ
28日前
個人
粘塑性を用いた有限要素法の定式化
16日前
三菱マテリアル株式会社
温度センサ
14日前
大同特殊鋼株式会社
超音波探傷方法
24日前
成田空港給油施設株式会社
保持治具
15日前
富士電機株式会社
エンコーダ
1日前
日本碍子株式会社
ガスセンサ
25日前
国立大学法人京都大学
バイオセンサ
1か月前
富士電機株式会社
半導体パッケージ
24日前
株式会社関電工
検相器用治具
22日前
個人
材料特性パラメータの算定方法
24日前
続きを見る
他の特許を見る