TOP
|
特許
|
意匠
|
商標
特許ウォッチ
Twitter
他の特許を見る
10個以上の画像は省略されています。
公開番号
2025132305
公報種別
公開特許公報(A)
公開日
2025-09-10
出願番号
2024029752
出願日
2024-02-29
発明の名称
情報処理装置、情報処理システム及びプログラム
出願人
カシオ計算機株式会社
代理人
弁理士法人光陽国際特許事務所
主分類
G06Q
50/20 20120101AFI20250903BHJP(計算;計数)
要約
【課題】電子付箋機能の学校全体での利用状況をユーザが容易に把握できるようにする。
【解決手段】サーバー装置10の制御部11は、学習者により第二端末装置20Bを介して作成された電子付箋の作成履歴情報を取得する。制御部11は、学習指導者又は管理者により第一端末装置20Aを介して電子付箋機能の利用状況の分析単位として学校が指定された場合に、電子付箋の作成履歴情報に基づいて、上記の学習指導者又は上記の管理者に対応付けられている学校と同じ学校の学習者により作成された電子付箋の総数を導出し、導出結果を第一端末装置20Aに表示させる。
【選択図】図1
特許請求の範囲
【請求項1】
学習指導者又は管理者が使用する第一端末装置及び複数の学習者が使用する複数の第二端末装置に通信可能に接続される情報処理装置であって、
前記第二端末装置には、学習に関する電子付箋を作成する電子付箋機能が提供され、
前記学習者により前記第二端末装置を介して作成された電子付箋の作成履歴情報を取得する取得部と、
前記学習指導者又は前記管理者により前記第一端末装置を介して前記電子付箋機能の利用状況の分析単位として学校が指定された場合に、前記作成履歴情報に基づいて、前記学習指導者又は前記管理者に対応付けられている学校と同じ学校の学習者により作成された電子付箋の総数を導出し、導出結果を前記第一端末装置に表示させる表示制御部と、
を備える情報処理装置。
続きを表示(約 1,300 文字)
【請求項2】
前記表示制御部は、
前記導出結果として、横軸を期間、縦軸を電子付箋の作成総数としたグラフを前記第一端末装置に表示させる、
請求項1に記載の情報処理装置。
【請求項3】
前記表示制御部は、
前記学習指導者又は前記管理者により前記第一端末装置を介してクラス又は授業が分析単位として指定された場合に、前記作成履歴情報に基づいて、指定されたクラス又は授業に属する前記学習者ごとの電子付箋の作成数を導出し、導出結果を前記第一端末装置に表示させる、
請求項1に記載の情報処理装置。
【請求項4】
前記電子付箋には、複数の種類があり、
前記表示制御部は、
前記学習者ごとの電子付箋の作成数を前記電子付箋の種類ごとに導出する、
請求項3に記載の情報処理装置。
【請求項5】
前記表示制御部は、
前記導出結果として、横軸を指定された前記クラスに属する学習者又は指定された前記授業に属する学習者、縦軸を電子付箋の作成数としたグラフを前記第一端末装置に表示させる、
請求項3に記載の情報処理装置。
【請求項6】
前記表示制御部は、
前記導出結果として、横軸を指定された前記クラスに属する学習者又は指定された前記授業に属する学習者、縦軸を電子付箋の作成数としたグラフであって、前記電子付箋の種類ごとの作成数を異なる態様で区分して示したグラフを前記第一端末装置に表示させる、
請求項4に記載の情報処理装置。
【請求項7】
前記電子付箋は、電子辞書を用いて作成された電子付箋を含み、
前記取得部は、
一つの授業において異なる複数の電子辞書を用いて複数の電子付箋が作成された場合に、前記複数の電子辞書のそれぞれで作成された電子付箋の作成履歴情報を取得し、
前記表示制御部は、
前記複数の電子辞書のそれぞれで作成された電子付箋の数を合算して前記総数を導出する、
請求項1に記載の情報処理装置。
【請求項8】
請求項1から7のいずれか一項に記載の情報処理装置と、
前記情報処理装置と通信可能に接続される第一端末装置及び第二端末装置と、
を備える情報処理システム。
【請求項9】
学習指導者又は管理者が使用する第一端末装置及び複数の学習者が使用する複数の第二端末装置に通信可能に接続される情報処理装置のコンピュータを、
前記第二端末装置には、学習に関する電子付箋を作成する電子付箋機能が提供され、
前記学習者により前記第二端末装置を介して作成された電子付箋の作成履歴情報を取得する取得部、
前記学習指導者又は前記管理者により前記第一端末装置を介して前記電子付箋機能の利用状況の分析単位として学校が指定された場合に、前記作成履歴情報に基づいて、前記学習指導者又は前記管理者に対応付けられている学校と同じ学校の学習者により作成された電子付箋の総数を導出し、導出結果を前記第一端末装置に表示させる表示制御部、
として機能させるためのプログラム。
発明の詳細な説明
【技術分野】
【0001】
本発明は、情報処理装置、情報処理システム及びプログラムに関する。
続きを表示(約 2,100 文字)
【背景技術】
【0002】
従来、授業分析を、授業にかかるコンテンツのページごとの付箋の数などにより行い、授業分析結果表示画面を表示する教育支援システムがある(例えば、特許文献1参照)。
【先行技術文献】
【特許文献】
【0003】
特開2019-212238号公報
【発明の概要】
【発明が解決しようとする課題】
【0004】
しかし、特許文献1に記載の発明では、学校全体での電子付箋機能の利用状況をユーザが把握することができない。
【0005】
本発明の課題は、電子付箋機能の学校全体での利用状況をユーザが容易に把握できるようにすることである。
【課題を解決するための手段】
【0006】
上記課題を解決するため、本発明の情報処理装置は、学習指導者又は管理者が使用する第一端末装置及び複数の学習者が使用する複数の第二端末装置に通信可能に接続される情報処理装置であって、前記第二端末装置には、学習に関する電子付箋を作成する電子付箋機能が提供され、前記学習者により前記第二端末装置を介して作成された電子付箋の作成履歴情報を取得する取得部と、前記学習指導者又は前記管理者により前記第一端末装置を介して前記電子付箋機能の利用状況の分析単位として学校が指定された場合に、前記作成履歴情報に基づいて、前記学習指導者又は前記管理者に対応付けられている学校と同じ学校の学習者により作成された電子付箋の総数を導出し、導出結果を前記第一端末装置に表示させる表示制御部と、を備える。
【発明の効果】
【0007】
本発明によれば、電子付箋機能の学校全体での利用状況をユーザが容易に把握できる。
【図面の簡単な説明】
【0008】
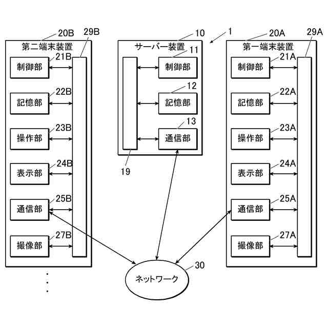
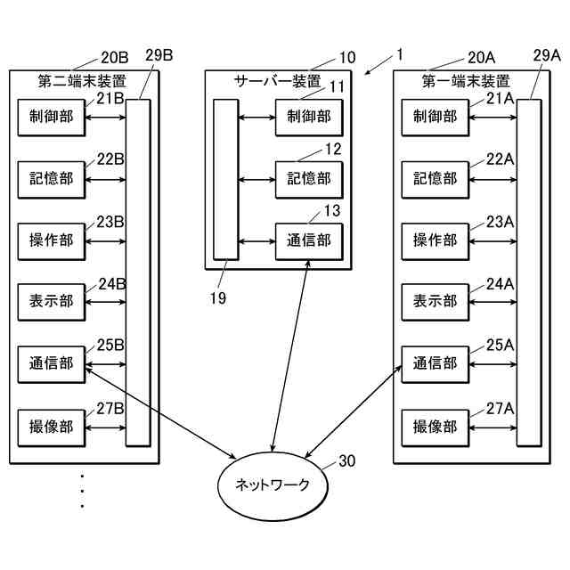
本実施形態に係る情報処理システムの概略構成を示す図である。
サーバー装置に記憶されるデータベースの構成例を示す図である。
生徒が利用する電子辞書を選択するための画面の一例を示す図である。
生徒が利用するノートブックを選択するための画面の一例を示す図である。
利用するノートブックが選択された際に表示される画面の一例を示す図である。
サーバー装置の制御部により実行される分析処理の流れを示すフローチャートである。
先生又は管理者がログインした場合に表示される、分析対象の項目を選択するための画面の一例を示す図である。
分析対象の項目として電子付箋機能が選択された場合に表示される分析用の画面の一例を示す図である。
分析対象の項目として電子辞書機能が選択された場合に表示される分析用の画面の一例を示す図である。
分析対象の項目としてノートブック機能が選択された場合に表示される分析用の画面の一例を示す図である。
分析対象の項目としてアクセス数が選択された場合に表示される分析用の画面の一例を示す図である。
分析対象の項目として電子付箋機能が選択され、分析単位としてクラスが選択された場合に表示されるグラフの一例を示す図である。
分析対象の項目として電子付箋機能が選択され、分析単位として学校が選択された場合に表示されるグラフの一例を示す図である。
分析対象の項目として電子辞書機能が選択され、分析単位としてクラスが選択された場合に表示されるグラフの一例を示す図である。
分析対象の項目としてノートブック機能が選択され、分析単位としてクラスが選択された場合に表示されるグラフの一例を示す図である。
分析対象の項目としてノートブック機能が選択され、分析単位として授業が選択された場合に表示されるグラフの一例を示す図である。
分析対象の項目としてアクセス数が選択された場合に表示されるグラフの一例を示す図である。
【発明を実施するための形態】
【0009】
以下、本発明の実施形態に係る情報処理システムについて、図面を参照して詳細に説明する。上記情報処理システムは、学校の管理者、学習指導者である学校の先生、及び学習者である生徒によって使用されるものとする。なお、学校とは、正規の小学校、中学校、高校、大学だけではなく、専門学校、学習塾、予備校などを含むものである。
【0010】
情報処理システム1は、図1に示すように、情報処理装置であるサーバー装置10と、第一端末装置20Aと、複数の第二端末装置20Bを含む。サーバー装置10、第一端末装置20A及び第二端末装置20Bは、ネットワーク30を介して通信可能に接続される。ネットワーク30は、例えば、インターネット、無線LAN(Local Area Network)、有線LAN、移動体通信ネットワーク、近距離無線通信網、あるいは、これらの一部又は全部の組合せ等の、任意の通信ネットワークである。なお、情報処理システム1は、第一端末装置20Aを複数備えていてもよい。
(【0011】以降は省略されています)
この特許をJ-PlatPat(特許庁公式サイト)で参照する
関連特許
個人
詐欺保険
今日
個人
縁伊達ポイン
今日
個人
地球保全システム
13日前
個人
QRコードの彩色
4日前
個人
残土処理システム
6日前
個人
知的財産出願支援システム
7日前
株式会社キーエンス
受発注システム
12日前
株式会社キーエンス
受発注システム
12日前
個人
食品レシピ生成システム
12日前
株式会社キーエンス
受発注システム
12日前
キヤノン株式会社
表示システム
12日前
個人
音声・通知・再配達UX制御構造
7日前
個人
帳票自動生成型SaaSシステム
7日前
個人
マーケティング活動支援装置
11日前
株式会社カネカ
製造工場の管理システム
7日前
株式会社キーエンス
製品受発注システム
12日前
大同特殊鋼株式会社
棒材計数方法
5日前
TOTO株式会社
衛生評価システム
5日前
TOTO株式会社
姿勢評価システム
5日前
株式会社オカムラ
電力供給システム
4日前
株式会社梓総合研究所
冷却システム
11日前
ワキ製薬株式会社
配置薬管理システム
11日前
本田技研工業株式会社
会話装置
11日前
株式会社国際電気
タスク管理システム
11日前
株式会社栗本鐵工所
触覚提示システム
5日前
株式会社栗本鐵工所
触覚提示システム
5日前
株式会社栗本鐵工所
触覚提示システム
5日前
株式会社栗本鐵工所
触覚提示システム
5日前
中国電力株式会社
空き家判定システム
4日前
グローリー株式会社
キオスク端末
6日前
株式会社ライト
情報処理システム
6日前
株式会社デンソー
移動体制御装置
12日前
株式会社JVCケンウッド
画像表示方法
5日前
株式会社JVCケンウッド
画像表示方法
5日前
株式会社JVCケンウッド
画像表示方法
5日前
株式会社熊平製作所
防災情報提供システム
4日前
続きを見る
他の特許を見る