TOP
|
特許
|
意匠
|
商標
特許ウォッチ
Twitter
他の特許を見る
公開番号
2025149000
公報種別
公開特許公報(A)
公開日
2025-10-08
出願番号
2024049415
出願日
2024-03-26
発明の名称
情報処理システム
出願人
株式会社ライト
代理人
個人
,
個人
主分類
G06Q
50/10 20120101AFI20251001BHJP(計算;計数)
要約
【課題】維持管理費の低減を図ることができるクリーニングシステムを提供する。
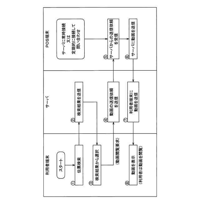
【解決手段】クリーニングシステムは、インタネット上のサーバと、このサーバと通信可能なPOS端末及び利用者端末とを具備する。そして、サーバは、利用者端末からの動画閲覧要求に応じて、その動画閲覧要求に係る動画の送信依頼をPOS端末に送信する。また、サーバは、送信依頼に基づいてPOS端末の記憶部から読み出された動画閲覧要求に係る動画をPOS端末から受信すると、この受信した動画を利用者が閲覧できるように利用者端末に送信する。
【選択図】図2
特許請求の範囲
【請求項1】
クリーニング業務に関する情報を管理するサーバと、
クリーニング店に設置され、前記サーバと通信可能な店舗端末と、
前記サーバと通信可能な利用者端末とを具備し、
前記店舗端末は、
クリーニング品の受付時にそのクリーニング品を撮影して動画を取得する撮影部と、
前記撮影部にて取得された動画を記憶する記憶部とを備え、
前記サーバは、
前記利用者端末からの動画閲覧要求に応じて、その動画閲覧要求に係る動画の送信依頼を前記店舗端末に送信し、
前記送信依頼に基づいて前記店舗端末の前記記憶部から読み出された前記動画閲覧要求に係る動画を前記店舗端末から受信すると、この受信した動画を前記利用者端末に送信する
ことを特徴とする情報処理システム。
続きを表示(約 430 文字)
【請求項2】
店舗端末の撮影部にて取得されて記憶部に記憶される動画は、クリーニング処理前のクリーニング品の状態を確認するための検品用の動画である
ことを特徴とする請求項1記載の情報処理システム。
【請求項3】
店舗端末は、複数の各クリーニング店にそれぞれ設置されるPOS端末である
ことを特徴とする請求項1又は2記載の情報処理システム。
【請求項4】
利用者端末は、店舗端末の記憶部に記憶された動画を利用者が閲覧できるように、サーバからの前記動画を表示する表示部を有する
ことを特徴とする請求項1又は2記載の情報処理システム。
【請求項5】
利用者端末の表示部に表示された画面において、利用者が閲覧したい動画に対応する受付情報を選択した場合に、前記利用者が閲覧したい動画に係る動画閲覧要求が前記利用者端末からサーバに送信される
ことを特徴とする請求項4記載の情報処理システム。
発明の詳細な説明
【技術分野】
【0001】
本発明は、情報処理システムに関するものである。
続きを表示(約 870 文字)
【背景技術】
【0002】
従来、例えば下記の特許文献1に記載された情報処理システムであるクリーニングシステムが知られている。
【0003】
この従来のクリーニングシステムは、例えばクリーニング業務に関する情報を管理するサーバと、このサーバと通信可能なPOS端末(レジスター装置)とを具備している。
【0004】
また、POS端末は、クリーニング店に設置されて店員によって操作されるもので、例えば制御部と、記憶部と、入力部兼表示部であるタッチパネル部と、印刷部(プリンター部)とを備えている。
【0005】
そして、クリーニング店の店員(操作者)は、来店した顧客からのクリーニング品の受付時(預かり時)に、POS端末を適宜操作して、来店した顧客ごとに所定の受付及び会計の処理を行う。
【先行技術文献】
【特許文献】
【0006】
特開2021-138489号公報
【発明の概要】
【発明が解決しようとする課題】
【0007】
ところで、クリーニング店では、来店した顧客からクリーニング品を預かるという性質上、その預かり時におけるクリーニング処理前のクリーニング品の状態がしばしば問題になる。
【0008】
すなわち例えば、顧客が持参したクリーニング品をクリーニング店に預けた時から、既に破れやシミ等が存在していたか否かが問題になることがある。
【0009】
そこで、例えば撮影手段であるカメラを使用して、クリーニング品の受付時にそのクリーニング品を撮影して動画を取得し、この取得した動画をインターネット上のサーバの記憶部に記憶(保存)する場合がある。
【0010】
しかし、そのような場合、複数の各クリーニング店のPOS端末からの動画をサーバで保存するには大きな保存容量が必要となり、維持管理費が高くなるという問題がある。
(【0011】以降は省略されています)
この特許をJ-PlatPat(特許庁公式サイト)で参照する
関連特許
個人
地球保全システム
9日前
個人
残土処理システム
2日前
個人
知的財産出願支援システム
3日前
株式会社キーエンス
受発注システム
8日前
個人
食品レシピ生成システム
8日前
株式会社キーエンス
受発注システム
8日前
株式会社キーエンス
受発注システム
8日前
個人
音声・通知・再配達UX制御構造
3日前
キヤノン株式会社
表示システム
8日前
個人
帳票自動生成型SaaSシステム
3日前
フリー株式会社
情報処理システム
15日前
個人
マーケティング活動支援装置
7日前
株式会社キーエンス
製品受発注システム
8日前
大同特殊鋼株式会社
棒材計数方法
1日前
株式会社カネカ
製造工場の管理システム
3日前
株式会社梓総合研究所
冷却システム
7日前
TOTO株式会社
姿勢評価システム
1日前
ブラザー工業株式会社
サポートプログラム
14日前
TOTO株式会社
衛生評価システム
1日前
個人
本人認証連動型帳票出力支援システム
11日前
株式会社栗本鐵工所
触覚提示システム
1日前
ワキ製薬株式会社
配置薬管理システム
7日前
株式会社国際電気
タスク管理システム
7日前
株式会社カネカ
生産計画立案システム
11日前
本田技研工業株式会社
会話装置
7日前
株式会社栗本鐵工所
触覚提示システム
1日前
株式会社栗本鐵工所
触覚提示システム
1日前
株式会社栗本鐵工所
触覚提示システム
1日前
グローリー株式会社
キオスク端末
2日前
株式会社ライト
情報処理システム
2日前
株式会社JVCケンウッド
画像表示方法
1日前
個人
冷凍食品ギフトおよび定期便支援システム
15日前
HIKEN株式会社
警備員予約システム
14日前
株式会社JVCケンウッド
画像表示方法
1日前
株式会社北國銀行
勘定系システム
11日前
株式会社JVCケンウッド
画像表示方法
1日前
続きを見る
他の特許を見る