TOP
|
特許
|
意匠
|
商標
特許ウォッチ
Twitter
他の特許を見る
10個以上の画像は省略されています。
公開番号
2025141115
公報種別
公開特許公報(A)
公開日
2025-09-29
出願番号
2024040887
出願日
2024-03-15
発明の名称
硬貨処理装置
出願人
日本金銭機械株式会社
代理人
個人
,
個人
主分類
G07D
11/00 20190101AFI20250919BHJP(チェック装置)
要約
【課題】より正確に硬貨を1枚ずつ送り出すことができる技術を提供する。
【解決手段】複数の硬貨を受け付けて1枚ずつ間隔をあけて送り出すための捌き部110を備える硬貨処理装置100が提供される。捌き部は、硬貨がセットされる孔部が間隔をあけて複数形成された回動部材113と、回動部材の下方に配置され、硬貨を排出口113Yに案内するための凸部114と、排出口を閉じる向きに付勢され、凸部によって案内された硬貨によって押しのけられるシャッタ115と、孔部内における、回動部材の外側部分に、上方に向けた凸部119Xが形成された部材119と、を含む。
【選択図】図12
特許請求の範囲
【請求項1】
複数の硬貨を受け付けて1枚ずつ間隔をあけて送り出すための捌き部を備え、
前記捌き部は、
硬貨がセットされる孔部が間隔をあけて複数形成された回動部材と、
前記回動部材の下方に配置され、前記硬貨を排出口に案内するための凸部と、
前記排出口を閉じる向きに付勢され、前記凸部によって案内された前記硬貨によって押しのけられるシャッタと、
前記孔部内における、前記回動部材の外側部分に、上方に向けた凸部が形成された部材と、を含む、硬貨処理装置。
続きを表示(約 490 文字)
【請求項2】
複数の硬貨を受け付けて1枚ずつ間隔をあけて送り出すための捌き部を備え、
前記捌き部は、
前記硬貨がセットされる孔部が間隔をあけて複数形成された回動部材と、
前記回動部材の下方に配置され、前記硬貨を排出口に案内するための凸部と、
前記排出口を閉じる向きに付勢され、前記凸部によって案内された前記硬貨によって押しのけられるシャッタと、を備え、
前記孔部内に、前記孔部内の外側に位置する硬貨を持ち上げるためのリブが形成される、硬貨処理装置。
【請求項3】
複数の硬貨を受け付けて1枚ずつ間隔をあけて送り出すための捌きユニットであって、
硬貨がセットされる孔部が間隔をあけて複数形成された回動部材と、
前記回動部材の下方に配置され、前記硬貨を排出口に案内するための凸部と、
前記排出口を閉じる向きに付勢され、前記凸部によって案内された前記硬貨によって押しのけられるシャッタと、
前記孔部内における、前記回動部材の外側部分に、上方に向けた凸部が形成された部材と、を備える、捌きユニット。
発明の詳細な説明
【技術分野】
【0001】
本発明は、硬貨を受け付けて種類別に収納するための硬貨処理装置の技術に関する。
続きを表示(約 2,100 文字)
【背景技術】
【0002】
従来から、硬貨を受け付けて種類毎に選別するための装置が知られている。たとえば、特開2022-177387号公報(特許文献1)には、硬貨処理装置が開示されている。特許文献1によると、硬貨を受け付けて1枚ずつ間隔をあけて送り出すための捌き部と、捌き部から硬貨を1枚ずつ受け入れて、硬貨を円弧に沿って移動させながら、硬貨の種類を判断して、種類毎の経路に誘導する選別部と、を備える硬貨処理装置が提供される。
【先行技術文献】
【特許文献】
【0003】
特開2022-177387号公報
【発明の概要】
【発明が解決しようとする課題】
【0004】
本発明の目的は、より正確に硬貨を1枚ずつ送り出すことができる技術を提供することにある。
【課題を解決するための手段】
【0005】
この発明のある態様に従うと、複数の硬貨を受け付けて1枚ずつ間隔をあけて送り出すための捌き部を備える硬貨処理部が提供される。捌き部は、硬貨がセットされる孔部が間隔をあけて複数形成された回動部材と、回動部材の下方に配置され、硬貨を排出口に案内するための凸部と、排出口を閉じる向きに付勢され、凸部によって案内された硬貨によって押しのけられるシャッタと、孔部内における、回動部材の外側部分に、上方に向けた凸部が形成された部材と、を含む。
【発明の効果】
【0006】
以上のように、本発明によれば、より正確に硬貨を1枚ずつ送り出すことができるようになる。
【図面の簡単な説明】
【0007】
本実施の形態にかかる硬貨処理装置の全体を示すイメージ図である。
本実施の形態にかかる硬貨処理装置の全体構成を示す側面断面図である。
本実施の形態にかかる硬貨処理装置の硬貨識別選別部を示す平面図である。
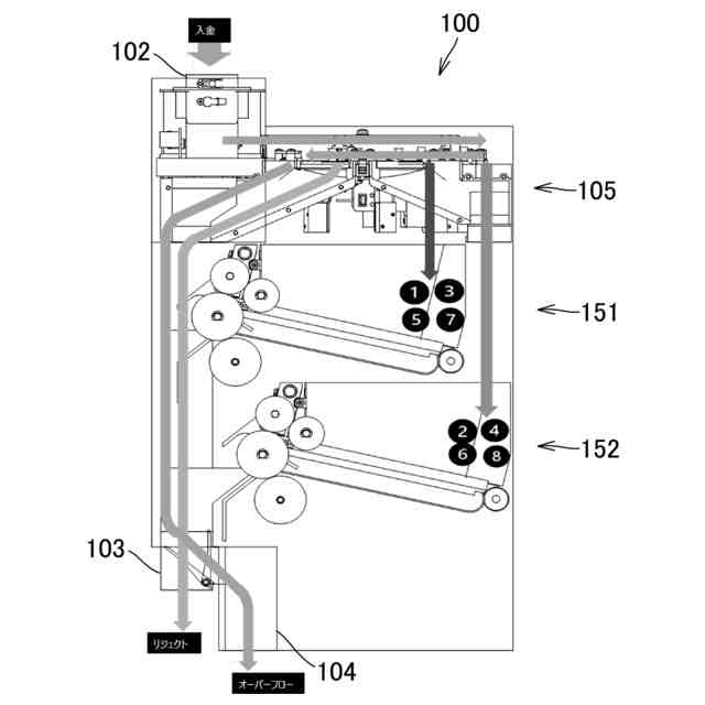
本実施の形態にかかる入金時の硬貨の流れを示す硬貨処理装置の全体正面断面図である。
本実施の形態にかかる入金時の硬貨の流れを示す硬貨処理装置の全体側面断面図である。
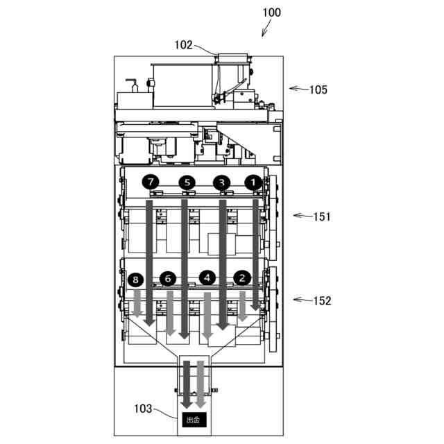
本実施の形態にかかる出金時の硬貨の流れを示す硬貨処理装置の全体正面断面図である。
本実施の形態にかかる出金時の硬貨の流れを示す硬貨処理装置の全体側面断面図である。
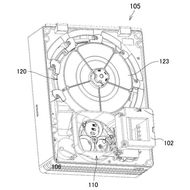
本実施の形態にかかる硬貨識別選別部を示す上方斜視図である。
本実施の形態にかかる搬送回転体を取り外した状態の硬貨識別選別部を示す上方斜視図である。
本実施の形態にかかる捌き部の構成を示す平面図である。
本実施の形態にかかるガイドピンの構成を示す上方斜視図である。
本実施の形態にかかる2枚の硬貨が孔部に入り込んだ状態の捌き部の構成を示す側面断面図である。
本実施の形態にかかる捌き部の構成を示す平面図である。
本実施の形態にかかる捌き部の各部品のサイズ構成を示す平面図である。
本実施の形態にかかる硬貨を排出するときの捌き部の構成を示す側面断面図である。
本実施の形態にかかる選別部と捌き部とを示す上方斜視図である。
本実施の形態にかかる選別部の識別部の水平変位センサを示す平面図である。
本実施の形態にかかる識別部の構成を示す側面透視図である。
本実施の形態にかかる識別部の上面変位センサと下面変位センサとの構成を示す側面図である。
本実施の形態にかかる上面変位センサによる計測結果と下面変位センサによる計測結果とを示すグラフである。
【発明を実施するための形態】
【0008】
以下、図面を参照しつつ、本発明の実施の形態について説明する。以下の説明では、同一の部品には同一の符号を付してある。それらの名称および機能も同じである。したがって、それらについての詳細な説明は繰り返さない。
<硬貨処理装置100の全体構成>
【0009】
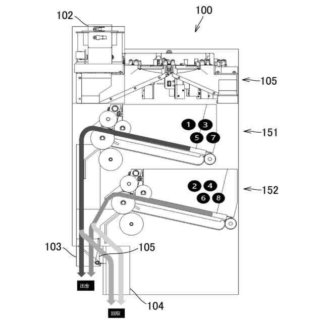
まず、本実施の形態にかかる硬貨処理装置100の全体的な構成について説明する。図1は、本実施の形態にかかる硬貨処理装置100の外観図である。図1を参照して、硬貨処理装置100は、略直方体の筐体101から構成されており、上部に硬貨投入口102が設けられ、下部に硬貨排出口103が設けられる
【0010】
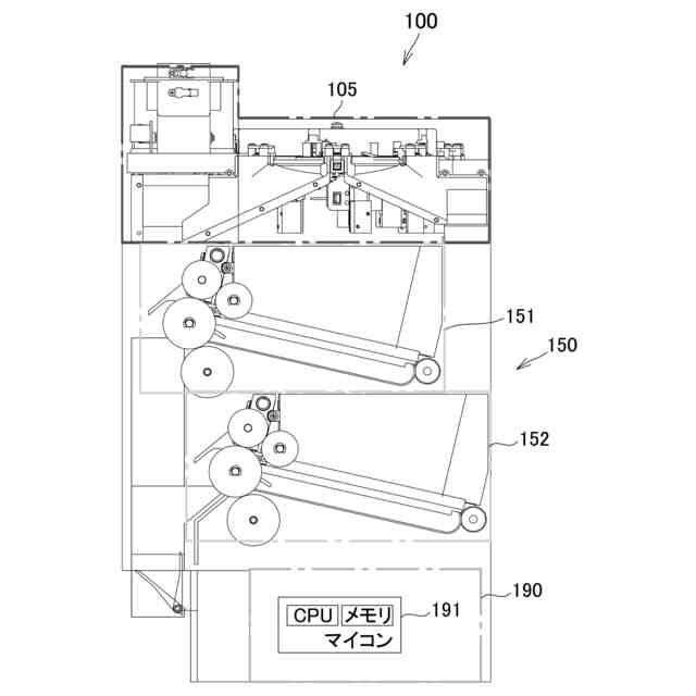
図2は、本実施の形態にかかる硬貨処理装置100の全体的な内部構造を示す側面断面図である。図2を参照して、硬貨処理装置100は、上部に、硬貨を種類別に選別して送り出すための硬貨識別選別部105が設けられ、中部に、硬貨を種類毎に蓄積したり払い出したりするための硬貨払出部150が設けられ、下部に、制御部190が設けられる。なお、本実施の形態においては、硬貨払出部150は、4金種分の上払出部151と、4金種分の下払出部152から構成される。制御部190には、硬貨処理装置100の各部を制御するためのマイコン191やその他の通信インターフェイスなどが配置される。マイコン191は、たとえば、CPUや各種のメモリなどを含む。
(【0011】以降は省略されています)
この特許をJ-PlatPat(特許庁公式サイト)で参照する
関連特許
日本金銭機械株式会社
硬貨処理装置
5日前
株式会社イシダ
商品処理装置
3日前
株式会社バンダイ
物品供給装置
2か月前
株式会社バンダイ
物品供給装置
2か月前
株式会社バンダイ
物品供給装置
2か月前
株式会社バンダイ
物品供給装置
2か月前
富士電機株式会社
通貨識別装置
2か月前
沖電気工業株式会社
媒体処理装置
1か月前
沖電気工業株式会社
紙幣処理装置
1か月前
沖電気工業株式会社
媒体処理装置
1か月前
沖電気工業株式会社
媒体処理装置
1か月前
株式会社ライト
情報処理装置
2か月前
富士電機株式会社
自動販売機
1か月前
株式会社ライト
情報処理装置
1か月前
株式会社ライト
情報処理装置
1か月前
富士電機株式会社
金銭処理装置
2か月前
株式会社デンソー
車載器
1日前
グローリー株式会社
硬貨処理装置
2か月前
トヨタ車体株式会社
出入検知装置
3か月前
グローリー株式会社
物品投出装置
25日前
株式会社トイスピリッツ
景品提供システム
1か月前
日本金銭機械株式会社
硬貨処理装置
5日前
日本金銭機械株式会社
硬貨処理装置
5日前
ユニティガードシステム株式会社
入館監視システム
1か月前
トヨタ自動車株式会社
記録装置
3か月前
パイオニア株式会社
ドライブレコーダ
3か月前
沖電気工業株式会社
棒金収納装置
1か月前
沖電気工業株式会社
現金処理装置
1か月前
旭精工株式会社
紙葉類処理装置および紙葉類処理方法
15日前
沖電気工業株式会社
媒体処理装置
29日前
沖電気工業株式会社
現金処理装置及び印字装置
15日前
沖電気工業株式会社
棒金収納装置
2日前
株式会社東芝
ドア構造
1か月前
中井銘鈑株式会社
商品見本取付け構造
1か月前
独立行政法人 国立印刷局
画像観察装置及び画像観察方法
1か月前
沖電気工業株式会社
媒体識別装置及び媒体処理装置
1か月前
続きを見る
他の特許を見る