TOP
|
特許
|
意匠
|
商標
特許ウォッチ
Twitter
他の特許を見る
10個以上の画像は省略されています。
公開番号
2025133180
公報種別
公開特許公報(A)
公開日
2025-09-11
出願番号
2024030967
出願日
2024-03-01
発明の名称
情報処理システム、情報処理方法、プログラム
出願人
株式会社サトー
代理人
弁理士法人グローバル・アイピー東京
主分類
G06Q
10/08 20240101AFI20250904BHJP(計算;計数)
要約
【課題】物品と特定の人をデータ上で関連付ける場合に、物品を取得した人の取得意思がシステム上反映されるようにする。
【解決手段】本発明のある態様は、第1部分と第2部分とに分離可能であって第1部分と第2部分とに分離された場合に通信機能を喪失しないように構成された無線タグを有する情報担持媒体を用いた情報処理システムである。このシステムは、ユーザ識別情報に関連付けられた処理を行う通信端末と、通信端末と通信可能であって、各無線タグのタグ識別情報ごとに物品識別情報を関連付けて記憶する記憶部を有する情報処理装置と、を備える。通信端末は、情報担持媒体が分離されたか否かを示す分離情報を無線タグから取得する。情報処理装置は、分離情報が第1部分と第2部分とが分離されたことを示す場合に、無線タグを識別するタグ識別情報に関連付けられた物品識別情報とユーザ識別情報とを関連付けるユーザ登録処理を実行する。
【選択図】図2
特許請求の範囲
【請求項1】
第1部分と第2部分とに分離可能であって前記第1部分と前記第2部分とに分離された場合に通信機能を喪失しないように構成された無線タグを有する情報担持媒体を用いた情報処理システムであって、
前記無線タグと通信可能であって、ユーザを識別するユーザ識別情報に関連付けられた処理を行うための通信端末と、
前記通信端末と通信可能であって、複数の無線タグの各々を識別するタグ識別情報ごとに、物品を識別する物品識別情報を関連付けて記憶する記憶部を有する情報処理装置と、
を備え、
前記通信端末は、前記情報担持媒体の前記第1部分と前記第2部分とが分離されたか否かを示す分離情報を前記無線タグから取得し、
前記情報処理装置は、前記分離情報が前記第1部分と前記第2部分とが分離されたことを示す場合に、前記無線タグを識別するタグ識別情報に関連付けられた物品識別情報と、前記ユーザ識別情報と、を関連付けるユーザ登録処理を実行する、
情報処理システム。
続きを表示(約 1,500 文字)
【請求項2】
前記情報処理装置は、前記物品識別情報がいずれのユーザとも関連付けられていない場合に、前記ユーザ登録処理を実行する、
請求項1に記載された情報処理システム。
【請求項3】
前記無線タグは、前記無線タグを識別するタグ識別情報と、前記分離情報と、を含むコード情報を記憶し、
前記通信端末は、前記無線タグから前記コード情報を受信する、
請求項1又は2に記載された情報処理システム。
【請求項4】
前記無線タグは、前記無線タグを識別するタグ識別情報と、前記分離情報と、を含むURL(Universal Resource Locator)を記憶し、
前記通信端末は、前記無線タグから前記URLを受信する、
請求項1又は2に記載された情報処理システム。
【請求項5】
前記通信端末は、前記無線タグから取得した前記分離情報が前記第1部分と前記第2部分とが分離されていないことを示す場合に、前記ユーザ登録処理とは異なる処理を実行する、
請求項1又は2に記載された情報処理システム。
【請求項6】
前記ユーザ登録処理は、前記ユーザの属性情報、及び、前記情報処理装置が前記ユーザ登録処理を実行した登録日情報のうち少なくともいずれかの情報をさらに関連付けることを含む、
請求項1又は2に記載された情報処理システム。
【請求項7】
前記通信端末は、複数の前記情報担持媒体の各々に含まれる無線タグから一度の読み取り動作で複数の分離情報を取得する、
請求項1又は2に記載された情報処理システム。
【請求項8】
第1部分と第2部分とに分離可能であって前記第1部分と前記第2部分とに分離された場合に通信機能を喪失しないように構成された無線タグを有する情報担持媒体を用いた情報処理方法であって、
ユーザを識別するユーザ識別情報に関連付けられた処理を行うための通信端末が、前記無線タグから、前記情報担持媒体の前記第1部分と前記第2部分とが分離されたか否かを示す分離情報を取得し、
情報処理装置が、複数の無線タグの各々を識別するタグ識別情報ごとに、物品を識別する物品識別情報を関連付けて記憶し、
前記情報処理装置が、前記通信端末から前記分離情報を受信し、受信した前記分離情報が前記第1部分と前記第2部分とが分離されたことを示す場合に、前記無線タグを識別するタグ識別情報に関連付けられた物品識別情報と、前記ユーザ識別情報と、を関連付けるユーザ登録処理を実行する、
情報処理方法。
【請求項9】
情報処理装置と通信可能であって、ユーザを識別するユーザ識別情報に関連付けられた処理を行うための通信端末にインストールされるプログラムであって、
第1部分と第2部分とに分離可能であって前記第1部分と前記第2部分とに分離された場合に通信機能を喪失しないように構成された無線タグを有する情報担持媒体と通信を行う手順と、
前記無線タグから、前記情報担持媒体の前記第1部分と前記第2部分とが分離されたか否かを示す分離情報を取得する手順と、
前記分離情報が前記第1部分と前記第2部分とが分離されたことを示す場合に、前記無線タグを識別するタグ識別情報に関連付けられた物品識別情報と、前記ユーザ識別情報と、を関連付けるユーザ登録処理を実行することを前記情報処理装置に要求する手順と、
をコンピュータに実行させるためのプログラム。
発明の詳細な説明
【技術分野】
【0001】
本発明は、情報担持媒体を利用した情報処理に関する。
続きを表示(約 2,300 文字)
【背景技術】
【0002】
従来から、物品と特定の人をデータ上で関連付けることが提案されている。例えば、店舗で販売されている商品と当該商品取得者とをデータ上で関連付けることで、商品の流通過程で商品の取得者を一元的に管理できるようになる。
例えば特許文献1には、商品に関する情報と、商品に取り付けられた無線タグの識別情報と、を記憶する記憶部と、商品を取得する商品取得者が所持する商品取得者端末から、商品に取り付けられた無線タグの識別情報を受信した場合に、商品取得者に関する情報と、無線タグの識別情報と、を関連付ける制御部と、を備えた情報処理装置が記載されている。この情報処理装置では、制御部は、商品取得者に関する情報と、無線タグの識別情報とが関連付けられた場合に、記憶部に記憶された商品に関する情報を商品取得者端末に提供可能となるように構成されている。
【先行技術文献】
【特許文献】
【0003】
特開2022-149838号公報
【発明の概要】
【発明が解決しようとする課題】
【0004】
特許文献1では、商品に取り付けられた無線タグの識別情報を商品取得者端末が受信したことを契機として、商品と商品取得者の関連付けが実質的に行われることになるが、商品取得者が意図せずに商品を取得し、そのことがシステム上記録されることも生じ得る。
【0005】
そこで、本発明は、物品と特定の人をデータ上で関連付ける場合に、物品を取得した人の取得意思がシステム上反映されるようにすることを目的とする。
【課題を解決するための手段】
【0006】
本発明のある態様は、第1部分と第2部分とに分離可能であって前記第1部分と前記第2部分とに分離された場合に通信機能を喪失しないように構成された無線タグを有する情報担持媒体を用いた情報処理システムであって、
前記無線タグと通信可能であって、ユーザを識別するユーザ識別情報に関連付けられた処理を行うための通信端末と、
前記通信端末と通信可能であって、複数の無線タグの各々を識別するタグ識別情報ごとに、物品を識別する物品識別情報を関連付けて記憶する記憶部を有する情報処理装置と、
を備え、
前記通信端末は、前記情報担持媒体の前記第1部分と前記第2部分とが分離されたか否かを示す分離情報を前記無線タグから取得し、
前記情報処理装置は、前記分離情報が前記第1部分と前記第2部分とが分離されたことを示す場合に、前記無線タグを識別するタグ識別情報に関連付けられた物品識別情報と、前記ユーザ識別情報と、を関連付けるユーザ登録処理を実行する、
情報処理システムである。
【発明の効果】
【0007】
本発明のある態様によれば、物品と特定の人をデータ上で関連付ける場合に、物品を取得した人の取得意思をシステム上反映させることができる。
【図面の簡単な説明】
【0008】
一実施形態の情報処理システムにおいて、商品の製造に伴って商品データベースのレコードが追加されることを説明する図である。
一実施形態の情報処理システムにおいて所有者カードの利用方法を時系列に沿って説明する図である。
ユーザデータベースのデータ構成例を示す図である。
一実施形態の情報処理システムにおいて使用される所有者カードの表面と裏面を示す図である。
図4の所有者カードを作製するときの元となる用紙の表面と裏面を示す図である。
図5に示した用紙から所有者カードを作製するときの手順を説明する図である。
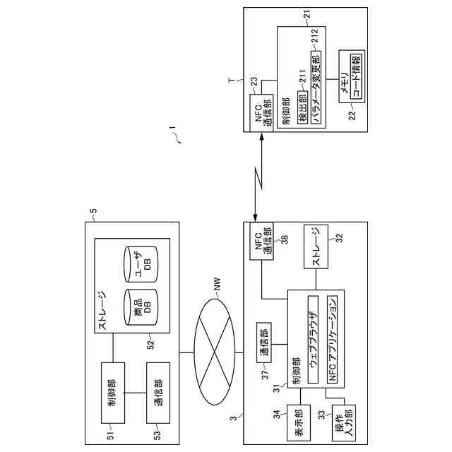
一実施形態の情報処理システムの各装置の内部構成を示すブロック図である。
一実施形態の情報処理システムのシステム動作を示すシーケンスチャートである。
一実施形態のサーバによるユーザ登録処理を示すフローチャートである。
商品データベースのデータ構成例について図1とは異なる例を示す図である。
複数のカードを店舗で一括読み取りする場合の概略的なシステム構成を示す図である。
【発明を実施するための形態】
【0009】
以下に記載する態様は、図面の簡単な説明により説明される図面に限定されるものではない。
【0010】
本発明のある態様の第1の態様は、第1部分と第2部分とに分離可能であって前記第1部分と前記第2部分とに分離された場合に通信機能を喪失しないように構成された無線タグを有する情報担持媒体を用いた情報処理システムであって、
前記無線タグと通信可能であって、ユーザを識別するユーザ識別情報に関連付けられた処理を行うための通信端末と、
前記通信端末と通信可能であって、複数の無線タグの各々を識別するタグ識別情報ごとに、物品を識別する物品識別情報を関連付けて記憶する記憶部を有する情報処理装置と、
を備え、
前記通信端末は、前記情報担持媒体の前記第1部分と前記第2部分とが分離されたか否かを示す分離情報を前記無線タグから取得し、
前記情報処理装置は、前記分離情報が前記第1部分と前記第2部分とが分離されたことを示す場合に、前記無線タグを識別するタグ識別情報に関連付けられた物品識別情報と、前記ユーザ識別情報と、を関連付けるユーザ登録処理を実行する、
情報処理システムである。
(【0011】以降は省略されています)
この特許をJ-PlatPat(特許庁公式サイト)で参照する
関連特許
株式会社サトー
プリンタ
13日前
株式会社サトー
識別バンド
11日前
株式会社サトー
弾性体ローラ
3日前
株式会社サトー
弾性体ローラ
3日前
株式会社サトー
プリンタ、方法
16日前
株式会社サトー
情報処理システム、情報処理方法
3日前
株式会社サトー
プリンタ、プリンタの制御方法、プログラム
16日前
株式会社サトー
情報処理システム、情報処理方法、プログラム
23日前
株式会社サトー
情報処理システム、プログラム、情報処理方法
16日前
株式会社サトー
プリンタ、プログラム、プリンタの情報処理方法
16日前
株式会社サトー
プリンタ、プリンタの情報処理方法、プログラム
16日前
株式会社サトー
情報処理装置、情報処理方法、および、プログラム
2日前
株式会社サトー
情報処理装置、情報処理方法、および、プログラム
2日前
株式会社サトー
情報処理装置、情報処理システム、情報処理方法及びプログラム
9日前
株式会社サトー
プリンタ、プリンタの情報処理方法、プログラム、情報処理システム
16日前
株式会社サトー
情報処理装置、情報処理システム、情報処理方法、及び、プログラム
3日前
株式会社サトー
導電パターンを備えた基材、電子デバイス、電磁波シールドフィルムおよび面状発熱体
13日前
株式会社サトー
導電パターンを備えた基材、電子デバイス、電磁波シールドフィルムおよび面状発熱体
13日前
株式会社サトー
導電性膜、導電性基材、電子デバイス、RFタグ、電磁波シールドフィルムおよび面状発熱体
13日前
株式会社サトー
導電性基材の製造方法、電子デバイスの製造方法、電磁波シールドフィルムの製造方法、および面状発熱体の製造方法
13日前
株式会社サトー
導電性基材の製造方法、電子デバイスの製造方法、および電磁波シールドフィルムの製造方法、面状発熱体の製造方法
13日前
株式会社サトー
導電性基材の製造方法、電子デバイスの製造方法、および電磁波シールドフィルムの製造方法、面状発熱体の製造方法
13日前
株式会社サトー
導電性基材の製造方法、電子デバイスの製造方法、電磁波シールドフィルムの製造方法、および面状発熱体の製造方法
13日前
株式会社サトー
導電パターンを備えた基材の製造方法、電子デバイスの製造方法、電磁波シールドフィルムの製造方法、面状発熱体の製造方法および導電パターンを備えた基材
13日前
株式会社サトー
導電パターンを備えた基材の製造方法、電子デバイスの製造方法、電磁波シールドフィルムの製造方法、面状発熱体の製造方法および導電パターンを備えた基材
13日前
株式会社サトー
導電パターンを備えた基材の製造方法、電子デバイスの製造方法、電磁波シールドフィルムの製造方法、面状発熱体の製造方法および導電パターンを備えた基材の製造用の物品
13日前
株式会社サトー
導電パターンを備えた基材の製造方法、電子デバイスの製造方法、電磁波シールドフィルムの製造方法、面状発熱体の製造方法、導電パターンを備えた基材の製造のための中間構造体および導電パターンを備えた基材
13日前
個人
工程設計支援装置
1か月前
個人
地球保全システム
11日前
個人
QRコードの彩色
2日前
個人
冷凍食品輸出支援構造
1か月前
個人
為替ポイント伊達夢貯
1か月前
個人
残土処理システム
4日前
個人
表変換編集支援システム
1か月前
個人
携帯情報端末装置
1か月前
個人
結婚相手紹介支援システム
1か月前
続きを見る
他の特許を見る