TOP
|
特許
|
意匠
|
商標
特許ウォッチ
Twitter
他の特許を見る
10個以上の画像は省略されています。
公開番号
2025133283
公報種別
公開特許公報(A)
公開日
2025-09-11
出願番号
2024031139
出願日
2024-03-01
発明の名称
端面修正治具及び端面修正方法
出願人
株式会社ディスコ
代理人
弁理士法人東京アルパ特許事務所
主分類
B24B
7/16 20060101AFI20250904BHJP(研削;研磨)
要約
【課題】切削ブレードを受けるフランジの端面を短時間で効率よく修正すること。
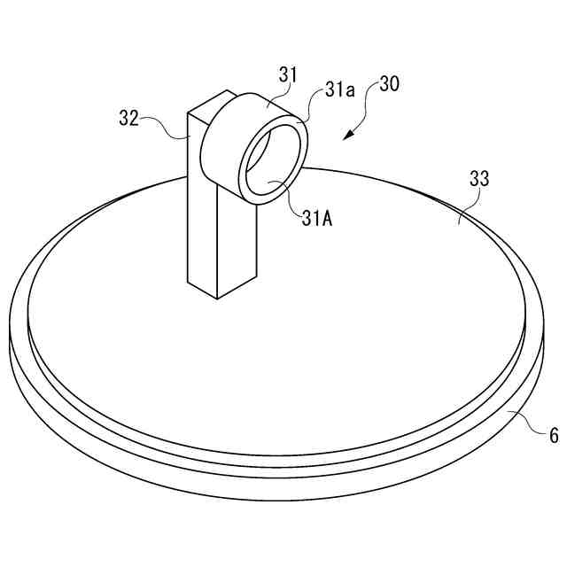
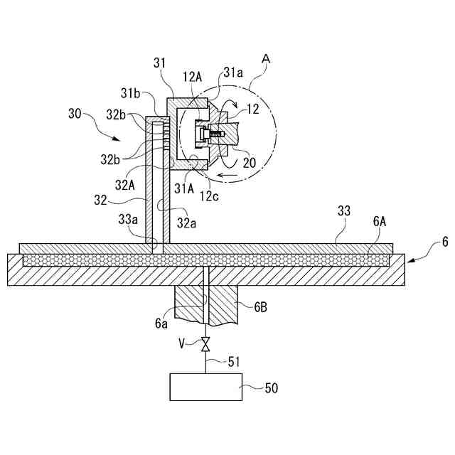
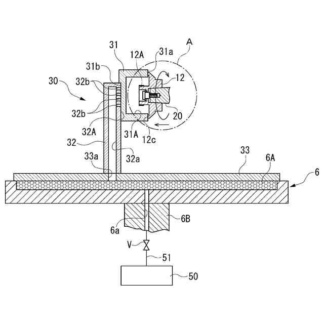
【解決手段】端面修正治具30は、フランジ12の円筒部12Aが挿入する凹部31Aと研削面31aを備える有底円筒状の端面修正砥石31と、該端面修正砥石31の研削面31aをフランジ12の端面12cに対面させて当該端面修正砥石31を保持する中空柱(保持部)32と、切削装置のチャックテーブル6の保持面全面を覆った状態で該保持面に吸引保持されるベース33と、該ベースに連結される柱32を備えている。また、端面修正方法は、チャックテーブル6に端面修正治具30を吸引保持させる保持工程と、スピンドル20をフランジ12と共に回転させながら、スピンドル20とチャックテーブル6を相対的に近接させ、フランジ12の端面12cに端面修正砥石31を接触させて該端面12cを研削する端面研削工程とを経てフランジ12の端面12cを修正する方法である。
【選択図】図6
特許請求の範囲
【請求項1】
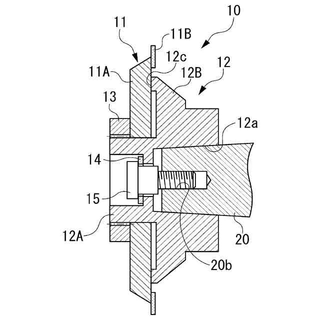
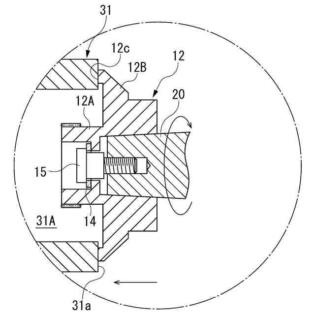
スピンドルが嵌入する嵌入孔と、切削ブレードが挿通する円筒部と、該円筒部に挿通した前記切削ブレードの一方の面を支持するリング状の端面を備えるフランジの前記端面を修正するための端面修正治具であって、
前記円筒部が挿入する凹部と、該凹部に前記円筒部を非接触で挿入した状態で前記端面に接触する研削面を備える有底円筒状または有底多角筒状の端面修正砥石と、
該端面修正砥石の前記研削面を前記フランジの端面に対面させて当該端面修正砥石を保持する保持部と、
該保持部に連結され、切削装置のチャックテーブルの保持面全面を覆った状態で該保持面に吸引保持されるベースと、
該ベースに連結される柱と、
を備えることを特徴とする端面修正治具。
続きを表示(約 510 文字)
【請求項2】
前記保持部は、
前記柱の側面に配置されて前記端面修正砥石の前記研削面とは反対側の面を吸引する吸引面に開口する吸引口と、
前記ベースの上下面と貫通する連通孔と、
該連通孔と前記吸引口とを接続する吸引路と、
を備えることを特徴とする請求項1記載の端面修正治具。
【請求項3】
前記保持部は、
前記柱の側面に配置されて前記端面修正砥石の前記研削面とは反対側の面を支持する支持面に、前記端面修正砥石をネジ固定する固定部を有することを特徴とする請求項1記載の端面修正治具。
【請求項4】
スピンドルに装着されたフランジの端面を請求項1記載の端面修正治具を用いて修正する端面修正方法であって、
切削装置のチャックテーブルに前記端面修正治具を吸引保持させる保持工程と、
前記スピンドルを前記フランジと共に回転させながら、前記スピンドルと前記チャックテーブルを相対的に近接させ、前記フランジの端面に前記端面修正砥石を接触させて該端面を研削する端面研削工程と、
を経て前記フランジの端面を修正することを特徴とする端面修正方法。
発明の詳細な説明
【技術分野】
【0001】
本発明は、ウェーハなどのワークを切削する切削ブレードをスピンドルの先端に固定するフランジの端面を修正する端面修正砥石を備える端面修正治具と、これを用いて実施される端面修正方法に関する。
続きを表示(約 1,900 文字)
【背景技術】
【0002】
例えば、半導体デバイスの製造工程においては、円板状の半導体ウェーハ(以下、単に「ウェーハ」と称する)の表面が格子状に配列されたストリートと称される分割予定ラインによって多数の矩形領域に区画され、各矩形領域にICやLSIなどのデバイスがそれぞれ形成される。そして、このように多数のデバイスが形成されたウェーハをダイサーと称される切削装置の切削ブレードで分割予定ラインに沿って切削することによって、複数の半導体チップが得られる。
【0003】
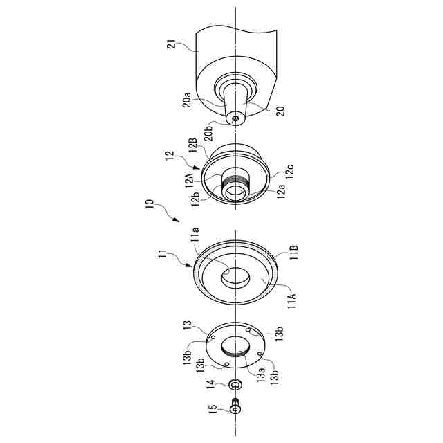
ところで、切削装置においては、例えば、切削ブレードが基台の外周部にリング状の切刃を取り付けて構成されるハブブレードである場合には、該ハブブレードは、スピンドルの先端に取り付けられたフランジの円筒部に基台を挿通させ、フランジの円筒部に螺合する固定ナットを締め付けることによってスピンドルの先端に取り付けられるが、このようなハブブレードが使用限界まで消耗すると新しいものと交換するようにしている(例えば、特許文献1参照)。ここで、ハブブレードの交換は、フランジをスピンドルに固定した状態で、固定ナットを緩めて該固定ナットとハブブレードをフランジから取り外した状態でなされる。
【0004】
上記のようなハブブレードの交換を繰り返すと、フランジの端面にハブブレードの基台の素材であるアルミニウムが付着して該端面に凹凸が形成される。また、切削ブレードが基台を有しないリング状の切刃によって構成されるワッシャブレードである場合には、フランジの端面のワッシャブレードが接触していた部分が凹んで凹凸になる。このようにフランジの端面に凹凸が発生すると、この凹凸のために、新たに取り付けた切削ブレードの外周部がスピンドルの軸方向に対して振れ、ワークに形成されるカーフ(切削溝)の幅が大きくなるという問題が発生する。
【0005】
そこで、特許文献2,3には、チップ砥石を装着した治具を切削装置のチャックテーブルに吸引保持させ、チャックテーブルとフランジとを切削送り方向に相対的に移動させるとともに、インデックス送り方向にも相対的に近接させてフランジの端面をチップ砥石によって研削することによって、該端面を修正する端面修正方法が提案されている。
【先行技術文献】
【特許文献】
【0006】
特開2009-226569号公報
特開2009-297855号公報
特開2017-221994号公報
【発明の概要】
【発明が解決しようとする課題】
【0007】
しかしながら、特許文献2,3において提案されたフランジの端面修正方法においては、チャックテーブルとフランジとを切削送り方向に相対的に移動させるとともに、インデックス送り方向にも相対的に近接させてフランジの端面を修正するようにしているため、時間が掛かるという問題がある。
【0008】
本発明は、上記問題に鑑みてなされたもので、その目的は、切削ブレードを受けるフランジの端面を短時間で効率よく修正することができる端面修正治具と端面修正方法を提供することにある。
【課題を解決するための手段】
【0009】
上記目的を達成する本発明に係る端面修正治具は、スピンドルが嵌入する嵌入孔と、切削ブレードが挿通する円筒部と、該円筒部に挿通した前記切削ブレードの一方の面を支持するリング状の端面を備えるフランジの前記端面を修正するためのものであって、前記円筒部が挿入する凹部と、該凹部に前記円筒部を非接触で挿入した状態で前記端面に接触する研削面を備える有底円筒状または有底多角筒状の端面修正砥石と、該端面修正砥石の前記研削面を前記フランジの端面に対面させて当該端面修正砥石を保持する保持部と、該保持部に連結され、切削装置のチャックテーブルの保持面全面を覆った状態で該保持面に吸引保持されるベースと、該ベースに連結される柱と、を備えることを特徴とする。
【0010】
また、本発明に係る端面修正方法は、スピンドルに装着されたフランジの端面を、前記端面修正治具を用いて修正する方法であって、切削装置のチャックテーブルに前記端面修正治具を吸引保持させる保持工程と、前記スピンドルを前記フランジと共に回転させながら、前記スピンドルと前記チャックテーブルを相対的に近接させ、前記フランジの端面に前記端面修正砥石を接触させて該端面を研削する端面研削工程と、を経て前記フランジの端面を修正することを特徴とする。
【発明の効果】
(【0011】以降は省略されています)
この特許をJ-PlatPat(特許庁公式サイト)で参照する
関連特許
株式会社ディスコ
ノズル
16日前
株式会社ディスコ
加工方法
17日前
株式会社ディスコ
切削装置
16日前
株式会社ディスコ
切削装置
9日前
株式会社ディスコ
診断方法
6日前
株式会社ディスコ
加工装置
16日前
株式会社ディスコ
フレーム
16日前
株式会社ディスコ
加工装置
25日前
株式会社ディスコ
研磨装置
3日前
株式会社ディスコ
加工装置
18日前
株式会社ディスコ
研削装置
2日前
株式会社ディスコ
搬送システム
2日前
株式会社ディスコ
シート貼着装置
17日前
株式会社ディスコ
加工水供給装置
9日前
株式会社ディスコ
ノズルユニット
6日前
株式会社ディスコ
切削ブレード治具
6日前
株式会社ディスコ
接合強度検査方法
26日前
株式会社ディスコ
ブレーキング装置
2日前
株式会社ディスコ
チャックテーブル
26日前
株式会社ディスコ
液体供給システム
16日前
株式会社ディスコ
被加工物の加工方法
16日前
株式会社ディスコ
被加工物の加工方法
24日前
株式会社ディスコ
洗浄液供給システム
26日前
株式会社ディスコ
ウェーハの製造方法
24日前
株式会社ディスコ
ウエーハの加工方法
27日前
株式会社ディスコ
切削方法及び切削装置
24日前
株式会社ディスコ
洗浄装置及び洗浄方法
3日前
株式会社ディスコ
積層ウェーハの加工方法
6日前
株式会社ディスコ
押圧試験装置の評価方法
16日前
株式会社ディスコ
搬送機構および搬送方法
3日前
株式会社ディスコ
廃液処理装置及び洗浄方法
18日前
株式会社ディスコ
異常予知方法及び加工装置
27日前
株式会社ディスコ
切削ブレードのドレス方法
24日前
株式会社ディスコ
貼り合わせ基板の加工方法
16日前
株式会社ディスコ
保持プレート及び洗浄装置
18日前
株式会社ディスコ
加工方法及びレーザ加工装置
16日前
続きを見る
他の特許を見る