TOP
|
特許
|
意匠
|
商標
特許ウォッチ
Twitter
他の特許を見る
公開番号
2025145804
公報種別
公開特許公報(A)
公開日
2025-10-03
出願番号
2024046234
出願日
2024-03-22
発明の名称
搬送システム
出願人
株式会社ディスコ
代理人
弁理士法人愛宕綜合特許事務所
主分類
B65G
1/04 20060101AFI20250926BHJP(運搬;包装;貯蔵;薄板状または線条材料の取扱い)
要約
【課題】見栄えを向上させ、カバー体の脱落を防止し、かつカバー体の着脱性を向上できる搬送システムを提供する。
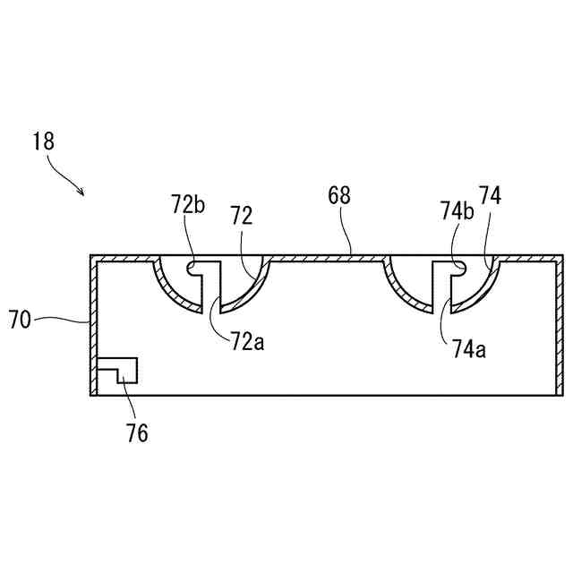
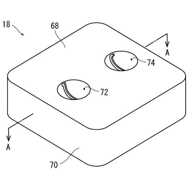
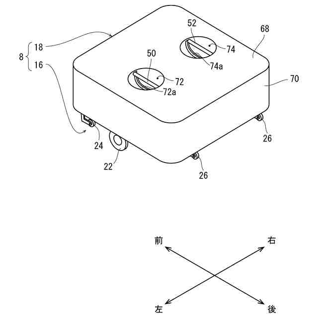
【解決手段】自動搬送装置8の本体16は、カセットの一方側に配設された2本の第一のベルトと他方側に配設された2本の第二のベルトと、カセットを昇降するベルト巻き取り手段とを備える。巻き取り手段は、第一のベルトを支持する第一のガイドローラ50と、第二のベルトを支持する第二のガイドローラ52とを含む。自動搬送装置8のカバー体18の天井壁68は、第一のガイドローラ50に嵌合する第一のスリット72aが形成された第一の凹部72と、第二のガイドローラ52に嵌合する第二のスリット74aが形成された第二の凹部74とを備える。カバー体18を本体16に固定する際は、第一のガイドローラ50に第一のスリット72aを位置づけるとともに第二のガイドローラ52に第二のスリット74aを位置づけて嵌合して固定する。
【選択図】図2
特許請求の範囲
【請求項1】
複数の加工装置を含む処理装置の天板に自動搬送装置が走行する走行パネルが配設され、該走行パネルには自動搬送装置の走行を誘導する走行誘導ラインが形成されている搬送システムにおいて、
該自動搬送装置は、本体と、カバー体とを備え、
該本体は、
該走行誘導ラインを挟むように配設された右タイヤ駆動部および左タイヤ駆動部と、
該右タイヤ駆動部および該左タイヤ駆動部の前方に配設された前輪と、
該右タイヤ駆動部および該左タイヤ駆動部の後方に配設された後輪と、
該右タイヤ駆動部と該左タイヤ駆動部と該前輪と該後輪とで囲まれた中央領域に形成された開口部と、
物品を収容するカセットの一方の側に間隔をもって配設された2本の第一のベルトと、
物品を収容するカセットの他方の側に間隔をもって配設された2本の第二のベルトと、
該開口部を通して該第一のベルトを該間隔をもって支持する第一のガイドローラと、該開口部を通して該第二のベルトを該間隔をもって支持する第二のガイドローラと、該第一のガイドローラと該第二のガイドローラの中央に配設され該第一のベルトと該第二のベルトを巻き取る巻き取りローラを備えた巻き取り駆動部と、を含みカセットを昇降するベルト巻き取り手段と、を備え、
該カバー体は、
天井壁および側壁と、
該天井壁の内側に突出し該第一のガイドローラの中央部に嵌合する第一のスリットが形成された第一の凹部と、
該天井壁の内側に突出し該第二のガイドローラの中央部に嵌合する第二のスリットが形成された第二の凹部と、を備え、
該カバー体を該本体に固定する際は、
該第一のガイドローラの中央部に該第一のスリットを位置づけるとともに該第二のガイドローラの中央部に該第二のスリットを位置づけて嵌合して固定する搬送システム。
続きを表示(約 250 文字)
【請求項2】
該第一のガイドローラの中央部は該第一の凹部から露出するとともに該第二のガイドローラの中央部は該第二の凹部から露出して持ち手となる請求項1記載の搬送システム。
【請求項3】
該本体にはリミットスイッチが配設され、該カバー体には該リミットスイッチをONにする押圧部が配設され、
該カバー体を該本体から取り外した際、該リミットスイッチがOFFになって該右タイヤ駆動部、該左タイヤ駆動部および該巻き取り駆動部の電源を遮断する請求項1記載の搬送システム。
発明の詳細な説明
【技術分野】
【0001】
本発明は、複数の加工装置を含む処理装置の天板に自動搬送装置が走行する走行パネルが配設され、走行パネルには自動搬送装置の走行を誘導する走行誘導ラインが形成されている搬送システムに関する。
続きを表示(約 1,900 文字)
【背景技術】
【0002】
IC、LSIなどの複数のデバイスが分割予定ラインによって区画され表面に形成されたウエーハは、研削装置によって裏面が研削され所望の厚みに形成された後、切削装置、レーザー加工装置によって個々のデバイスチップに分割され、分割された各デバイスチップは携帯電話、パソコンなどの電気機器に利用される。
【0003】
また、本出願人は研削装置、切削装置、レーザー加工装置等の加工装置と複数のウエーハを収容したウエーハ管理装置等を含む処理装置の天板を利用して走行路を配設し、装置間を自動搬送装置が走行してウエーハ保管装置から各加工装置にウエーハを搬送したり消耗品を搬送したりする搬送システムを開発した(たとえば特許文献1参照)。
【0004】
そして、走行路には自動搬送装置の走行を誘導する走行誘導ラインが形成され、自動搬送装置の本体は、走行誘導ラインを挟むように左右に配設された駆動輪と、駆動輪の前後に配設された方向自在キャスターと、走行誘導ラインを読み取るセンサーと、底部の中央にウエーハ等の物品を収容したカセットを各装置の物品搬出入テーブルに昇降する昇降手段と、を備える。また、自動搬送装置の本体はカバー体によって覆われている。
【先行技術文献】
【特許文献】
【0005】
特開2020-013892号公報
【発明の概要】
【発明が解決しようとする課題】
【0006】
しかし、本体とカバー体とは複数のボルトで締結されていて見栄えが悪いとともに、走行中にボルトが緩み本体からカバー体が外れるおそれがある。さらに、カバー体の着脱も容易ではなく煩に堪えないという問題がある。
【0007】
本発明の課題は、見栄えを向上させ、本体からカバー体が外れるのを防止し、かつカバー体の着脱性を向上できる搬送システムを提供することである。
【課題を解決するための手段】
【0008】
本発明によれば、上記課題を解決する以下の搬送システムが提供される。すなわち、
「複数の加工装置を含む処理装置の天板に自動搬送装置が走行する走行パネルが配設され、該走行パネルには自動搬送装置の走行を誘導する走行誘導ラインが形成されている搬送システムにおいて、
該自動搬送装置は、本体と、カバー体とを備え、
該本体は、
該走行誘導ラインを挟むように配設された右タイヤ駆動部および左タイヤ駆動部と、
該右タイヤ駆動部および該左タイヤ駆動部の前方に配設された前輪と、
該右タイヤ駆動部および該左タイヤ駆動部の後方に配設された後輪と、
該右タイヤ駆動部と該左タイヤ駆動部と該前輪と該後輪とで囲まれた中央領域に形成された開口部と、
物品を収容するカセットの一方の側に間隔をもって配設された2本の第一のベルトと、
物品を収容するカセットの他方の側に間隔をもって配設された2本の第二のベルトと、
該開口部を通して該第一のベルトを該間隔をもって支持する第一のガイドローラと、該開口部を通して該第二のベルトを該間隔をもって支持する第二のガイドローラと、該第一のガイドローラと該第二のガイドローラの中央に配設され該第一のベルトと該第二のベルトを巻き取る巻き取りローラを備えた巻き取り駆動部と、を含みカセットを昇降するベルト巻き取り手段と、を備え、
該カバー体は、
天井壁および側壁と、
該天井壁の内側に突出し該第一のガイドローラの中央部に嵌合する第一のスリットが形成された第一の凹部と、
該天井壁の内側に突出し該第二のガイドローラの中央部に嵌合する第二のスリットが形成された第二の凹部と、を備え、
該カバー体を該本体に固定する際は、
該第一のガイドローラの中央部に該第一のスリットを位置づけるとともに該第二のガイドローラの中央部に該第二のスリットを位置づけて嵌合して固定する搬送システム」が提供される。
【0009】
好ましくは、該第一のガイドローラの中央部は該第一の凹部から露出するとともに該第二のガイドローラの中央部は該第二の凹部から露出して持ち手となる。
【0010】
該本体にはリミットスイッチが配設され、該カバー体には該リミットスイッチをONにする押圧部が配設され、該カバー体を該本体から取り外した際、該リミットスイッチがOFFになって該右タイヤ駆動部、該左タイヤ駆動部および該巻き取り駆動部の電源を遮断するのが望ましい。
【発明の効果】
(【0011】以降は省略されています)
この特許をJ-PlatPat(特許庁公式サイト)で参照する
関連特許
株式会社ディスコ
ノズル
19日前
株式会社ディスコ
加工装置
19日前
株式会社ディスコ
フレーム
19日前
株式会社ディスコ
切削装置
12日前
株式会社ディスコ
切削装置
19日前
株式会社ディスコ
研磨装置
6日前
株式会社ディスコ
加工方法
20日前
株式会社ディスコ
研削装置
5日前
株式会社ディスコ
加工装置
21日前
株式会社ディスコ
加工方法
1日前
株式会社ディスコ
加工装置
28日前
株式会社ディスコ
診断方法
9日前
株式会社ディスコ
搬送システム
5日前
株式会社ディスコ
加工水供給装置
12日前
株式会社ディスコ
シート貼着装置
20日前
株式会社ディスコ
ノズルユニット
9日前
株式会社ディスコ
液体供給システム
19日前
株式会社ディスコ
チャックテーブル
29日前
株式会社ディスコ
ブレーキング装置
5日前
株式会社ディスコ
切削ブレード治具
9日前
株式会社ディスコ
ウェーハの製造方法
27日前
株式会社ディスコ
洗浄液供給システム
29日前
株式会社ディスコ
被加工物の加工方法
19日前
株式会社ディスコ
被加工物の加工方法
27日前
株式会社ディスコ
切削方法及び切削装置
27日前
株式会社ディスコ
洗浄装置及び洗浄方法
6日前
株式会社ディスコ
搬送機構および搬送方法
6日前
株式会社ディスコ
積層ウェーハの加工方法
9日前
株式会社ディスコ
押圧試験装置の評価方法
19日前
株式会社ディスコ
廃液処理装置及び洗浄方法
21日前
株式会社ディスコ
切削ブレードのドレス方法
27日前
株式会社ディスコ
保持プレート及び洗浄装置
21日前
株式会社ディスコ
貼り合わせ基板の加工方法
19日前
株式会社ディスコ
窒化ガリウム基板の製造方法
1日前
株式会社ディスコ
加工方法及びレーザ加工装置
19日前
株式会社ディスコ
試験装置、試験片の試験方法
9日前
続きを見る
他の特許を見る