TOP
|
特許
|
意匠
|
商標
特許ウォッチ
Twitter
他の特許を見る
10個以上の画像は省略されています。
公開番号
2025134410
公報種別
公開特許公報(A)
公開日
2025-09-17
出願番号
2024032294
出願日
2024-03-04
発明の名称
保持プレート及び洗浄装置
出願人
株式会社ディスコ
代理人
弁理士法人東京アルパ特許事務所
主分類
H01L
21/683 20060101AFI20250909BHJP(基本的電気素子)
要約
【課題】特殊なテーブルの交換を要することなく、且つ、生産性の低下を招くことなく、ワークを非接触で保持して洗浄することができる保持プレートと該保持プレートを簡単に設置することができる洗浄装置を提供すること。
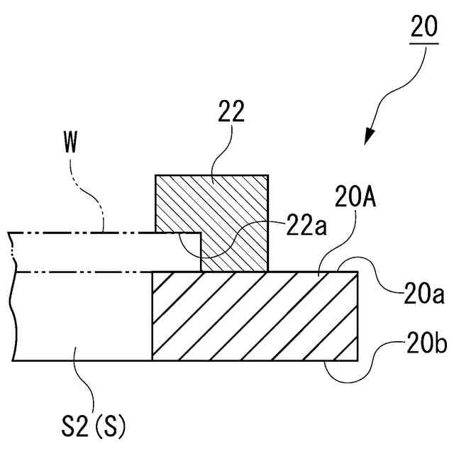
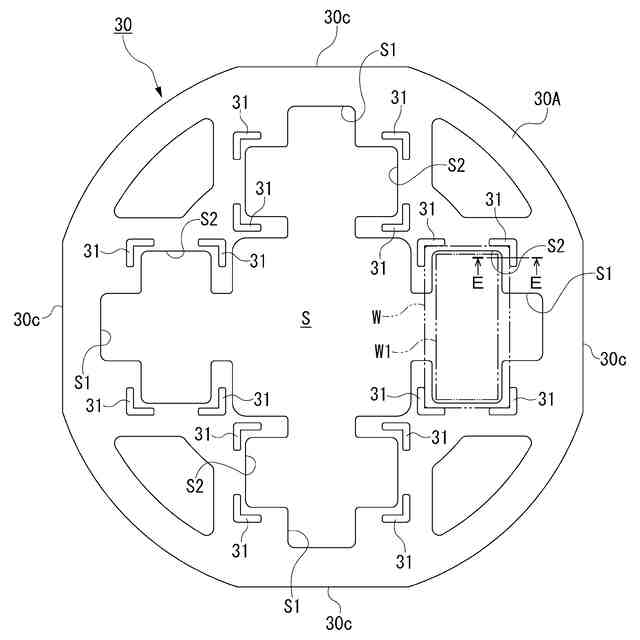
【解決手段】テーブル4と該テーブル4に保持されたワークWとの間に介在してワークWをテーブル4に非接触で支持させる保持テーブル20は、テーブル4に保持される被保持面と、該被保持面の反対側でワークWの中央部をテーブル4に対して非接触に保った状態で該ワークの外端縁部の少なくとも一部を支持する支持面と、該支持面に支持された前記ワークWの外端部の少なくとも一部を保持する把持部材21とを備える。また、洗浄装置は、保持プレート20をテーブル4に対して着脱可能に固定するための固定手段(吸引口4aとクランプ6)を備える。
【選択図】図5
特許請求の範囲
【請求項1】
テーブルと該テーブルに保持されたワークとの間に介在して前記ワークを前記テーブルに非接触で支持させる保持プレートであって、
前記テーブルに保持される被保持面と、
該被保持面の反対側で前記ワークの中央部を前記テーブルに対して非接触に保った状態で該ワークの外端部の少なくとも一部を支持する支持面と、
該支持面に支持された前記ワークの外端部の少なくとも一部を保持する保持部と、
を備えることを特徴とする保持プレート。
続きを表示(約 430 文字)
【請求項2】
前記保持部は、前記ワークの上面を押圧して該ワークを前記支持面とで把持する把持部で構成されることを特徴とする請求項1記載の保持プレート。
【請求項3】
前記保持部は、前記ワークの角部の少なくとも2つを支持する複数の支持部材で構成されることを特徴とする請求項1記載の保持プレート。
【請求項4】
前記保持部は、少なくとも2つが前記テーブルの中心を中心に点対称に対向配置されていることを特徴とする請求項1記載の保持プレート。
【請求項5】
請求項1~4の何れかに記載の保持プレートが設置可能で、該保持プレートを介して保持面によってワークの中央部を非接触で保持して回転するテーブルと、該テーブルの前記保持面上に保持された前記ワークに向けて洗浄流体を噴射する噴射ノズルを備える洗浄装置であって、
前記保持プレートを前記テーブルに対して着脱可能に固定するための固定手段を備えることを特徴とする洗浄装置。
発明の詳細な説明
【技術分野】
【0001】
本発明は、テーブルと該テーブルに保持されたワークとの間に介在してワークをテーブルに非接触で支持させるための保持プレートと該保持プレートを設置可能な洗浄装置に関する。
続きを表示(約 1,600 文字)
【背景技術】
【0002】
例えば、電子機器に用いられるICやLSIなどの半導体デバイスの製造工程においては、半導体デバイスの小型化と軽量化のために、ウェーハの裏面が研削装置によって研削されて該ウェーハが所定の厚みまで薄化されている。そして、裏面が研削されたウェーハが切削装置によってストリートと称される格子状の分割予定ラインに沿って切削されて複数の半導体チップが得られる。
【0003】
ここで、研削装置によって研削されたウェーハや切削装置によって切削されたウェーハには、研削屑や切削屑などの加工屑が付着して該ウェーハを汚染するため、加工後のウェーハは、洗浄装置によって洗浄されて除去される。すなわち、洗浄装置においては、ウェーハがテーブルに保持されて高速で回転しながら、その上面に洗浄水を噴射することによって、洗浄水は、高速回転するウェーハによる遠心力によってウェーハの上面全体に行き渡り、ウェーハの上面に付着した加工屑が洗浄水と共にウェーハの外周から径方向外方へと吹き飛ばされて除去される(例えば、特許文献1,2参照)。
【0004】
ところで、デバイスが形成された表面とは反対側の裏面にバンプが突出するウェーハを、裏面を下にして洗浄装置のテーブルに保持させる場合、該ウェーハのバンプが形成されている領域をテーブルに対して非接触で保持する必要があるが、このような場合、ウェーハの裏面を非接触で保持することができる特殊なテーブルに交換する必要があった。
【先行技術文献】
【特許文献】
【0005】
特開2006-128359号公報
特開2016-207800号公報
【発明の概要】
【発明が解決しようとする課題】
【0006】
しかしながら、従来のように、ウェーハを非接触で保持することができる特殊なテーブルの交換には、多大な時間と手間を要し、生産性の低下を招く原因になるという問題があった。
【0007】
本発明は、上記問題に鑑みてなされたもので、その目的は、特殊なテーブルの交換を要することなく、且つ、生産性の低下を招くことなく、ワークを非接触で保持して洗浄することができる保持プレートと該保持プレートを簡単に設置することができる洗浄装置を提供することにある。
【課題を解決するための手段】
【0008】
本発明は、テーブルと該テーブルに保持されたワークとの間に介在して前記ワークを前記テーブルに非接触で支持させる保持プレートであって、前記テーブルに保持される被保持面と、該被保持面の反対側で前記ワークの中央部を前記テーブルに対して非接触に保った状態で該ワークの外端部の少なくとも一部を支持する支持面と、該支持面に支持された前記ワークの外端部の少なくとも一部を保持する保持部と、を備えることを特徴とする。
【0009】
また、本発明は、前記保持プレートが設置可能であって、該保持プレートを介して保持面によってワークの中央部を非接触で保持して回転するテーブルと、該テーブルの前記保持面上に保持された前記ワークに向けて洗浄流体を噴射する噴射ノズルを備える洗浄装置であって、前記保持プレートを前記テーブルに対して着脱可能に固定するための固定手段を備えることを特徴とする。
【発明の効果】
【0010】
本発明に係る保持プレートによれば、下面の全面を洗浄装置のテーブルの上面に密着させた状態で洗浄することができないワークの洗浄は、保持プレートをテーブルに設置することによって行うことができるが、この場合、従来のようにテーブルを特殊な別のテーブルと交換する必要がないため、別のテーブルの交換に要する時間と手間を省略することができ、ワークの洗浄を短時間で効率よく行うことができ、これによって生産性を高めることができる。
(【0011】以降は省略されています)
この特許をJ-PlatPat(特許庁公式サイト)で参照する
関連特許
株式会社ディスコ
ノズル
12日前
株式会社ディスコ
診断方法
2日前
株式会社ディスコ
加工装置
21日前
株式会社ディスコ
加工装置
14日前
株式会社ディスコ
加工方法
13日前
株式会社ディスコ
切削装置
5日前
株式会社ディスコ
フレーム
12日前
株式会社ディスコ
切削装置
12日前
株式会社ディスコ
研削装置
28日前
株式会社ディスコ
加工装置
12日前
株式会社ディスコ
シート貼着装置
13日前
株式会社ディスコ
ノズルユニット
2日前
株式会社ディスコ
加工水供給装置
5日前
株式会社ディスコ
液体供給システム
12日前
株式会社ディスコ
接合強度検査方法
22日前
株式会社ディスコ
チャックテーブル
22日前
株式会社ディスコ
ドレッシング方法
26日前
株式会社ディスコ
切削ブレード治具
2日前
株式会社ディスコ
洗浄液供給システム
22日前
株式会社ディスコ
ウエーハの加工方法
23日前
株式会社ディスコ
被加工物の加工方法
12日前
株式会社ディスコ
ウェーハの製造方法
20日前
株式会社ディスコ
被加工物の加工方法
20日前
株式会社ディスコ
切削方法及び切削装置
20日前
株式会社ディスコ
測定方法及び測定治具
28日前
株式会社ディスコ
洗浄装置及び洗浄方法
26日前
株式会社ディスコ
押圧試験装置の評価方法
12日前
株式会社ディスコ
積層ウェーハの加工方法
2日前
株式会社ディスコ
保持プレート及び洗浄装置
14日前
株式会社ディスコ
貼り合わせ基板の加工方法
12日前
株式会社ディスコ
廃液処理装置及び洗浄方法
14日前
株式会社ディスコ
切削ブレードのドレス方法
20日前
株式会社ディスコ
異常予知方法及び加工装置
23日前
株式会社ディスコ
試験装置、試験片の試験方法
2日前
株式会社ディスコ
加工方法及びレーザ加工装置
12日前
株式会社ディスコ
端面修正治具及び端面修正方法
20日前
続きを見る
他の特許を見る